新浪财经 美股

东南亚物流巨头极兔香港上市 市值超千亿!腾讯、红杉、高瓴、博裕等股权价值曝光

市场资讯 2023.10.27 12:43

来源:金十数据

《科创板日报》10月27日讯(记者 陈美) 10月27日,极兔速递环球有限公司(以下简称“极兔”)上市港交所截至发稿股价在12港元的发行价位置,总市值突破1000亿港元。

极兔是一家全球物流服务提供商,2015年成立于印尼,其快递业务在东南亚处于领先地位。

极兔上市背后,有着一众知名投资机构的支持。为推动上市,极兔订立了基石投资协议,Aspex Management、博裕资本、D1 Capital、GLP、红杉、顺丰、淡马锡、腾讯、高瓴,9大投资方均参与其中,认购总金额为1.995亿美元。但具体每股价格并未披露,记者就此询问相关机构,有机构回应称:“涉及交易和价格,不便评论。”

不过,*另有一位机构人士表示,*签订基石投资协议,应该是看好极兔未来发展,因此愿意投资。**数据显示,基石投资者已合共认购1.3亿股发售股份,相当于全球发售下发售股份数目的约39.88%。

机构退出时股权价值浮出水面,博裕资本合计超过10亿港元

财联社创投通-执中数据显示,IPO前,极兔共获得5轮融资,红杉、博裕、高瓴均参与了极兔的首轮融资,当时融资总金额达18亿美元。此后4轮融资,博裕和红杉继续参与其中。此外,顺丰、腾讯、淡马锡等陆续下注入局。

截至IPO,腾讯为极兔第二大股东,持股6.32%;博裕为第三大股东,持股6.1%;ATM为第四大股东,持股5.49%。高瓴资本持股2%、红杉持股1.62%,分别名列第六、第八大股东。

具体价格方面,在招股书中记者看到,极兔披露A轮优先股投资者价格为4.3962美元,B轮优先股投资者价格为4.4519美元,B+轮优先股投资者价格为7.1225美元,C1轮优先股投资者平均价格为7.8097美元,D轮优先股投资者价格为7.65美元。但据极兔披露,有5552.83万股C2优先股以协商的15.67美元价格进行购回。

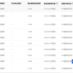
第三方数据显示,极兔IPO时,以腾讯、高瓴、红杉、博裕为代表的机构,退出时股权价值已浮出水面。

其中,腾讯旗下的Deep Red Holdings Limited、Rhododendron Investment Limited退出时股权价值为3.13亿港元,另一机构TB RACING RABBITS INVESTMENT HOLDINGS L.P.为2.35亿港元。高瓴方面,旗下JNRY III Holdings Limited退出时股权价值为4.07亿港元,红杉中国-SC GGF III Holdco则是2745.01万港元。而博裕资本的Jaunty Global Limited、Joyous Tempinis Limited则为8.19亿港元和2.094亿港元,合计超10亿港元。

行业高度竞争,极兔发行市盈率为8.2倍

一位机构人士对记者表示,快递业商业模式比较成熟,评估这个行业的收入和利润情况,需要参看企业规模和成本控制能力。基本面上,记者注意到,极兔于2015年成立于印度尼西亚。与顺丰和四通一达比,2022年极兔处理了146亿件,顺丰为111.4亿件,中通为244亿件,申通129.47亿件,圆通和韵达均为约175亿件。

弗若斯特沙利文资料显示,按2022年包裹量计,极兔市场份额为22.5%,在中国快递市场排名第六,市场份额达10.9%。

但从业绩上看,极兔依然还在亏损。2020-2023年上半年,极兔的经调整净利润分别为亏损4.76亿美元、11.78亿美元、14.88亿美元、2.64亿美元。“从包裹体量上看,极兔与申通相近,申通在2022年扭亏为盈,目前市值是150亿元左右。上市后,极兔市值还有没有空间,需要看极兔的成本控制能力和业务拓展能力,目前出海中东是极兔发展的第一个点。”上述行业人士谈到。

此外,从发行市盈率上看,该机构人士表示,目前极兔不高,只有8.20倍。“相比港股中通快递近20倍的市盈率,未来或有市值增长空间,这或许也是明星机构愿意继续加码极兔的原因之一。”

加载中...