新浪财经 美股

Facebook如何通过元宇宙赚钱?这些专利申请材料泄了密

市场资讯 2022.01.18 20:00

来源:华尔街见闻  作者: 卜淑情

新瓶子装了一些新酒,还有陈酿。

Meta(原Facebook)首席执行官扎克伯格承诺,在未来十年内,每年将向元宇宙投入100亿美元。

面对如此巨大的投入,Meta将如何从元宇宙中赚钱?

为了找到答案,英国《金融时报》最近查阅了Meta向美国专利和商标局提出的申请,这些申请指向了两个词:虚拟现实和超定向广告。

将沉浸式世界变成“现实”

Meta多项专利技术指出,利用用户的生物特征数据,增强视觉效果,并确保他们的数字形象具有逼真的动画效果。

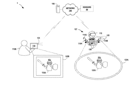
其中一些专利涉及眼睛和面部跟踪技术,即通过微型摄像机或传感器,将面部以及瞳孔的变化信号收集在头戴式耳机上,用于增强用户的虚拟现实体验。

比如,Meta于今年1月4日获得了一项通过头戴式耳机追踪用户面部表情的系统专利,该耳机可以根据用户的反应调整虚拟内容。

另外一项专利申请显示,将一台“可穿戴磁传感器系统”放在身体周围,可用于追踪“身体姿势”的变化。设计平台Sketch的草图显示,一位用户戴着该设备,但在虚拟现实中以士兵的身份出现,并佩戴着剑和盔甲。

还有一项专利提到一种“头像个性化引擎”,可以根据用户的照片,使用包括“皮肤复制器”在内的工具创建三维头像。

英国《金融时报》援引一位名叫Noelle Martin的法律改革者称:“Meta的目标是能够模拟你的每一个毛孔,每一缕头发,每一个微动作。”他花了一年多的时间与西澳大利亚大学研究Meta的“人类监控计划”。

“(他们的)目标是创建人物、地点和事物的3D复制品,它们具有超现实和超触感性,与真实的事物无法区分。事实上,他们正在开展一项全球人类克隆计划。” 

数据——超定向广告

与此同时,这些专利也暗示了Meta将在元宇宙通过超定向广告和内容赞助赚钱。

比如,建立“虚拟商店”,用户可以在这里购买数字商品,或者购买与品牌赞助的现实商品相对应的商品。

Meta全球事务主管Nick Clegg最近在接受英国《金融时报》采访时表示:

“对我们来说,元宇宙的业务模式是以商业为主导。”“很明显,广告在其中起了作用。” 

根据Meta早在2020年申请的一项专利,可根据用户的年龄、性别、兴趣和在社交媒体的互动方式,向用户展示个性化广告。

研究表明,眼睛注视方向和瞳孔活动可能隐含着有关用户兴趣和情绪状态的信息,例如,如果用户的眼睛停留在图像上,这可能表明他们喜欢图像。这个时候,追踪用户瞳孔和面部表情的专利就派上了用场。

还有一项专利,允许第三方通过类似于该公司现有的广告拍卖的投标流程,在虚拟商店中“赞助事物的外观”。

还是那个熟悉的配方和味道。

很明显,Meta将通过这些专利在其元宇宙中提供比现有网络产品更具有针对性的广告。

美国律师事务所Foley Hoag的技术律师Brittan Heller对此提出了质疑:“我的噩梦是,基于我们的非自愿生物反应的定向广告将开始出现在元宇宙中......大多数人没有意识到这有多重要。目前没有法律限制。” 

Meta表示:“虽然我们不评论我们专利的具体覆盖范围或申请专利的理由,但需要注意的是,我们的专利不一定涵盖我们产品和服务中使用的技术。”

据英国《金融时报》报道,还有批评者怀疑,在Meta前产品经理Frances Haugen去年揭发Facebook之后,宣布进军元宇宙的行为分散了近期审查的注意力。

“他们将如何处理更多数据以及如何确保数据安全?” 游戏制作公司Epic Games前用户体验总监、现担任独立顾问的Celia Hodent 也提出了质疑。

加载中...