新浪财经 美股

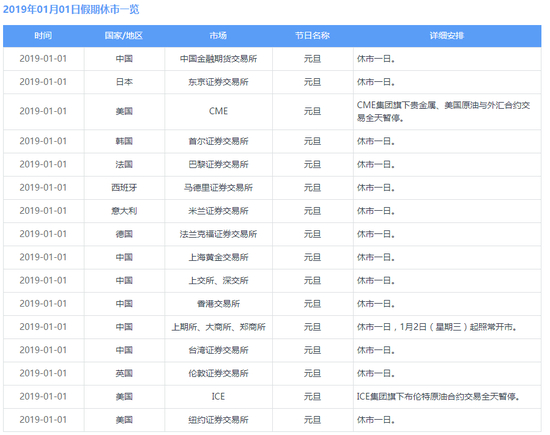
美国及全球主要交易所元旦(1月1日)休市

新浪财经

关注

根据港交所休假安排、沪深交易所以及美股交易所休假安排,节日当天(1月1日),港股、A股、美股均休市。以下为A股、港股、美股休市安排:

A股:元旦节放假三天,12月31日(元旦节前日)休市,1月1日(元旦节)休市。1月2日恢复正常。

港股:2018年12月31日(周一),港股半日市,即12:00收市;2019年1月1日(周二)港股全天休市,之后恢复正常。

沪、深股通:2018年12月31日至2019年1月1日关闭;港股通2018年12月31日至2019年1月1日关闭。1月2日,全部恢复开通。

美股:2019年1月1日,休市一天。

1月2日(周三)全球股市恢复正常交易。

加载中...