新浪科技

多点DMALL冲刺港股:上半年营收9.4亿,亏4.8亿,已拿到IPO备案

创事记

关注

雷递网 雷建平 11月3日

多点数智有限公司(简称:“多点DMALL”)日前再度更新招股书,准备在港交所上市。

这距离多点DMALL首次递交招股书,已经有近2年时间。几个月前,多点DMALL已通过中国证监会IPO备案,相当于拿到了上市的钥匙。

上半年营收9.4亿 年内亏损4.82亿

多点DMALL成立于2015年,为本地零售业提供基于云的一站式端到端的数字零售SaaS平台。

多点DMALL提供的服务包括零售核心服务云、电子商务服务云以及营销及广告服务云,可以增强零售商及品牌商的运营、营销及销售能力,使其能够更好地服务终端消费者。

其中,零售核心服务云解决方案以DmallOS系统软件及智能物联(AIoT)解决方案为基础,是一个可以提供贯穿零售运营全流程数据洞察,并提供可实操的改进措施的综合性平台。多点DMALL已经实现了三种云之间的协同效应,可以为零售商提供便捷的一站式解决方案。

多点DMALL已与物美、麦德龙、重庆百货、银川新华及DFIRetail Group合作,并已实现快速扩张,和包括连锁超市、仓储式超市、百货商店、便利店、专业零售商及新零售业态的不同零售业态的客户合作。

招股书显示,多点DMALL在2021年、2022年、2023年营收分别为10.45亿、15亿、17.5亿;毛利分别为3.58亿、6.69亿、7.12亿;毛利率分别为34.3%、44.6%、40.7%;年内亏损分别为18.25亿、8.4亿、6.55亿。

多点DMALL在2024年上半年营收为9.39亿元,较上年同期的7.64亿元增长22.9%;毛利为3.59亿元,上年同期的毛利为2.77亿元;毛利率为38.3%,上年同期的毛利率为36.3%。

多点DMALL在2024年上半年持续经营业务的年内亏损为4.82亿元,上年同期的持续经营业务的除税前亏损为5.9亿元;期内亏损为2.49亿元,上年同期的期内亏损为5.48亿元。

多点DMALL在2021年、2022年、2023年经调整亏损分别为9.59亿元、2.96亿元、1.4亿元。多点DMALL在2024年上半年经调整亏损为5639万元,上年同期的调整亏损为1.44亿元。

截至2024年6月30日,多点DMALL持有现金及现金等价物为4.7亿元。

C+轮投后估值达30.5亿美元

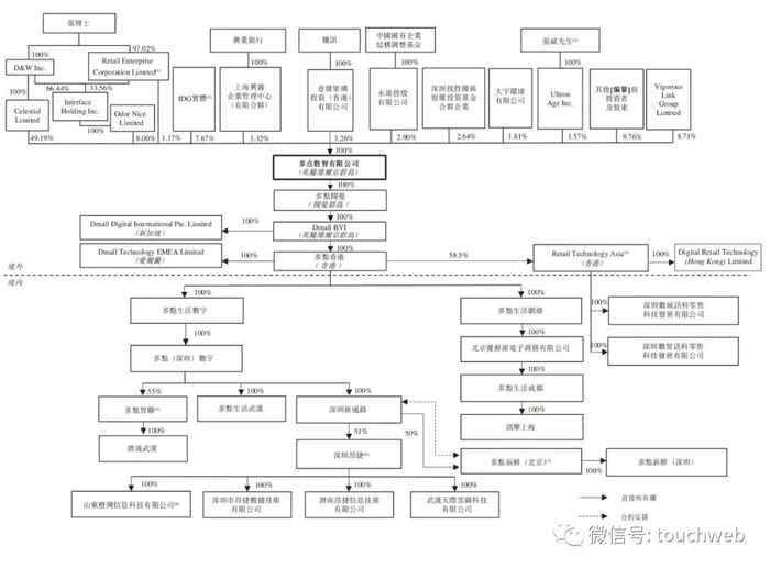
多点DMALL执行董事为张峰,非执行董事分别为CurtisAlan FERGUSON(冯广晟)、孙宇含女士、陈志宇、王正浩;独立非执行董事为侯陽博士、蔡琳女士、毛基业、李维。

多点DMALL股东包括兴业银行、中国国有企业结构调整基金、恒安珍宝投资有限公司、深圳投控湾区股权投资基金合伙企业、金蝶、联想、深圳市福田引导基金投资有限公司、民生商银国际控股有限公司、信银(香港)投资有限公司、腾讯、IDG资本等众多机构。

多点DMALL成立以来获得过多次融资,其中,2017年5月获得1.06亿美元融资,每股成本为1美元,投后估值为6.06亿美元;

多点DMALL在2018年到2019年先后完成B系列轮融资,其中,2018年9月募资8000万美元B轮融资,2019年4月再次募资5050万美元B+轮融资,每股成本均为1.98美元,第二次后投后估值为13.3亿美元;

多点DMALL在2019年再次完成B++轮4600万美元融资,每股成本2.5美元,投后估值17.26亿美元。

多点DMALL在2020年8月3.7亿美元C轮融资,每股成本为2.8美元,投后估值为23亿美元;2021年10月再次完成5180万美元C+轮融资,每股成本为3.88美元,投后估值达30.52亿美元。

腾讯与IDG、金蝶是股东

IPO前,CelestialLimited(由创始人张文中博士控制)持有多点DMALL已发行股份的49.19%;Odor Nice Limited(由创始人张博士控制)持有公司已发行股份的8%;Retail Enterprise Corporation Limited(由创始人张博士控制)持有公司已发行股份的1.17%;

张文中为物美创始人,多点DMALL创始人。张文中1994年创办物美超市。2006年,是物美发展的最好时期。在这一年,张文中被带走调查,这一走就是7年。2018年5月31日,法院宣判张文中无罪,物美集团无罪,原审判决已执行的罚金及追缴的财产依法予以返还,其12年的冤案彻底平反。

VigorousLink Group Limited持有多点DMALL已发行股份的8.71%。Vigorous Link GroupLimited为由信托全资拥有的公司,该信托为集团若干董事、高管及僱员的利益持有股份;根据相关信托安排,行使其持有的所有股份所附投票权由董事会最终指示及控制。

此外,IDG持股为7.67%,兴业银行持股为3.32%,腾讯持股为3.26%,中国国有企业结构调整基金通过永禄控股有限公司持股为2.9%,深圳投控湾区股权投资基金合伙企业持股为2.64%,大宇环球有限公司持股为1.81%,张斌持股为1.57%,张斌为张文中的兄弟。

恒安珍宝投资有限公司持股1%,上海兴雾企业管理中心(有限合伙)持股3.32%,CCCAxiomLimited持股0.59%,金蝶软件持股0.95%,Yun hui Limited持股1%,锅圈企业咨询(上海)有限公司持股0.83%。

———————————————

加载中...