新浪科技

刘庆峰的极限操作

创事记

关注

文 | 小卢鱼

编辑 | 杨旭然

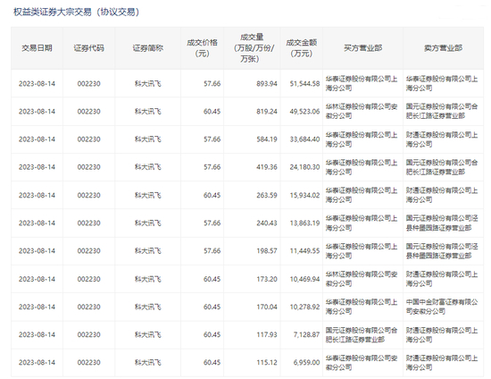
8月中旬时,科大讯飞发布过一则公告,表示董事长刘庆峰通过大宗交易卖出公司3995.61万股股票,其对公司的持股比例从7.27%降到5.54%,但刘庆峰表示“仍坚定地看好人工智能和公司发展前景。”

刘庆峰的减持理由是,因为要偿还在2021年时为认购公司非公开发行股份而形成的债务,而且为了避免本次减持对二级市场的冲击,刘庆峰选择采用大宗交易的方式,并付出了对应的折扣代价。

在减持时点的选择上,刘庆峰也做了解释,称“之所以在科大讯飞2023年半年报发布之后、召开讯飞星火大模型V2.0发布会之前减持,就是为了避免投资者将公司围绕星火大模型开展的各项推广活动误解为资本炒作的套路。”

刘庆峰的一番解释看似合理又体贴,却没有起到安抚投资者的作用。8月16日,即科大讯飞召开大模型V2.0发布会的第二天,其股价单日重挫8.63%,成交量也高达61.35亿元,明显放量下跌。

在这个AI行情摇摇欲坠、股市情绪敏感脆弱的时点上,刘庆峰的减持选择,给投资者带来了不小的冲击,也被认为是AI行情见顶的重要标志之一。

AI行情可能会见顶,但刘庆峰2021年借贷抄底之后,一度因为股价的下跌而被强行平仓,在多方的支持助力下才幸免于难,再到2023年赶上行业大行情的东风,再到选择在顶端抛售并不惜支付折价的全过程,堪称极限操作。

AI“人设”

刘庆峰致力于打造AI“人设”。

作为科大讯飞的创始人,刘庆峰既是科学家也是企业家,这让他每次在公开场合力挺人工智能发展的时候,都多了些耐人寻味。

2021年,刘庆峰在中国国际数字经济博览会开幕式作了以“AI+工业:数字经济新动能”为题的主旨报告,表示“利用新一代信息技术和制造业深度融合,能够将资源、信息、物体和人紧密联系,用互联网激活传统工业,保持长期的竞争力。”

科大讯飞此前定制的业务规划布局

这一年,科大讯飞的人工智能业务在教育、医疗、消费者、智慧城市、运营商、汽车智能服务等领域播种生根,市值也成功突破千亿大关,成为了当时A股里少有的人工智能龙头股。

谈到科大讯飞的发展计划,刘庆峰更是直言要成为“全球人工智能产业领导者,用人工智能建设美好世界的伟大企业”。可以看出,作为科学家的刘庆峰确实坚信人工智能足以改变世界。

但作为企业家,摆在刘庆峰眼前的是科大讯飞实控权的问题。

当时教育部、国资委要求将中国高校在企业的股权要收归国有,这意味着持有科大讯飞股权比例3.75%的中科大控股很可能要将这笔股权划拨给其他国资公司。而中科大控股原本是刘庆峰最重要的一致行动人。

由于创业初期没有妥善考虑股权结构的问题,刘庆峰在2021年初通过直接与间接持有公司股权的比例合计仅为 6.71%,低于单一最大股东中国移动的持股比例11.60%。

只有加上创业团队其他成员和中科大控股的助力,才能让刘庆峰这个“实际控制人”拥有表决权的股权比例合计达到16.17%,从而稳定住科大讯飞的控制权。

认为“实际控制权,对我们实现我们人工智能建设美好世界的梦想至关重要”的刘庆峰,最终选择将所有身家(股权)质押掉,借得资金23.5亿元,通过定增购入科大讯飞股票,以期继续控制住公司。

科大讯飞股价表现(2018年10月至今)

这笔定增的价格是33.58元/股,而借款银行设置的预警线是39元,平仓线是35元。考虑到科大讯飞增发时股价正处于历史高位,刘庆峰通过借款购入公司股票还是承担了不小的风险的。

事实上,在刘庆峰购入股票后不久,科大讯飞的股价便下跌到了平仓线附近,其创业多年来攒下的身家几乎就要付之一炬。好在地方政府和其他金融机构给予了刘庆峰很大的帮助,才让他撑过这一劫。

稳固了对公司的控制权后,刘庆峰也确实在加速对人工智能产业生态的布局。

除了占据2020年80%营收的教育、智慧城市、开放平台及消费者业务,科大讯飞同时野心勃勃地谋划着控股子公司安徽科大讯飞医疗信息技术有限公司分拆上市,并与合作伙伴推出了第一代聆思芯片。

就像刘庆峰一直对公众宣传的那样,人工智能正在一点点改变这个世界,只不过,对科大讯飞股价的改变速度似乎更快一些。

业绩“谜题”

目前科大讯飞等AI公司的业绩并不足以支撑股价。

ChatGPT的横空出世,一举点燃了海内外投资者对人工智能板块的热情,无论是美股的英伟达,还是A股的科大讯飞,作为“龙头股”的公司股价都在暴增。

比起其他“硬蹭”热点的公司,投资者眼中的科大讯飞似乎更有谈论人工智能的底气。而且去年12月,科大讯飞已经正式启动讯飞星火认知大模型1+N的专项攻关计划,“1”对标ChatGPT通用认知大模型,“N”赋能各行业赛道应用。

刘庆峰热衷于公开演讲宣传AI产业

随着讯飞星火大模型V2.0的发布,券商分析师们纷纷表达了对科大讯飞发展前景的看好,认为其AI布局国内领先、产品端开始取得商业化成果、2023Q2的经营绩效也在全面改善。

不过结合科大讯飞上半年的业绩来看,这种乐观似乎有些为时过早。

根据科大讯飞财报,公司在2023年上半年实现营业收入78.42亿元,同比下降2.26%;实现归母净利润7357万元,同比下降73.54%;实现扣非净利润亏损3.04亿元,同比下降208.99%。

按照科大讯飞的解释,这份成绩单应该拆分来看。今年第一季度业绩下滑较为严重,主要是因为受美国实体清单、中国经济复苏等情况的影响,但是到了第二季度,公司已经实现归母净利润、扣非净利润、现金流均转为正数。

但是在比较关键的AI商业化问题上,科大讯飞只能回答出正在试行的路径,缺乏直接的业绩来量化这种商业化的成果。

类似赋能现有产品以增加产品销量、流量分成及订阅付费、助力企业提质增效等表述,投资者早已在互联网造富时代听得耳熟能详。

倘若往前回溯几年,科大讯飞的业绩增长其实一直存在惹人争议的地方,比如每年都在财报中出现的政府补贴,在2021年15.56亿元的净利润中,政府补贴就达到了4.39亿元。

不过对于科技公司来说,技术实力与研发投入一直是业绩之外的另一大卖点,所以科大讯飞重点强调了自己在人才、算法、算力上的投入与积累。今年上半年,公司研发投入达到16.56亿元,同比增加3.57%。

刘庆峰也放出豪言:“针对大模型的技术投入,我们该投的投、绝不手软、应投尽投,饱和投入。”

至于投资者怎么想,一方面,微软、英伟达等科技巨头在人工智能(AI)带来的额外利润预期的刺激下,股价已实现大幅飙升,另一方面,股市对这些科技巨头们的业绩瑕疵容忍度也变得非常低。

这个道理放在科大讯飞上同样适用,所以刘庆峰的减持时点更显得微妙。

资本“盛宴”

AI行情是否已经到了资本收割的节点?

以科大讯飞8月14日的收盘价63.98元/股计算,刘庆峰此次减持可套现25.56亿元,而减持的股票数量仅占两年前新购入的股票数量的56.75%。

而2021年科大讯飞增发时,刘庆峰本人认购7040万股,成本约为23.5亿元;言知科技认购599万股,金额约2亿元。

所以刘庆峰在一借一还、一买一卖之间,不仅清空了银行的借款,还在账面上保留了约21亿元的浮盈,同时稳固了自己对科大讯飞的控制权,简直一举三得。

虽然刘庆峰强调自己没有选在财报公布之前、讯飞星火大模型2.0发布之后这种更有利的时间点减持,但比起其禁售期刚结束时38元左右的股价,刘庆峰在8月的哪一天减持,其实都能大赚一笔。

或许刘庆峰在年初时并没有意识到AI板块的行情会如此来势汹汹,但是科大讯飞年内最高150%的股价涨幅,相信足以令刘庆峰动心。

尤其进入到6月以后,AI行情明显开始熄火,人工智能板块指数从1374.96下跌至1182.56,科大讯飞的股价从81.9元/股下跌至60.85元/股,倘若继续观望下去,只怕许多股东的账面浮盈都会消失。

恰巧8月上旬时科大讯飞的股价又有所回升,因此回过头来看,刘庆峰减持所选的时间节点确实颇为精妙。

当然想在股价高位减持套现的不只刘庆峰,同样受益于AI行情的360周鸿祎、昆仑万维创始人前妻早前便已被质疑“离婚式减持”,与这种操作手法相比,刘庆峰的吃相恐怕还算不上难看。

昆仑万维在减持公告后立即跌出了“20cm”的跌幅,股价已经从6月的64.70元/股下跌至37.09元/股,同期360的股价也从16.16元/股下跌至10.85元/股,如此大的跌幅和如此快的跌速,与公司业绩和股东减持之间必然是有关联的。

鸿博股份股价表现(2018年至今)

不过也有公司借着AI的东风,在下半年刚刚创下了股价新高。

长期从事安全印务、彩票新渠道服务、书刊印刷等业务的鸿博股份,通过“赋能中心合作”成功与英伟达、算力等概念绑定,在8月22日涨停,年内涨幅超581%。这也是A股人工智能板块首次跑出一年十倍的股票。

令人唏嘘的是,与英伟达的合作目前只占鸿博股份经营收入的一成,在今年一季度鸿博股份的扣非净利润更是同比下滑了59.17%。有人忙着收割就有人准备进场,关于人工智能的资本盛宴并未真正结束。

至于刘庆峰还清个人债务后还会有什么资本操作,讯飞星火认知大模型能否在10月24日全面对标ChatGPT,科大讯飞后续的业绩和股价又将表现如何,投资者可以拭目以待。

毕竟国产通用大模型混战远未结束,有公司黯然离场,也会有公司脱颖而出。至于究竟是谁能脱颖而出,也许就像刘庆峰说的,要看“谁能在具备社会刚需的应用场景落地。”

加载中...