我国没有造芯片那种砂,每年还要进口13亿元天然砂
创事记
杨净 万博 发自 凹非寺
量子位 | 公众号 QbitAI
朋友,你知道天然砂吗?
作为被限制出口的主角,这几天简直让网友们脑洞大开,甚至还扯上了“石器时代”……
有不少人认为,天然砂是造芯的核心原材料,而我国有着丰富的自然资源。
但其实并非如此。
一方面,正如大家所说,此砂非彼砂。进出口的“天然砂”,跟用来造芯的“天然砂”并不是一类东西。
日常的天然砂,就是带有工业用途的沙子,比如河沙、海沙、石英砂等。
用来造芯片的只属于其中一种——石英砂,而且还得是高纯度,含硅量99.999%。
另一方面,不为更多人所知的是,别看我国沙子那么多,但其实能用的并不多,现在还依赖进口——
仅去年一年,就花了13亿来进口天然砂。
而专用于造芯的高纯石英砂,我国更是没有,甚至一度还被美国垄断。
去年花13亿来进口沙子
作为地球上含量最丰富的物质之一,沙子被广泛用于建筑、玻璃等制造行业。
在我国沙石资源非常丰富,且不论河沙、海沙亦或是矿床里的砂,就是几个大沙漠加起来,数量就杠杠上去了。
但其实咱们能用上的沙子,即天然砂,其实并不多,甚至如今还处于靠进口来满足需求的状态。
早在2014年,就已经在进口天然砂了,当时相较于出口的四千多万吨,进口数量还不在一个数量级。
△来源:智研资询
ps,我国天然砂进出口有两个类别:硅砂及石英砂、其他天然砂。
但之后随着建筑等应用领域的需求不断扩大,加上对环境的保护,在四年之后(2017年),我国进口数量首次超过了出口数量。
△来源:海关统计数据在线查询平台
而又在去年(2021年),进口数量已经是出口数量的4倍,进口金额也达到了峰值,超13亿元。
主要进口地区包括澳大利亚、印度尼西亚、马来西亚、菲律宾日本等国家。
其中澳大利亚、马来西亚分别为硅砂及石英砂、其他天然砂的主要进口国,占比高达41%及45%。
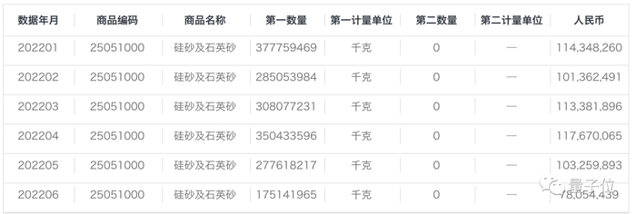
今年上半年,仅硅砂及石英砂这个类别,我国进口量就达到了201.2万吨,总进口金额达到了6.8亿元。
△2022年1-6月硅砂及石英砂进口,来源:海关统计数据在线查询平台
反观出口,单月最高出口金额也仅是一百来万元。
△2022年1-6月硅砂及石英砂出口,来源:海关统计数据在线查询平台
可以看到,目前我国天然砂也开始依赖进口,而且数量还不小。
之所以出现这种情况,还得从砂与沙之间的区别开始谈起。
虽然天然砂和沙都指自然条件下生成的岩石颗粒,但砂更偏向于有实用价值的战略资源,另外砂还包括了人工砂。
根据中国海关进出口标准分类,天然砂主要包含3大类:
硅砂及石英砂;
土质砂;
长石砂,为了去除杂质而进行热处理的天然砂仍归入本品目。
诸如河砂、海砂、湖砂,以及开采自矿床中的砂,均属于此类。
就用途来说,则覆盖建筑业、陶瓷玻璃,耐火制品,甚至是芯片制造、航天等尖端领域,都有运用。
这也就决定了工业上用的砂石需要符合一定的用砂标准。
比如像沙漠里的沙子,就明显不能被开发出来。撇开运输成本不谈,沙漠沙经过长期风化,颗粒非常的小,表面光滑且没有粘结性,就不适用于制造行业。
这种“用砂标准”放在用来造芯的石英砂,体现则更为明显。
99.9%以上的含硅量
众所周知,制作芯片圆晶之所以要用到自然砂,是因为自然砂中的硅元素导电性好,化学性质又稳定,是芯片的理想选择。
同时,半导体材料的电学特性对杂质的浓度非常敏感,这就需要圆晶原材料中的杂质尽可能少,硅化合物(二氧化硅)含量尽可能高才行。
而想要满足上述条件,普通天然砂就玩不转了,只有天然砂中的富“硅”阶层——二氧化硅含量90%以上的石英砂——才符合标准。
而且,要满足芯片制造标准,还必须是高纯石英砂,二氧化硅需达99.9%以上,同时对杂质铁和铝元素的含量有要求。
(氧化铁含量小于10ppm, 氧化铝含量小于25ppm;ppm等于百万分之一)。
除此之外,鉴于特殊的物理化学特性,高纯石英砂具备耐高温、高度绝缘、耐腐蚀等特点,因而应用非常广泛。
根据二氧化硅含量的不同,高纯石英砂还被分成了低中高端,其应用的场景也分别有所对应。
△资料来源:中泰证券《高纯石英砂行业深度:详析壁垒、供需和格局》
只有符合含硅量99.999%高端石英砂,才能用于半导体行业。随后还有进行多次提纯加工,才能造出一个满意的晶圆来。
想要得到这种高纯石英砂,也并非那么容易。
需要对硅含量高,且杂质少的原矿石进行提炼才行。因此,矿床的选择,也有奥秘在其中。
基于硅含量和纯度的考量,业界公认适合提纯的矿床类型,首推白岗岩或伟晶岩矿床,热脉矿次之。
据中国地质科学院研究员王九一披露,全球已探明的高纯石英矿中,只有美国北卡罗来纳州的斯普鲁斯派恩高纯石英原料矿属于白岗岩型。
同时,斯普鲁斯派恩高纯石英原料矿,也是目前唯一一个探明储量超过1000万吨的矿床。
△图源:王九一论文 《全球高纯石英原料矿的资源分布与开发现状》
所以长久以来,这里就是全球高纯度石英砂提纯原料的主要生产地,曾供给了全世界90%以上的需求量。
业内三巨头之一的美国尤尼明公司,也正是靠着这个矿床,牢牢占据高端高纯石英砂行业的龙头地位。
正因为如此,斯普鲁斯派恩高纯石英原料矿曾被BBC称作“地球上最具战略价值的平方英亩”。
而回到国内,论文资料显示,我国的高纯石英矿主要是脉石英和水晶矿。白岗岩或者伟晶岩矿,目前尚未有发现的消息传出。
水晶矿品质高,是提纯高端高纯石英砂的理想选择,但可惜的是,水晶资源现在已经趋于枯竭。
至于脉石英矿,倒是有一处矿床:灵虬山脉石英矿,位于湖北省蕲春县,发现于上个世纪70年代。
灵虬山脉石英矿是热液脉石英型。钻孔取样分析结果表明,矿石的二氧化硅纯度超过99.35%,已经达到高纯石英矿的标准。
但这里还有2个问题:首先,储量和矿山规模不大。
灵虬山脉石英矿的探查结果显示,该矿探明储量只有387.4万吨,设计矿山规模为年采1.5万吨矿石。
其次,脉矿型石英矿石经过提纯产出的高纯石英砂,含硅量通常是99.9%(3N),大部分都用于金属硅、硅微粉等工业产品。
想要提纯出符合5N级别的高端高纯石英砂,也能办到,但相比直接提纯白岗岩原矿,工艺复杂,成本高企。
以上2个问题,也造成我国高纯石英砂或原生矿石领域的一个现状:进口为主,本地为辅。
△图源:石英股份
以国内高纯度石英砂巨头石英股份为例,其用以提纯高纯石英砂的原矿石,国外货源占比长期高居不下,甚至在2020年达到90%。
尤其是高端高纯石英砂的原矿石,高度依赖美国斯普鲁斯派恩高纯石英原料矿。
要知道,石英股份是国内唯一具备大规模提纯高纯度石英砂能力企业,作为“独苗”,基本上能够代表整个国内整个行业的状况了。
事实摆在这里,高端高纯石英砂原材料的要害,掌握在别人手里。
如此一来,也不免有人担心,在石英砂这块是否会被美国卡脖子?
有位网友给出了解答:并不会。还提到了两种替代方案。
一方面,美国高纯原矿并非不可替代。近年来,随着各国对高纯石英矿床的勘探,为半导体行业提供了更多选择。
其中有代表性的,有挪威的德拉格矿床,同样属于花岗岩石英矿,其石英矿经过提纯同样能达到半导体行业所需要的5N级标准。
还有澳大利亚的糖袋山矿床,虽然属于脉石英矿,但根据勘探,其矿石原料的二氧化硅纯度就可以达到99.99%(4N)级别。
其二,高纯度石英砂并非原矿石提纯这一座“独木桥”。近年来业界兴起的化学合成高纯石英,也是另一个选择。
所谓化学合成高纯石英,顾名思义,就是通过化学反应,提取高纯石英。
目前主流的一些化学合成技术,均不需要高纯石英原矿石作为原料。
比如化学沉淀法,就是以硅酸钠与酸溶液为原料,在一定的合成温度和表面活性剂的作用下合成高纯石英。
而且,国内已经有相关企业掌握化学合成技术。比较有代表性的如菲利华和凯盛科技,其合成高纯石英产品已经可以达到半导体所需高纯石英砂的标准。
好了,对于卡脖子这件事儿,你有什么看法?
参考链接:
[1]https://s.weibo.com/weibo?q=%E5%A4%A9%E7%84%B6%E7%A0%82&Refer=weibo_weibo
[2]https://throughthesandglass.typepad.com/through_the_sandglass/2009/08/sand-to-chips---whats-the-real-story.html
[3]https://pdf.dfcfw.com/pdf/H3_AP202205131565314200_1.pdf?1652454609000.pdf
[4]http://www.cnki.com.cn/Article/CJFDTOTAL-YSKW202101015.htm
[5]https://www.makeuseof.com/how-intel-processor-is-made-from-sand-silicon/
[6]https://www.chyxx.com/industry/1120526.html
[7]http://43.248.49.97/