新浪财经

《谭谈交通》全面下架,谭Sir真的要“赔到裤子都没了”?

创事记

关注

欢迎关注“新浪科技”的微信订阅号:techsina 

来源:差评(ID:chaping321)

差评君昨晚睡觉之前,看到一条新闻:《 谭谈交通 》因侵权投诉全面下架,主持人谭Sir本人或将面临 “ 裤子都要赔掉 ” 的局面。

一瞬间,一种荒诞又愤怒的感觉涌上心头。

凭什么?

《 谭谈交通 》大家应该不陌生。

这是一档交通安全宣教节目,首播于2005年,主持人谭乔是一位交警队民警,他在成都街头寻找违规驾驶的人,引导对方知道自身交通违法行为的危险性。

因为节目内容自然、真诚、富有人间烟火气,饱受大众喜爱,很多片段至今仍然被大众拿出来反复欣赏和解读。

有个大爷骑电瓶车走快车道,拉货去二仙桥。

谭警官把他拦下来,问他车该走哪条道,他说去二仙桥该走成华大道。问他车子能不能拉,他说只能拉一点点,不能拉多了。

大爷答得特别认真,但没有一个回答回到了点子上,看着特别乐。

有人坐在啤酒瓶子上,随车左右摇晃,谭警官追上去问他这样怕不怕?

他说不怕,主要是会腰马合一。

从国产倍思特,到 “ 韩国 ” 牌福建司机,这个节目笑点密集,比春晚小品还要高能。

但又不仅仅是笑点,这些片段背后往往是普通人努力讨生活的故事,看到最后经常让人笑中带泪。

69岁的大爷,家里父母双亡,老婆生孩子时难产,一个都没能留下来,谭警官问他还有其他亲人么?他指了指车上的弟弟和狗。

但即便如此,大爷依然满脸笑容,谭警官问他为什么这么乐观,大爷说 “ 往前看 ” 。

突然被 “ 背刺 ” ?

怀着一丝不甘心和好奇,差评君翻阅了谭警官在社交平台的公开账号,在知乎上,找到了答案。

视频全面下架是因为被成都游术文化传播有限公司发起了侵权投诉。

节目制作单位成都电视台第三频道为大家解答了这个问题。

电视台官方回应称已将《 谭谈交通 》所有著作财产权以及相关权利转授给了游术,协议中特别注明了包含赔偿权。

简单来说,电视台把节目版权转让给了成都游术,成都游术开始侵权投诉,把节目视频都给整下架了,还可能让谭Sir赔钱。

这就很微妙了。

在咱们的直观认知里,这档节目的主要主持人是谭 Sir ,并且节目内容主体是由谭 Sir 跟各路人士 “ 侃 ” 侃出来的节目,谭Sir对自己的作品难道没有版权?甚至传播自己的作品要担责么?

根据《 著作权法 》,一般来说,像报社、期刊社、电视台这样的单位,工作人员创造的职务作品属于电视台。谭Sir担任主持人属于履行电视台委派的职务行为,著作权归属为电视台。

其次,在制作节目之前,双方可能通过合同等进行了协议约定,如果知识产权此时已约定好归电视台,这种情况著作权也不属于谭Sir。

根据目前网上已爆出的情况,成都游术大概率在法律上能站得住脚,也就是说,他们拥有著作权,有权对侵权作品进行申诉。

比如电视台是如何把权益转让给这家私企的?转让价格是否合理?过程是否符合相关程序?

比如节目的公益性质能够得到认定的话,可以驳斥著作权。

以及谭Sir在某些情况下也享有肖像权、表演者权等权益,可以起诉成都游术等等。

具体就等到到法庭上,双方拿出当初的合同等资料,才能一较高下了。

在跟我们律师聊天的过程中,差评君也顺手用天眼查查询了这家公司。

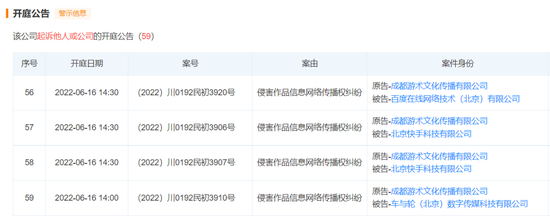
我一点进天眼查,就看到这家公司有50 多条开庭公告,开庭时间从今年6月份开始到8月份。

短短两个月时间,这么多官司在开庭,这是干啥勒?

还有更刺激的,看时间↓↓

这么多案件都是同一天,这不就是批量起诉么?

这些信息让人不免去怀疑,成都游术是不是专门以这些版权官司为生的公司?

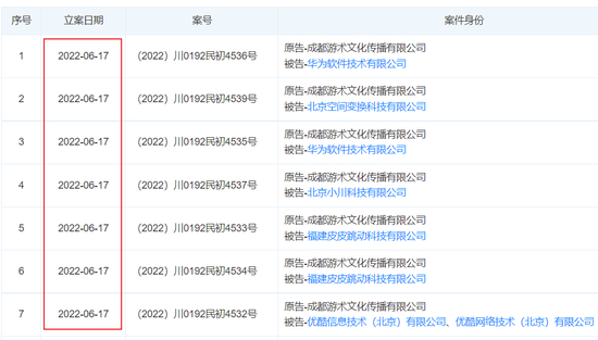
我又仔细翻了一下,发现被告席上 “ 坐 ” 了百度快手、优酷、咪咕、爱奇艺、华为和B站。。。

我深呼吸了一下,又翻了一下这家公司的基本信息。

发现这家公司成立时间非常短,成立于2018年,注册资本50 万,实缴资本为 0 ,并且成立四年,每年年报都显示参保人数为 0 。

看到这些信息的时候,我都不知道该说什么好了。

2005年节目播出的时候,当时官媒自我宣传还没有这么火。

这种情况下交警队愿意给出官方支持,谭警官同意出镜花时间去做节目,大概率是出于公益性质和宣传性质。

事实上,成都市公安局交警支队官方也有提到,这是交通安全宣教节目↓↓

原本一档具有公益性质的交通节目却因为多年以后重新火了起来成为了商人们的逐利场。

原本电视台跟交警队推出的希望大家都能看到的普法节目,现在却被限制视频的传播,成为了一个又一个的 “5000 元 ” 。

无论如何,今天这个结果对《 谭谈交通 》的制作者,对于每个喜欢这个节目的观众来说,都是一种讽刺。

撰文:渡渡鸟武士   编辑:面线 封面:萱萱

图片、资料来源:

人民网 - 地方领导留言板《 成都电视3台《 谭谈交通 》为什么没有了呢? 》

微博:谭乔、上游新闻

知乎、 B 站等

部分图源网络

加载中...