新浪财经

冲上热搜的这款国产“阿法狗”,究竟是什么来头?

捕捉翻倍美股

关注

来源:量子位

萧箫 发自 凹非寺

量子位 报道 | 公众号 QbitAI

这家公司,因为一个机器狗测试视频忽然火了。

在demo中,机器狗号称能跑出4.15米/秒的速度:

视频一经放出,就在微博上被刷屏,阅读飙升至1.4亿。

感觉似曾相识,然而又没什么印象?

没错。

去年3月26日的时候,还是这家名为“南京蔚蓝智能科技”的公司,面向大众公开了他们C系列和E系列的两款产品。

demo放出来后,这家公司的“阿尔法机器狗”系列产品,迅速刷屏冲上了热搜。

然而,就在完整测试demo出来两周前,这家公司提前公开的机器狗产品,基本还处于无人问津的状态。

嗯……所以这款“横空出现”的机器狗,究竟是什么来头?

对标MIT的国产“阿法狗”

这家公司的机器狗产品,都命名为阿尔法机器狗(AlphaDog)

而冲上热搜的这款机器狗,名为AlphaDogC200。

AlphaDog C200,对标的是MIT的mini Cheetah,后者速度可达3.7米/秒。

这家公司声称,相比于MIT的mini Cheetah,AlphaDog C200的奔跑速度达到了4.15米/秒。

公司官网显示,C200的定价,目前是8.69万元,平价版的C-series,则只需要16900元

不过,平价版的机器狗参数没那么高,常规行走速度是2.0米/秒,至于最高安全限速,则是3.0米/秒

这款机器狗包括CV、NLP等AI技术,例如人脸、手势、文字识别,以及语音识别、聊天对话等,并支持二次开发

这家公司称,这款机器狗带64GB硬盘、能持续走1.6小时,待机模式下最高能持续18小时,可承载3kg的重物,且无需遥控器、用狗绳牵着就能走。

然而,从2019年成立以来,仅用1年就推出新产品,2年迭代出的机器狗产品,速度就超过了MIT。

所以,这家公司的技术和资金,都是从哪来的?

尚未进行过融资

“阿尔法机器狗”,出自南京蔚蓝智能科技有限公司,于2019年成立。

先来看看这家公司的技术负责人。

蔚蓝智能科技联合创始人、CTO马洁,毕业于南京邮电大学,并于牛津大学读完博士、博士后,也担任过IBM中国研究院(现已关闭)主管研究科学家,以及世界机器人大赛技术委员会委员。

2004年,在中国足球机器人大赛中,马洁曾率领南京邮电大学的参赛队伍获得了RoboCup仿真组冠军。

在2005年5月,马洁获得RoboCup美国公开赛仿真组亚军,同年7月在日本,获得RoboCup世界杯锦标赛第七名。

据机器人大讲堂报道,两位联合创始人,也是在RoboCup比赛上相结识的。

此外,蔚蓝智能科技称,这次参与机器狗速度测试的4名公司技术成员,也都毕业于名校:英国牛津大学、德国波恩大学、东南大学、美国宾夕法尼亚大学。

但蔚蓝智能科技并未透露这四人的名字,只给出了内部花名:相见欢,名道,渭风和寒雨。

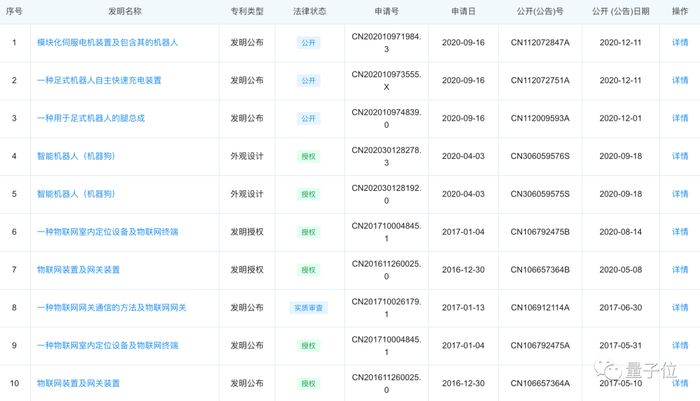
技术专利上,目前与蔚蓝智能科技相关的共有10条。

其中3条是公开专利,包括“模块化伺服电机装置及包含其的机器人”、“一种足式机器人自主快速充电装置”和“一种用于足式机器人的腿总成”。

三条专利,包括电机、快充、机器腿部设计,都是硬件这方面的。

除此之外,就是授权的专利、和外观设计专利了。

目前,还没有公开软件相关的专利。

那么,这家公司的资金,从何而来?

企查查上,并未查到这家公司相关的融资情况。

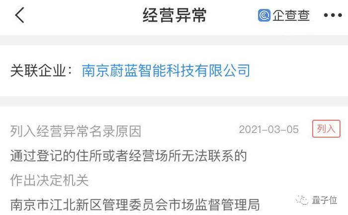
目前所有资金信息,都来源于南京蔚蓝智能科技创始人刘维超

而且,在企查查上显示,公司目前存在经营异常……

根据企查查信息,公司此前并不是做机器人的。

直到2019年底,才追加了机器人相关的业务。

蔚蓝智能科技在采访时表示,他们是一家先进生产力公司,定位是通过人工智能和机器人技术,推动先进生产力发展。

凭借开源项目,能否DIY机器狗?

还有敏锐的网友发现,这款机器狗对标的MIT mini cheetah,其实已经开源了。

而且是在2019年的时候,就已经公开了自己的代码(也是在蔚蓝智能科技成立那一年)

软件代码以外,MIT实验室的成员,也把相关硬件公开了,还开源了相关设计代码。

包括电机控制器硬件、固件,以及SPIne硬件和固件:

那么,根据MIT开源的相关项目,仅仅靠个人购买材料+调试的话,是否能做出真的机器狗呢?

知乎@廖洽源 表示,如果允许购买成品电机的话,是可以DIY出一个机器狗的。

当然,如果电机自制,可能还是要花费挺多时间。

而南京蔚蓝智能科技,确实申请了电机相关的专利。

不过,即使相关代码和设计方案都具备,材料强度、以及合适的加工工艺,也都是DIY机器狗中,需要解决的又一大难题。

最后,即使材料合适,手工制作的装配精度,也不一定完全符合工业需求。

因此,这款机器狗的具体性能如何,仍旧需要观望一下。

如果对自己动手DIY一个机器狗感兴趣的话,也可以参考MIT Cheetah的相关项目。

MITCheetah开源代码/论文整理(@廖洽源):

https://zhuanlan.zhihu.com/p/79391139

参考链接:

[1]http://www.weilan.com/order.html

[2]https://weibo.com/2803301701/K6VD3BEKe

[3]https://mp.weixin.qq.com/s/EbjPPNHjC2SiwpKKSsb7-w

[4]https://100001425723.retail.n.weimob.com/saas/retail/100001425723/2393731723/goods/detail/vwif?id=1293062560123&storeId=2393731723

[5]http://www.njupt.edu.cn/2013/0701/c53a97309/pagem.htm

加载中...