新浪科技

度小满冠名《浪姐7》陷舆论反噬:透视助贷平台下沉的困局

投资者网

关注

《投资者网》吴微

2026年4月,芒果超媒(300413.SZ)旗下的S级综艺《乘风破浪的姐姐2026》(下称《浪姐7》)在一片“全直播、无修音”的豪言壮语中拉开帷幕。作为本届节目最显眼的“金主”,度小满接替了与该IP深度绑定五年的金典,以独家冠名商的身份出现在舞台最中央。

然而,这场斥资巨额的跨界营销,却迅速演变成了一场品牌公关危机。随着节目组在赛制上的“虚假直播”风波,以及口碑的断崖式崩塌,作为独家冠名商的度小满不仅未能通过浪姐7如愿收割流量红利,反而让公司自身陷入了“信誉捆绑”的质疑声中。

而在资本与流量狂欢的舞台背后,度小满所代表的助贷行业正面临着前所未有的严峻考验。一边是度小满冠名头部综艺、体育赛事的财大气粗;另一边,则是公司在黑猫投诉平台上积压的数万条投诉,以及司法系统中动辄以千计的借款合同纠纷。在监管层严厉打击“金融营销娱乐化”与“保护金融消费者权益”的双重高压下,度小满的这一场“破浪”之旅,或正暴露出行业在合规、获客焦虑与社会责任之间的深度撕裂。

资本与流量的博弈:频繁赞助背后的营销焦虑与价值观争议

近年来,度小满在娱乐营销上可谓“火力全开”,不仅赞助了《盒子里的猫2》、跨年活动、马拉松等多个高光项目,更在2026年豪掷千金拿下了《浪姐7》的独家冠名权。然而,度小满这场看似光鲜的营销却遭遇了严重的口碑反噬。

首当其冲的是“信誉捆绑”所带来的品牌危机。本季《浪姐》主打“全直播、无修音、真现场”的标签,因此吸引了大批观众充值会员。但节目组却在开播不久后出尔反尔,将原定直播的“一公选曲”和“一公小考”临时取消改为录播。

愤怒的网友将对节目组“虚假宣传”的不满直接挂钩到了冠名商的品牌信用上,纷纷涌入度小满官方微博质问:“作为金融品牌,信誉最重要,你冠名的节目却公然欺骗观众,谁还敢信你?”。

更深层次的矛盾或在于价值观上的撕裂。《浪姐》系列的核心口号是弘扬“女性力量”与“独立自主”。然而,观众普遍认为在一个倡导女性自我实现的舞台上,不断穿插诱导贷款的广告极其违和。

此外,由于伊利股份(600887.SH)旗下的金典在过去五年已成为该节目的视觉符号,度小满的橙红品牌色强行占领舞台灯光和舞美设计,也被观众吐槽破坏了节目的“高级感”,社交媒体上甚至出现了“金典反买,别墅靠海”的热梗,反向衬托了度小满目前的尴尬处境。

而从监管的角度来看,度小满这种高频、高感性的娱乐化营销或正处于合规的灰色地带。中国人民银行及国家金融监督管理总局曾多次发文,明确要求金融机构在营销中不得宣传过度消费、超前消费,不得诱导消费者进行超出自身偿还能力的借贷。

度小满将贷款与“女性成长”、“追求梦想”深度绑定的情感化包装,难免会被质疑是“通过情感绑架诱导非理性借贷”。在网信办与金融监管局联合发布的规范金融产品网络营销指导意见下,监管层明确要求金融营销不能“娱乐化”、“低俗化”。这种“高举高打”的扩张宣传不仅逆社会“去杠杆”的大趋势,或更容易触碰监管关于“误导性宣传”的红线。

告别“野蛮生长”:强监管下的穿透式审查与经营承压

作为长期存在较大争议的助贷行业,在过去一年中,度小满们所面临的监管环境已从专项整治转变为“常态化严监管”,其合规压力达到了自独立运营以来的最高峰。随着针对助贷平台的监管不断收紧,度小满也经历了常态化的“被约谈”。

据公开资料显示,度小满及所处的助贷行业曾多次被监管部门约谈,监管层重点为警告行业普遍存在的“诱导超前消费”和“暴力催收问题”。

高管被约谈的背后,是助贷行业赖以生存的高息费模式正受到“穿透式审查”的严厉打击。虽然度小满们对外宣传年化利率低至7.2%左右,但在实际合同中往往叠加了“服务费”、“担保费”、“技术支持费”等隐形成本。

据2025年的行业调研,度小满及助贷行业多家公司部分下沉客群的综合年化利率(IRR)精准卡在23.4%-24%之间,刚好避开了24%的司法保护红线。此外,大量用户还反映在提前还款时,会被收取剩余本金4%左右的违约金,而这种收费通常埋藏在长达数万字的电子协议中。

监管正在推动从“明示年化利率”向“明示综合成本”转变,如果未来监管强制要求将此类提前还款违约金等隐形息费纳入综合年化利率计算,助贷平台的利润空间无疑会被极大的压缩。

依托大数据优势,度小满曾以精准的用户画像能力见长。但在央行要求个人信息“断直连”的政策深水区下,其未经授权共享敏感数据等行为受到了严格限制,这或导致了其“精准匹配”效率下降,与合规成本骤升。这或许也让度小满陷入了深深的客群开发的焦虑之中。

在优质信贷需求竞争加剧的背景下,为保持既定的业绩增长与估值水平,度小满们或不得不通过《浪姐》等大流量平台尝试向更广泛的下沉市场及长尾客群渗透。然而,客群结构的下移客观上推升了公司资产端的风险敞口,如何在规模扩张与资产质量之间取得平衡,或也将成为度小满经营层面面临的结构性挑战。

诉讼海啸与催收迷局:消费者权益保护的平衡难题

当金融流量进入下沉市场,随之而来的或是海量的逾期与坏账。为了覆盖高坏账率,度小满们也存在批量化诉讼的情况。

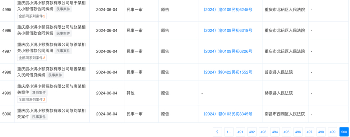
天眼查显示,度小满的经营主体重庆度小满小额贷款有限公司(下称“重庆度小满”),与其相关的金融借款合同纠纷案件自2024年6月起至今,已高达5000条,最新开庭时间已排到了2026年的7月。

平台通过法律环境相对友好的区域,对全国各地的逾期客户进行批量起诉,以极大的法律威慑力实现“以诉促收”。这种“海量起诉”模式极大的占用了司法资源,如果被监管认定为“放贷过程存在违规、导致逾期激增、再通过诉讼转嫁压力”,以度小满为代表的助贷企业,未来可能面临法院不予立案的行政干预甚至业务资质的重新评估。

在大量真实诉讼之外,度小满们的其他催收手段也备受争议。据第三方投诉平台的公开数据,过去一年度小满在“暴力催收”方面的投诉量高居不下。多位借款人投诉称遭遇了“爆通讯录”、机器人高频呼叫骚扰等“软暴力”催收,催收人员甚至向借款人的父母、同事透露欠款信息,造成“社会性抹杀”式的严重后果。

此前,度小满等对个助贷APP就因违规收集用户信息,而多次被监管层通告整改。而据部分用户反馈,助贷企业在催收时,用户甚至收到了伪造的“法院执行局”虚假短信。但近年来,监管层针对催收行业的乱象进行了全方位的整改,湖南永雄等多家催收公司因此覆灭。

更为严峻的合规挑战在于度小满们放贷标准的模糊地带。尽管国家严令禁止向在校大学生发放互联网消费贷款,但大量投诉显示,度小满被指利用“身份模糊化”规避监管,通过让学生自行勾选“非学生承诺协议”的形式来发放高额授信,APP中并无较为严格的身份识别机制。

此外,度小满虽一直打着“助力小微”的口号,但在实际经营中,或存在大量的借款人并非真实的创业者,而是抗风险能力极差的低收入群体或老年群体,这或也暴露出平台在审核环节对“偿还能力”评估过松的合规漏洞。

面对巨大的合规重压,度小满正在试图进行防御性转型。如度小满在广告中强调“助力店主”以贴合支持实体经济的政策导向,同时试图将技术模板出海至东南亚,并探索向B端技术服务化转型,以此来降低合规与坏账风险。

然而面对强监管环境,度小满目前仍处于“边整改边创收”的尴尬境地。如果度小满们还坚持“高频获客+高息覆盖+批量诉讼”的旧模式,公司或将面临监管的降级处罚;但若全面降低利率并严格审核资质,在目前信贷宽松的大背景下,其利润或可能无法支撑起公司巨额的营销投入。

正如网友所言,观众反感的从来不是广告本身,而是广告背后那个在荧幕上表现得越“暖心”,在法庭和催收中就显得越冷酷的商业逻辑。在强监管的新常态下,如何真正从“流量收割”走向普惠金融,在合规经营与消费者权益保护之间找到可持续的平衡点,不仅是度小满需要直面的生死考验,更是整个助贷行业必须跨越的周期鸿沟。

您如何看待助贷行业的转型?欢迎大家在评论区留言、讨论。(思维财经出品)■

加载中...