新浪科技

苹果新专利曝光:专治坐车戴 Vision Pro 晕车问题

IT之家

关注

IT之家 7 月 1 日消息,苹果公司近期获得了一项名为“沉浸式虚拟显示”的专利,该专利旨在通过虚拟现实技术解决乘客在移动车辆中使用头戴设备时可能出现的晕动症问题。这一技术未来可能会应用于苹果的 Vision Pro 头显设备,或其后续版本中。

苹果 Vision Pro 用户在飞行旅途中使用设备时,可能会因为头显传感器受到飞机移动的影响而产生晕动症。这种现象类似于一些用户在移动的公交车上阅读 iPhone 时所感受到的晕动症。苹果曾在 2024 年 5 月发布的 iOS 18 中推出“车辆运动提示”功能,通过在 iPhone 屏幕上显示一系列与车辆运动同步的小点,利用手机的加速度计将车辆的运动信息传递给用户的眼睛,从而缓解晕动症。

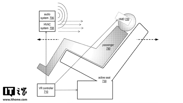
据IT之家了解,此新专利提出的技术则是将类似原理应用于 Vision Pro 头显设备。苹果计划通过虚拟现实方法,将真实世界的车辆运动融入虚拟体验中,以帮助乘客避免晕动症。专利中提到,该技术可以为乘客提供沉浸式的虚拟现实体验,同时将车辆的实际运动与虚拟环境中的视觉运动进行 1:1 映射,确保用户在虚拟世界中的视觉感受与身体感受到的运动保持一致。

此外,苹果还考虑到了用户在使用过程中的舒适度。Vision Pro 头显设备可能会监测乘客是否有不适或晕动症的迹象,并根据情况调整虚拟视觉运动的速度。例如,如果用户出现晕动症的迹象,设备可能会自动降低虚拟环境中的运动速度。用户还可以根据自身需求,提前设置设备以适应自己的舒适度,而无需等待设备检测到晕动症后再进行调整。

值得注意的是,这项技术的研究背景与苹果曾经的“苹果汽车”项目密切相关。专利中提到的一些应用场景,如通过车辆的空调系统提供风感或热感、通过音响系统提供环绕声和音效,以及通过座椅提供加速度或运动效果等,都假设用户处于一个完全可控的车内环境中。尽管“苹果汽车”项目已经终止,但这项专利中的一些理念和技术仍可能在 Vision Pro 的后续开发中得到应用。

除了针对晕动症的解决方案,该专利还提出了其他潜在的应用场景。例如,用户可以通过 Vision Pro 头显设备看到真实的车内环境,并叠加虚拟内容,如虚拟物体或虚拟标签等。此外,设备还可以提供完全沉浸式的虚拟现实环境,同时在虚拟环境中融入车外环境的视觉提示。

尽管“苹果汽车”项目已经结束,但苹果公司仍在不断探索如何将先进技术应用于 Vision Pro 头显设备,以满足用户的多样化需求。此次获得的专利由八位发明者共同完成,其中马克・罗伯(Mark B. Rober)是主要负责人。早在 2022 年,罗伯就曾提到他为“苹果汽车”设计了一种虚拟显示系统,用于缓解晕动症。这也再次证明了苹果公司在专利布局上的巧妙策略,将 Vision Pro 的相关专利隐藏在众多技术专利之中,直到此次专利获批才逐渐浮出水面。

未来,Vision Pro 头显设备或许将为用户提供更加舒适、个性化的虚拟现实体验,无论是在移动车辆中还是其他场景下。

加载中...