新浪科技

移动影像王者归来!看华为Pura 80系列如何重构手机拍摄边界

IT168

关注
听新闻

6月9日,华为常务董事、终端BG董事长余承东发布的一支华为Pura 80系列预热视频,如同一颗重磅炸弹,在科技圈掀起轩然大波。

视频中,余承东亲自展示了由华为Pura 80系列拍摄的火焰场景。无论是鲜艳明亮的火焰,还是暗处燃烧的木头,画面中都清晰分明,高光没有过曝,暗处细节也分毫毕现。这一表现,直接瞄准了手机影像在大光比场景下的痛点——长久以来,手机拍摄大光比场景时,要么高亮部分过曝成“白块”,要么暗部漆黑一片,细节丢失严重。而华为Pura 80系列展现出的高动态范围能力,预示着其在影像硬件和算法上的重大突破。

技术上来说,这种优秀的HDR表现离不开强大的硬件支撑。一向以视频能力著称的iPhone就是利用强大的ISP性能与算法实现了越级。结合已曝光的信息,华为Pura 80系列很可能搭载了一英寸镜皇,更大的传感器尺寸意味着能捕捉更多光线,为高动态范围成像奠定基础。同时,主摄视频功能的优化,或许采用了新的多帧合成技术,通过连续拍摄多帧不同曝光的画面,再通过算法合成,从而在保留亮部细节的同时,提升暗部亮度和细节。这种技术并非简单的“提亮暗部”,而是通过精准的光影计算,还原场景的真实动态范围,让画面更接近人眼所见,打破非苹果设备以往的视频劣势,让移动设备不再是静态的照相机,更是高动态的视频机。

在视频中,余承东还提到了一句“远远不止”,这不禁引发了业界的广泛猜想。什么能够叫做远远不止?是AI?是全新的潜望技术?还是更全面的色彩校正?

华为在AI影像领域一直领先行业,Pura 80系列或进一步升级AI算法,场景识别、视频拍摄、AI修图等功能可能得到全方位升级,让拍摄过程更自然、更智能,真正实现随手一拍就是大片。

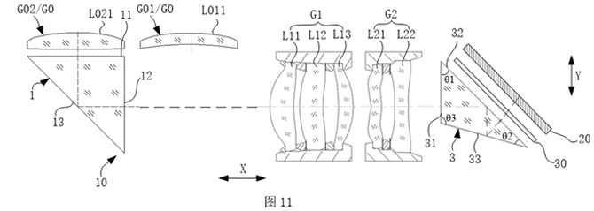
除此外,华为最引人注目的想必是外围曝光的“一底双长焦”专利。作为行业首创,这一技术或许是华为Pura 80系列“远远不止”的关键突破点。

根据公开的专利文件,华为的“一底双长焦”方案通过导台移动实现长焦和超长焦之间的光路切换,两颗长焦镜头共用一块CMOS大底和防抖技术。这一设计堪称革命性——传统手机的长焦镜头往往采用独立传感器,不仅模组体积庞大,而且不同焦段的成像质量参差不齐。而“一底双长焦”通过棱镜共享大底CMOS,不仅有效缩小了模组体积,让手机机身更轻薄,更能保证双焦段的成像质量,实现“全焦段无短板”的影像体验。

除此以外,华为Mate 70系列上广受好评的红枫原色镜头可能也将在华为Pura 80系列上得以沿用,而且性能或许能够有所突破,在复杂环境下的色彩将得到更完美的还原。

从预热视频到专利技术,从硬件创新到算法猜想,华为Pura 80系列展现出了强大的影像领域的积累,打造了友商难以复刻的技术壁垒。回顾华为Pura系列的发展历程,上一代华为Pura 70系列出货量已突破1300万台,足以证明市场对其影像能力的认可。

而此次华为Pura 80系列的升级,不仅是对自身的超越,更是对整个移动影像行业的一次推动。它向业界证明,手机影像的创新远未到达瓶颈,通过硬件架构的革新、算法的深度优化和场景化的体验设计,依然能不断突破边界。

6月11日,华为Pura 80系列及全场景新品发布会即将拉开帷幕。当移动影像王者再次归来,我们有理由期待,它将带来的不仅是一款手机,更是一场关于“记录与表达”的全新革命。从大光比场景的精准捕捉,到长焦影像的极致进化,再到“远远不止”的多元创新,华为Pura 80系列正在重新定义手机影像的可能性。让我们屏息以待,见证移动影像的下一个巅峰时刻。

加载中...