新浪科技

苹果创新遇阻,消息称摄像头版 Apple Watch 项目中止开发

IT之家

关注

IT之家 5 月 23 日消息,彭博社昨日(5 月 22 日)发布博文,报道称苹果公司内部已取消在 Apple Watch 中加入摄像头的计划。

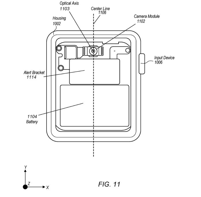
苹果原计划 2027 年发布配备摄像头的 Apple Watch 和 Apple Watch Ultra 智能手表,帮助用户获取周围环境信息。不过彭博社爆料称,苹果内部本周已中止开发该项目,尚不清楚具体原因,但不排除未来重启的可能。

IT之家援引博文介绍,苹果希望通过整合摄像头,并非让 Apple Watch 实现 FaceTime 通话或拍照等传统功能,而是聚焦于环境感知和信息获取。

例如,用户对准一家餐厅或商店后,Apple Watch 可即时显示营业时间;对准植物可识别种类,甚至能描述物体或提供语言翻译。这一功能类似于 iPhone 的“Visual Intelligence”AI 特性,通过摄像头为用户提供更多实用信息。

尽管 Apple Watch 摄像头计划受挫,苹果并未停止在可穿戴设备领域的创新探索。据悉,公司仍在开发内置微型摄像头的 AirPods。这些摄像头可能是红外传感器,支持增强空间音频、空中手势控制以及 AI 功能。

加载中...