紫金银行再度选择“不下修”,可转债转股实现“补血”目标仍较难
蓝鲸TMT
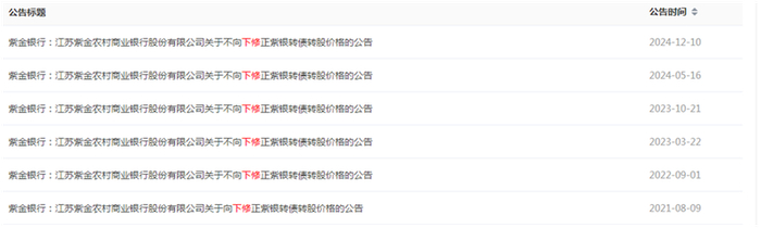
蓝鲸新闻12月10日讯(记者 金磊)12月9日晚间,紫金银行公告称,截至2024年12月9日,“紫银转债”转股价格已触发向下修正条款。根据相关规定,鉴于“紫银转债”距离存续期届满尚远,综合考虑公司的基本情况、股价走势、市场环境等多重因素,以及对公司长期稳健发展与内在价值的信心,为维护全体投资者的利益,公司董事会决定本次不向下修正“紫银转债”转股价格。
从2025年6月10日开始重新起算,若再次触发“紫银转债”转股价格的向下修正条款,届时公司董事会将再次召开会议决定是否行使“紫银转债”转股价格的向下修正权利。
据了解,“紫银转债”于2020年7月23日发行,发行总额45亿元,债券期限6年,其初始转股价格为4.75元/股,此前转股价格经历了四次调整。
2021年6月15日因年度利润分配调整为4.65元/股;2021年8月10日因满足转股价格向下修正的条件而调整为4.05元/股;2022年6月13日因年度利润分配调整为3.95元/股;2023年6月16日再度因年度利润分配调整为3.85元/股。
大多数银行发行转债的目的是为了补充核心资本,而只有在可转债转股后才能实现这一补充,下修转股价格后,可转债的转股价值会得到提升,有利于提振债券持有人的转股意愿。同时可转债顺利转股也能帮助银行补充核心一级资本,可谓一举两得。
那么在下修条款被触发时,为何紫金银行一直选择不下修可转债的转股价格呢?
有业内人士表示,银行发行的可转债转股价格不得低于最近一期经审计的每股净资产,并且该规定同样适用于转股价下修。部分标的转股价已经远低于每股净资产,银行转债通过下修辅助赎回的渠道受到较大制约。
截至2024年9月30日,紫金银行的净资产为5.26元,而“紫银转债”最新的转股价格为3.75元/股,因此紫银转债当前并不具备转股价下修的空间。
目前来看,除了紫金银行外,多只银行可转债到期转股情况并不乐观。
张家港行在2018年11月12日向社会公开发行面值总额25亿元人民币的可转换公司债券,张行转债已在11月13日正式摘牌,未转股的张行转债余额为人民币1362,543,700元,占张行转债发行总量的比例为54.50%。
根据无锡银行年初的公告,摘牌时未转股的无锡转债余额为26.84亿元,占无锡转债发行总量的比例为89.49%。这意味着此轮无锡转债发行,并未完成核心一级资本补充的目标。
而“紫银转债”到期日为2026年7月23日,截至2024年09月30日,累计共有411000元“紫银转债”已经转换成公司股票,累计转股数为92681股,仅占可转债转股前公司已发行股份总数的0.0025%,因此从这个角度来看,紫金银行可转债想要顺利转股补充核心一级资本的压力还是不小的。