新浪科技

上市至今分红百亿,传音控股“豪横”分红大股东受益

蓝鲸TMT

关注

蓝鲸新闻10月18日讯(记者 翟智超)日前,有着“非洲手机之王”称号的传音控股(688036.SH)增加了对2024年半年度利润分配现金分红的总额,而公司此举也引起了市场的广泛关注。

10月17日,公司发布公告称,2024年上半年分红总额由16.9亿元(含税)调整为17.1亿元(含税)。其中,每10股派发现金红利15元(含税)保持不变。

蓝鲸新闻记者注意到,虽然高额的分红金额让投资者们皆大欢喜,但是公司控股股东和实控人才是最大受益方。

而在这场靓丽的分红盛宴之下,公司已陷入了内外交困的境地。从外部来看,公司面临着高通连续发起的专利诉讼带来的压力;从内部来看,公司受非洲市场占有率下滑、非洲业务营收增速放缓等问题的困扰。

豪横分红,谁最受益?

公告显示,此次调整分红金额的原因是公司2022年限制性股票激励计划的归属部分完成,导致公司总股本由11.3亿股增加至11.4亿股。调整后,现金分红占公司2024年半年度合并报表归属于上市公司股东的净利润28.5亿元(未经审计)的比例由59.39%上升至59.98%。

蓝鲸新闻记者查阅过往信息发现,传音控股在分红方面一直很豪横。相关数据显示,2023年,公司现金分红数额合计达到约48.39亿元,占公司2023年归母净利润的87.40%,这几乎接近其当全年扣非归母净利润(51.34亿元)。如果拉长时间线来看,自2019年上市至今,传音控股累计分红金额已超100亿元。

那么公司慷慨分红背后,谁最受益?

据chioce数据显示,截至今年6月末,传音控股依然保持着相对集中的股权结构,前十大股东持有公司77.3%的股份。这也意味着,公司前十大股东将会收获极为丰厚的分红回报。

进一步研究发现,在公司前十大股东之中,深圳市传音投资有限公司(下称“传音投资”)持有公司49.64%的股份,因此所获分红额度最大。值得一提的是,传音投资还是公司控股股东。 图源:chioce金融端
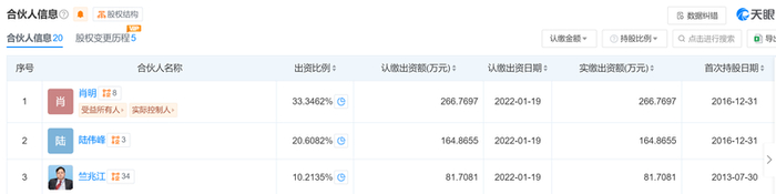
而据天眼查信息显示,传音投资拥有38位自然人股东。其中,公司实际控制人兼董事长竺兆江持有该企业20.68%的股权,位列第一。 图源:天眼查
另外,作为公司第三大股东新余传佳力企业管理合伙企业(下称“传佳力”)持有公司股份5.49%,该企业拥有合伙人共20位。其中,竺兆江拥有传佳力10.21%的股份,位列第三。 图源:天眼查

因此,若以上述信息为基准进行推算,本次公司分红竺兆江个人将获得的分红金额超1.8亿元。

对此,一位上市公司研究员在接受蓝鲸新闻记者采访时表示,在传音控股分红案例中,与控股股东和实控人相比,中小股东所得比例相差甚远,这使得部分中小股东感到被边缘化。同时,这种分红模式也可能对市场信心产生一定的冲击。因为投资者们可能会对公司的公平性和可持续发展能力产生怀疑,从而影响公司的股价表现和市场声誉。

内外交困待破局

资料显示,传音控股主要从事以手机为核心的智能终端的设计、研发、生产、销售和品牌运营。公司产品则主要聚焦于海外,销售区域主要在非洲、南亚、东南亚、中东和拉美等全球新兴市场。

据IDC数据显示,2023年公司在全球手机市场的占有率为14%,在全球手机品牌厂商中排名第三,其中智能机在全球智能机市场的占有率为8.1%,排名第五。在非洲市场,公司更是被称为“非洲手机之王”。

如今,这位手机王者却面临着内外双重压力,未来发展之路亦充满不确定性。

从外部来看,高通的连续专利诉讼让传音控股备受压力。据了解,诉讼之专利涉及与“导航接收器”相关的技术。目前,该项专利在大多数UPC国家已被允许失效,但在德国、意大利、荷兰和法国等国家仍然有效。对此,传音控股回应称,将与高通继续谈判,并确定合理专利许可费。

实际上,上述情况已经是第二次出现。此前,高通曾在印度院对传音控股提起诉讼,指控其侵犯四项非标准基本专利。

有通信行业人士告诉记者,高通作为行业内的芯片巨头,其发起的专利诉讼无疑给传音控股带来了巨大的挑战。如果不能妥善处理这些诉讼,传音控股可能面临高额的赔偿以及产品在相关市场的禁售风险,这将对其海外业务造成严重打击。

从内部来看,公司也面临着一系列棘手的问题。

一方面,非洲市场占有率下滑成为其心头之痛。相关数据显示,2023年公司在非洲市场占有超40%。若拉长时间来看,其市占率呈现下滑趋势。2019年年报显示,公司在非洲市场的占有率高达52.5%。

另一方面,非洲市场业务营收增速也似有放缓迹象。财报显示,2020—2023年,公司来自非洲地区的营收分别为224.52亿元、242.38亿元、206.33亿元、220.63亿元,同比变动幅度分别为增长18.14%、7.96%、-14.88%、6.74%。

更为关键的是,传音控股研发实力或与同行企业也存在一定差距。截至2023年年底,传音控股专利数量达到3882项,其中发明专利为995项。同期,华为在全球共持有有效授权专利超过14万件,其中90%以上为发明专利,小米拥有的专利数已超过3.7万项。

值得注意的是,9月7日,公司元老之一肖永辉被丹东市监管部门采取留置措施,并立案调查。9月18日,传音控股发布公告称,公司财务负责人肖永辉的留置措施已被解除。

加载中...