新浪科技

苹果 Vision Pro 头显新专利获批:没有 Pencil 等手写笔,虚拟场景中作画也有卓越体验

IT之家

关注

IT之家 3 月 29 日消息,根据美国商标和专利局(USPTO)近日公示的清单,苹果公司获得了两项 Vision Pro 相关的技术专利,即便用户在没有 Apple Pencil 等手写笔工具的情况下,也能在虚拟场景中作画。

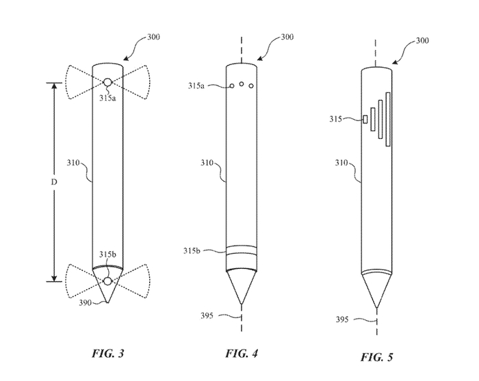
第一项专利名为《用于头戴式设备、基于触控笔的输入系统》,苹果公司正在研究使用触控笔与虚拟世界进行交互。

Apple Pencil 固然是天然的输入设备,不过该专利中还概述了带有光发射器(可能是红外线)的新设备,可以让头显跟踪设备的位置和方向,从而实现作画。

第二项专利名为《在计算机生成的现实环境中实现绘图的技术》,追踪用户手部,用户只需要做出握笔的动作,那么在 AR 场景下你就是握着一支虚拟的笔,然后可以在画板上作画。

IT之家附上专利图,其中一个示例是你想要给现实场景中的人物画上帽子以及在天空中画上小鸟,然后可以在 Vision Pro 等头显中实现。

《消息称苹果正测试新款 Apple Pencil,支持 Vision Pro 头显》

广告声明:文内含有的对外跳转链接(包括不限于超链接、二维码、口令等形式),用于传递更多信息,节省甄选时间,结果仅供参考,IT之家所有文章均包含本声明。

加载中...