新浪科技

iPhone 16 系列可能配备更大的电池

IT时代网

关注

苹果公司提交了一项新专利,表明他们可以在不增加尺寸的情况下增加电池的容量。最近,Android设备正在涌现出全新的快速充电技术和高电池容量,以至于现在电池容量超过5000 mAh已经很普遍了。苹果现在也试图在其手机中提供更大容量的电池。

苹果公司关于相同尺寸更大容量电池的新专利

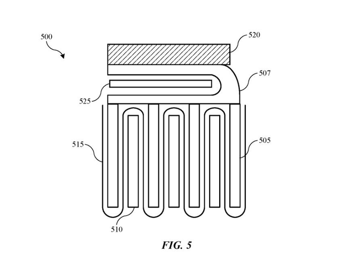
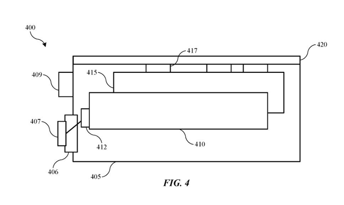
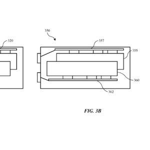
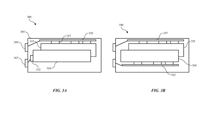
苹果的新专利名为“带有直角标签的电池单元”,表明苹果可以在不扩大电池尺寸的情况下增加新电池的容量。该专利于 2021 年 9 月首次提交,并于 2024 年 3 月 26 日公布。苹果一直在研究薄膜和可折叠电池组件等方法来延长电池寿命。

此外,苹果的新专利表明,未来iPhone的电池连接器可能与我们熟悉的电池类型不同,也不同于传统的电池类型。Apple 表示,实现高容量电池与电池中的标签位置有关。苹果对此的解释如下:

“虽然一组连接器可以包括从表面向第一方向延伸的凸片,但另一组连接器可能包括从基本垂直于第一方向的表面延伸的凸舌。这不仅可以解决空间限制的问题,还可以改善整个电池的电阻,从而提高电池的效率。

由于苹果刚刚发布了这项专利,因此在 iPhone 16 系列中拥有新的电池技术并不容易。但是,如果事情按照苹果的计划进行,那么配备大电池的 iPhone 可能不会太远。 Mac Observer 还指出,新电池可能会在 iPhone 16 系列中提供。

来源:IT时代网

加载中...