新浪科技

人均破千? 曾经辉煌的东田造型,开始官司缠身……

新浪科技

关注

文 | 新浪财经 张俊

昨天是农历二月二,民间有“二月二,龙抬头,娃娃大人要剃头”的谚语。

不过,去东田造型美发的消费者却遇到了糟糕的体验。一方面是价格过高,其北京门店均价消费动辄上千元,有消费者表示美发价格几年内水涨船高,“以前充值一千元可以剪头四五次,如今只能剪两次”;另一方面,东田造型如今官司缠身,一些门店撤店或者承包商更换,消费者面临着退卡退费无门的尴尬境地。

曾经的美发第一股,到底怎么了?

美发均价上千?

资料显示,东田造型由中国著名时尚造型师李东田在1999年创建,并发展为以发型设计、化妆造型、形象顾问、摄影制作、彩妆培训等核心业务为一体的造型及时尚传播、教育机构。

与一般的美发店不同,东田造型通过明星光环的加持,主打的是高端市场。

东田造型母公司东田时尚在2016年登陆新三板时公布的招股书显示,李东田作为公司实际控股人拥有公司29.65%的股份,吕燕、尚雯婕两位明星出现在员工持股平台上,间接持有东田时尚的股权。

另外,东田造型创始人李东田,也是经常在微博上晒出与明星们的合影,比如杨紫琼、赵露思、周扬青等等。

东田造型的价格有多贵?新浪财经在大众点评搜索东田造型在北京的门店发现,其大多数门店的人均消费在千元左右。比如国贸商城店为1010/人,丽都店为1025/人,金源燕莎店更是高达1416/人。

这也造就了东田造型的高盈利水平。

数据显示,2013年开始,东田造型的年营收水平便超过了2亿元。2016年,其营收达到2.7亿元,同比增长6.43%;净利润为4982.82万元,同比增长4.26%。

更夸张的是其毛利率水平。东田造型的收入分为四块,美发化妆、造型师经济管理、专业摄影以及运动健身。每个板块的毛利率均高达90%以上。

不过,价格高涨的情况下,却有不少消费者认为其服务水平在下降。比如国贸商城店,就有大众点评用户表示,造型非常一般,卷棒卷完还没有自己打理的好看;更有用户吐槽称,“服务态度很不好,这还是东田吗?剪的头发简直是最糟糕的一次!”

如今官司缠身

2016年1月,东田时尚正式登陆新三板挂牌交易,也成为了中国美发第一股。

不过,东田造型的辉煌并未能持续。

2018年6月,登陆新三板刚刚两年有余的东田时尚便宣布终止挂牌,结束了美发第一股的资本市场之旅。

也是从其退市开始,东田造型出现了一系列资金危机。

2020年,有媒体报道,地处北京三里屯时尚地标的东田造型门店传出了“副总裁撬锁”的尴尬戏码。该店承包人透露,从2018年开始计算,东田造型总公司拖欠了该门店超100万元的会员卡卡金,再加上疫情期间门店收入降低,一度不得不暂时停业。

新浪财经梳理发现,如今的东田造型已经债台高筑。

天眼查数据显示,东田时尚目前涉及的司法案件为67件,其中73.1%的案件身份为被告,70.1%的案件类型为执行案件,作为被告涉及的案件金额为5444.82万元。

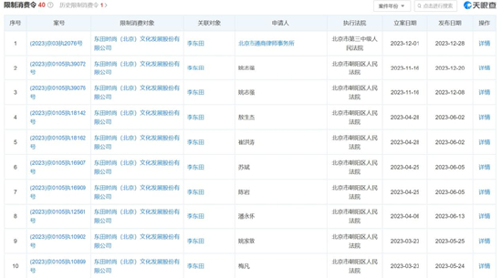
另外,与东田时尚、李东田相关的限制消费令高达40个。

与此同时,东田造型门店的口碑也在不断下降。

新浪财经在黑猫投诉上看到,有消费者反馈,她在东田造型门店充值了5000元会员卡,卡剩余余额为4328,未通知消费者的前提下,门店自行撤店,找不到负责人,所在商场表示也向他们发起了起诉,但也联系不到负责人。

“4000余额打水漂,这属于严重的欺诈消费者行为,望严肃处理,尽快退款!”

更有消费者表示,她在东田造型充值了15000元,后来门店承包商更换,造型师全部更换。在没有合适的造型师之下,她要求退卡退费,门店却称需要自行联系前老板,对于退卡退费一事一直推诿。

加载中...