新浪科技

苹果 Apple Watch 新专利:数字表冠仅能旋转一圈,改用光敏表面丰富交互体验

IT之家

关注

IT之家 2 月 21 日消息,根据美国商标和专利局(USPTO)近日公示的清单,苹果公司获得了一项 Apple Watch 相关的技术专利,在数字表冠上整合触控和光线传感器。

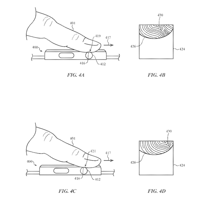
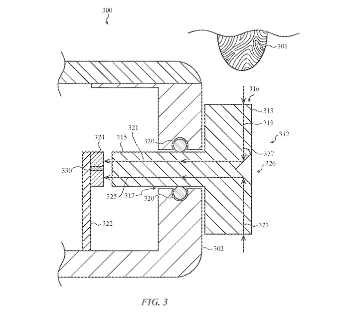
根据专利描述:“数字表冠配上光敏表面,基于和光敏表面接触的物体图像,引导传感器变化”。而且专利中表示数字表冠不会像现在这样可以自由旋转,而是会受到“旋转限制”,只能旋转一圈。

根据专利描述,苹果公司的这项专利就是通过记录用户手指的运动和速度,通过光敏表面实现更丰富的交互,而不再只是传统的旋转机械操作。

苹果在专利中表示,该数字表冠内置传感器,通过检测皮肤、拍摄用户手指的图像或检测光线变化来实现这一目的。IT之家附上专利草图如下:

广告声明:文内含有的对外跳转链接(包括不限于超链接、二维码、口令等形式),用于传递更多信息,节省甄选时间,结果仅供参考,IT之家所有文章均包含本声明。

加载中...