一碗“伤心凉粉”被诉商标侵权索赔8万,原告多年屡提同类诉讼遇“首败”
红星新闻
韩先生从事餐饮行业已经多年,几年前他在成都宽窄巷子开了一家小吃店,主营多款四川特色小吃。没想到的是,韩先生店里售卖的“伤心凉粉”让他在2022年4月成为了被告,并被索赔8.65万元。原告是“伤心凉粉”商标持有人林元美。
“没想他们直接注册了‘伤心凉粉’这个商标。”在韩先生看来,伤心凉粉如同回锅肉一样,仅仅是一道菜而已,他认为原告的诉讼有“碰瓷式维权”的嫌疑。
该案历时一年有余,在近日迎来终审判决。法院认为,韩先生对于“伤心凉粉”的售卖并非商标性使用,无攀附商标的故意,不构成商标侵权。
红星新闻记者采访获悉,该案之外,近年来原告曾提起多个同类诉讼,均胜诉获赔,该案是首个败诉案件。
▲宽窄巷子内商家售卖“伤心凉粉”
-收到诉讼-
小吃店卖“伤心凉粉”成被告
韩先生的小吃店位于窄巷子中段,人流量大。从店门进入,柜台上摆满了钵钵鸡、蛋烘糕、炸串儿等各类小吃。
韩先生回忆,法院传票是去年4月收到的,对方并没“打任何招呼”。拿到传票当天,他便将店内与“伤心凉粉”有关的元素全部取掉。后来他在法庭上才知,早在起诉前,对方就已到店进行了取证。
一审判决书记录,2022年4月8日,在公证员陪同下,原告到韩先生的店内进行证据保全,消费12元买了一碗凉粉。当时店门前的展示牌中写有“中华老字号”字样,并依次排列“钵钵鸡”“伤心凉粉”“韩包子”“蛋烘糕”“糖油果子”六块大小、颜色一致的标牌,店内展示牌中写有“伤心凉粉 12元”字样。
11月3日,红星新闻记者来到这家店招为“蜀趣小碗集”的店,门前“伤心凉粉”标牌已被取下,此前菜单中的“伤心凉粉”换为了“蜀趣黄凉粉”,全店已找不出“伤心”元素。
▲韩先生将“伤心凉粉”标牌取下,留下空白
记者粗略统计,仅宽窄巷子内就有十余家小吃店,在记者走访的7家店中,有6家售卖“伤心凉粉”,部分店铺标注有“老成都传统名小吃”“老成都名小吃”等字样,并将“伤心凉粉”打在了显眼位置。
▲宽窄巷子内商家售卖“伤心凉粉”并标注“老成都传统名小吃”
韩先生说,在收到传票前,他一直认为“伤心凉粉”仅是菜名,且在自己店内也只是一道菜,“像回锅肉一样。”在他看来,如果在菜名前加上某一前缀注册商标是可以的,“没想他们直接就把‘伤心凉粉’注册了商标”。他认为这是“碰瓷式维权”。
韩先生坦言,应诉最初心里是没底的,因为他查到,多年前对方曾以同样方式起诉了成都锦里一家小吃店,最终对方赔了2万元。但随着证据收集的深入,他开始对案件有了信心——他发现“伤心凉粉”并非对方独创,其历史最早可追溯至清光绪年间,在被商标注册前便已是闻名四川的特色传统小吃。
▲《安岳县志》记载的“伤心凉粉”
作为韩先生的代理律师,四川扩信律师事务所陈浩然律师介绍,经查询,早在1993年出版的《安岳县志》中就记载,“伤心凉粉”产生于清朝光绪三十二年(即1906年),由安岳县周礼乡孙炳之命名,距今已有百余年的历史。因凉粉的佐料麻辣味大,使顾客吃完后鼻涕眼泪直流,貌似伤心,故名“伤心凉粉”。同时,多个版本的《安岳年鉴》均记载,“伤心凉粉”起源于资阳市安岳县周礼镇。同时,“伤心凉粉”已作为“四川名小吃”“成都小吃”进行宣传推广,并入选《四川省农村生产生活遗产名录(第二批)》,其制作技艺入选《资阳市第五批非物质文化遗产代表性项目名录》。此外,大量报纸期刊、专业书籍、新闻报道、网络媒体、电视节目等均显示“伤心凉粉”为一道美食小吃或菜品名称。
陈浩然律师认为,从以上这些资料来看,“该商标的先天显著性弱、后天显著性已明显下降且有通用名称化的趋势。”
-法院判决-
非商标性使用,不构成商标侵权
成都中院对该案进行了一审审理。一审法院认为,原告并未对商标进行规范化使用,更多冠以“龙泉驿味道、特色小吃、十佳名小吃”等方式出现,由此可看出“伤心”标识与本身所宣传的小吃界限微妙,存在被淡化,被误认是菜品的可能。
法院认为,一方面,结合商标的显著性强弱区别,在划定使用边界时,既要保护商标权利人,也要维护公平竞争的市场秩序,被告并未在店面、店招中突出放大使用“伤心”文字内容作为店内餐饮来源指引,也未将“伤心凉粉”突出使用;另一方面,被告列举的大量证据证明,民众对“伤心凉粉”的理解为“吃起来很辣、辣得流泪”的小吃,而原告并无证据证明该商标经过其使用取得较高知名度,并为公众所熟知。被告对伤心凉粉的使用具有正当性,并非商标性使用,没有攀附商标的故意。最终一审法院驳回原告的全部诉讼请求。
▲“伤心凉粉”入选《四川省农村生产生活遗产名录(第二批)》
后原告不服提起上诉。
二审法院同样认为,该店对“伤心凉粉”字样的使用是非商标性使用,是与钵钵鸡、蛋烘糕等小吃并列,作为店内一道菜品进行展示。此外,四川省内地方县志、地方年鉴、地方政府部门,相关美食、烹饪专业工具书,报纸期刊、媒体等,均将伤心凉粉作为名小吃、名菜进行介绍宣传;餐饮经营者、普通消费者也将“伤心凉粉”定位为美食小吃;且原告所举示的证据也反映,其曾将“伤心凉粉”作为特色旅游商品参赛。此类种种都证明“伤心凉粉”是一道菜品名称。
最终,二审法院驳回上诉,维持原判。
-案件背后-
原告多次维权均胜诉,首次败诉
事实上,韩先生不是首个被告侵权的,该案也并非“伤心凉粉”商标持有者林元美第一次提起的诉讼,但却是第一次败诉。
记者从中国裁判文书网查询到,在此之前,原告林元美起诉的涉“伤心凉粉”商标侵权的诉讼有4件,集中于2013年、2014年,被告涉及四川、重庆,林元美一方均胜诉。
此外,在公开报道《“伤心凉粉”创始人告赢锦里小吃店》中提到,2011年,林元美一方状告崇州一家小吃店商标侵权,首诉获赔6万元;2013年再告锦里小吃店,同样胜诉获赔2万;同年,其状告重庆磁器口一凉粉店也获赔1.5万。
记者了解到,在锦里小吃店一案中,该店于2005年开业,以“乐山钵钵鸡”为店招,仅用“伤心凉粉”小价签标注了商品名称。但林元美一方认为,该店销售的“伤心凉粉”与其注册商标核定使用的服务及商品相同,且商业标示与其注册商标近似,容易使消费者混淆误认,认为构成侵权。最终法院判赔偿林元美2万元。
公开报道还提到,林元美一方从2012年开始与一家律师事务所合作,在全国范围内,对滥用“伤心凉粉”的商家进行打假维权。
为何同样的使用方式,2023年韩先生的店赢了,而2013年锦里小吃店却赔了2万?法院相关人士表示,法院判决依据当事人的举证,该案中,韩先生一方的举证非常有力,甚至举出了包括地方县志在内的一系列证据,并得到了采信。
陈浩然律师也表示,在此前判例中,被告方未能查找到充足且能够支撑其抗辩理由的证据,且大多都未进行法律上的有效抗辩,这直接影响法院对事实部分的判断,有的被告甚至直接认可了自己的侵权行为,可能是最终导致败诉的原因。
另据一位不愿具名的法官表示,国家的法律一直在不断补充,对后续社会发展中发生的新事物、新情况,国家也会出台一些《解释》进行完善。因此法院判案时会根据当时颁布的行政法律法规进行处理,“不会是一成不变的。”
-商标争议-
“伤心凉粉”商标申请历时8年,两次被“异议”
对于此次案件的判决结果,记者联系上“伤心凉粉”相关商标持有人林元美。
60多岁的林元美,在成都拥有7家门店。说起“伤心凉粉”的由来,她介绍,1999年她和丈夫进入成都洛带古镇,投入资金后遭遇亏损,因自家曾卖凉粉,为吸引顾客,她和丈夫便开始在当地卖起了凉粉。之后媒体大量报道,他们也在当地小有名气,许多参观、学习的人慕名而来,有经济头脑的她便在2003年申请注册了第一个以“伤心”为元素的文字商标。
林元美说,目前与“伤心”有关的商标她拥有40多个,如“古镇伤心凉粉”“洛带伤心凉粉”“伤心酱油”“伤心红油”等都进行了保护性注册,但目前常用的是“客家伤心凉粉”。她表示自家“伤心凉粉”和其他的“完全不一样”,使用的辣椒不同,也不是众人所说的“辣得伤心”,而是“把活儿做伤心、离乡背井的伤心。”对于1993年的《安岳县志》中就有“伤心凉粉”的记载,她表示自己在注册商标时“根本就不晓得这回事。”
对于是否是“碰瓷式”维权,林元美表示否认,“是从安全角度考虑。”之前曾出现过顾客吃其他家凉粉拉肚子,他们却被投诉的情况,维权也是“怕其他人打着‘伤心凉粉’的旗号卖不健康的食品”。她说,对于提醒后就撤掉标识的商家“就算了,打招呼不听的我们才起诉,我们不靠这个挣钱。”在起诉韩先生前,她表示也曾告知过,“但对方说我们老板不在。”
林元美说目前自己专心在做预包装,并未把维权放在第一位,当时给律师确认打假对象时曾明确:直接将“伤心凉粉”打进店招的商家要坚决取缔;其次是做得比较好的伤心凉粉商家,“按我们规范的来,你可以加盟,用我们的产品。”在此次二审结束后,她也询问韩先生一方是否愿意加盟,“对方笑了一下。”
至于未来是否会再维权?她表示,对于在店招使用其注册商标的商家,还将继续维权,而对于仅以菜名出现的,或不好再继续提起诉讼,“都像这样判了,我们再咋个打(官司)呢?”
林元美说自己每年花在商标维护上的钱都不少,“有专门团队跟踪。”她一再强调,维权并不是要打压其他商家,“可以争取做得好的加盟。”记者在韩先生一案一审判决书中看到,近年来,林元美一方曾对他人申请的“伤心鱼SHANG XIN YU”“王婆伤心粉”“美子伤心凉皮”“周礼伤心”等商标提出异议,最终以上商标被商标评审委员会不予核准注册或宣告无效。
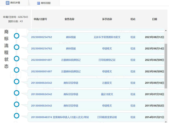
记者通过“中国商标网”查询到,林元美在第一次申请43类“伤心凉粉”带图案商标时曾经历诸多波折,她于2007年首次申请,2010年被商标局驳回,后其申请复审,之后在2013年、2015年进行初审公告时,该商标又被他人提了异议,直至2015年9月,她才成功拿到商标证书。
▲伤心凉粉商标被申请异议
从事知识产权保护的律师黄先生认为,从该商标的申请过程来看,商标局的驳回以及他人提异议表明“伤心凉粉”是否适合作为商标仍存在争议。商标注册从业人员熊女士分析,林元美注册商标的时间较早,但随着《商标法》越来越完善,审核力度越来越大,“以前能注册的,现在未必能注册成功。”
红星新闻记者 章玲 摄影报道
编辑 成序