星河地产董事长黄楚龙曾坚持不上市 如今公司负债情况不多见
运营商财经网
运营商财经网 /实习生陈静
在深圳地产界,有一位老板甚是低调,很少接受媒体采访,可以说是地产界的“隐形富豪”,他的名字叫黄楚龙。如今星河地产怎样呢?
接下来, 运营商财经网试图对黄楚龙及星河地产的负债情况进行揭秘。
首先,大家要明白的是,星河地产不是星河湾地产,两者不仅公司名字像,连创始人的姓氏都一样,星河地产的创始人是黄楚龙,星河湾地产的创始人是黄文仔,两人都是广东人,但一个是广州番禺人,一个是广东普宁人。两人的履历也有点像,都是没念过全日制大学,在社会上混出来的。
黄楚龙出生于1959年,今年64岁,籍贯是广东普宁东埔村。
1979年,为了养家,20岁的黄楚龙只身一人来到深圳,在工地做泥瓦匠。
黄楚龙善于交际,做了几年泥瓦匠后,他带了一帮兄弟出来单干,从泥瓦匠变身为包工头。靠着朋友介绍,拿下深圳第一大道建筑工程,并赚到了人生中的第一桶金。
1988年,黄楚龙成立了深圳市怡和企业公司,也就是如今星河控股的前身。
值得注意的是,公司的主管单位填的是深圳市福田区沙头街道办事处,可见黄楚龙很早就善于借力运作商业。他旗下投资开办的“怡和商场”、“鸿运楼餐厅”、“万云商场”等商贸企业,做得风生水起。
1994年,黄楚龙将企业更名为“新怡和”,开始进军房地产。黄楚龙不喜欢跟别人合作,他大部分的项目都是独立开发的,随着怡和山庄、祥和花园等十多个地产项目依次做下来,总建筑面积超过60万平方米。
1998年,“房改”政策出台,成为中国房产史上的转折之年。“福利分房时代”悄然落幕,“商品房时代”正式降临。
这一年,新怡和的“三明珠”系列产品——星河明居、星河雅居、星河华居横空出世,获得业界一致好评,销售十分火爆。
“三明珠”的成功和房改政策的出台,让黄楚龙对地产行业极其看好,他决定深耕这一行。
1999年,黄楚龙将公司改名为“星河地产”。随后,他开发了一系列星河项目,真正让黄楚龙成为深圳顶级房地产商人的是他在2006年开发的星河丹堤。
2006年,星河丹堤开盘,109套别墅卖出9亿元。这让业界叹为观止,也为市场注入了一针强心剂。星河丹堤不但入选当年“深圳十大明星楼盘”,入住其中更成为富豪的象征。
星河丹堤一战成名后,星河一举树立了“高端楼盘开发商”的形象,黄楚龙也真正踏入深圳顶级开发商行列。
地产开发,主要讲求“高杠杆、高周转、强扩张”的跑马圈地策略,但星河地产的打法却截然不同,它完全靠自有资金。黄楚龙不爱借钱的名声,也从此传播开来。
因为公司用的都是自有资金,黄楚龙每次投资都要保证有利可图,所以他的地块更多地聚焦在核心地段、黄金位置。“星河所到,必定中心”的说法,也由此而来。
巧合的是,黄楚龙每次拿地,都是在土地价格暴涨前,眼光可以说非常独到。
在深圳站稳脚跟之后,黄楚龙又陆续进入了全国市场。经过35年的发展,星河控股逐步形成了以产业、地产、商业、资本、金融、物业六大板块为核心的综合性集团企业。
2020年,黄楚龙以390亿元财富,跻身全球房地产富豪榜,成为深圳最大的房地产商。
还有一点在地产圈广为流传的是:黄楚龙长期坚持不上市、坚持不借债。这在地产界可谓是极为少见的。
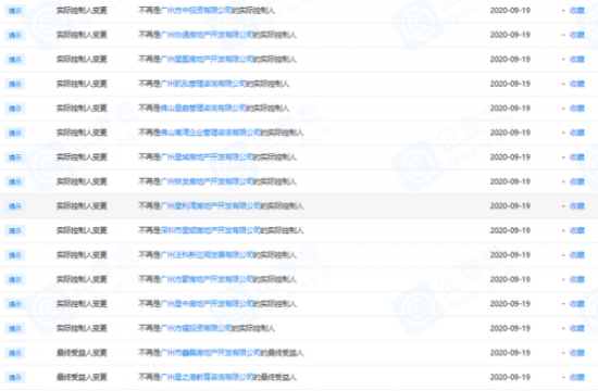
然而,运营商财经网注意到,2020年,黄楚龙频频退出旗下公司实际控制人和最终受益人的序列。光是9月19日,他就一口气退出14家子公司实际控制人序列,同时退出2家子公司最终受益人。
据传,密集退出子公司实际控制人或者最终受益人,有可能是要将这些子公司从原有体系内剥离或者重新整合,这或许是在为地产板块上市作资产梳理。
有文章称,星河地产的发债主体星河实业(深圳)有限公司截至2021年3月底的负债总额也仅为255.84亿元,全部债务合计175.24亿元,资产负债率、全部债务资本化率和长期债务资本化率分别为55.48%、46.05%及44.01%。
据联合资信发布的星河地产2022年跟踪评级报告,过去三年,星河地产资产负债率保持在55%—57%的水平,负债保持健康。
房地产企业负债突破三根红线的很多,但看来星河地产不会像星河湾地产那样被负债问题弄得焦头烂额。运营商财经网将持续关注。