泉阳泉副总王作臣硕士学历年薪才19.21万?公司两名股东近期套现1402.05万
运营商财经网
运营商财经网 实习生易鑫/文
泉阳泉作为最早从事长白山天然矿泉水开发的本土龙头企业,相信不少人都喝过他家的水,但很少有消费者关注到它其实在2017年就被收购,并且因为它优秀的业绩贡献,让母公司吉林森工甘愿为它更名的事。
吉林森工现如今全称为吉林泉阳泉股份有限公司,运营商财经就试图揭秘一下公司的副总经理王作臣的过往。
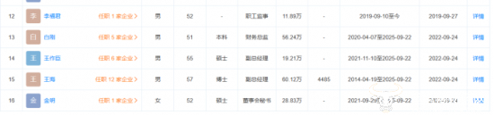
据公开资料显示,王作臣是硕士学历,还是一位高级经济师。但奇怪的是,有关他的年龄,以及具体的毕业院校和毕业时间官方都没有披露,官方也未公开其早期工作经历。能够知道的是,他在吉林森工工作的经历。
他进入公司后,历任吉林森工集团泉阳泉饮品有限公司的董事会秘书、副总经理;北京森工食品有限责任公司董事长兼总经理;吉林森工集团泉阳泉饮品有限公司董事、董事长;吉林森工森林特色食品有限公司董事长;吉林省吉森丰华矿业集团有限公司监事会主席,以及吉林省自然王国健康食品有限公司董事长。
2021年11月10日,泉阳泉发布公告称,聘任王作臣为公司的副总经理。
据天眼查显示,王作臣2022的薪酬才仅仅19.21万元,远不及公司另一位副总经理王海的薪酬,两人的薪酬差了近41万元,为何王作臣的薪酬会这么低?运营商财经也不知道这个问题的答案。
事实上,吉林森工在更名前全称为吉林森林工业股份有限公司,其曾经的主营业务是森林培育和林木采伐。而在2017年,吉林森工通过定增收购泉阳泉75.45%股权后,矿泉水也成为其主业。
2020年半年报显示,截至2020年6月30日,吉林森工集团泉阳泉饮品有限公司半年度净利润为3066.57万元,对母公司净利润贡献2454.79万元,而上半年吉林森工的净利润为5479.75万元,子公司中,泉阳泉贡献比例最高。
由于泉阳泉出色的业绩贡献,泉阳泉占吉林森工的业务比重越来越高,吉林森工也因此作出更名决定,而为了体现公司所属行业和实际经营业务的特性,公司董事会决定将证券简称由“吉林森工”变更为“泉阳泉”。
值得注意的是,7月10日,泉阳泉发布公告称,公司股东赵志华、陈爱莉以集中竞价交易方式减持公司股份219.36万股,本次减持价格区间为6.28到7.28元每股,套现合计1402.05万元。
未来泉阳泉将如何发展?运营商财经将持续关注。

举报成功