新浪科技

新消费观察 | 头部品牌加码自研智能设备 新茶饮掀起“工业革命”

封面新闻

关注

封面新闻记者 欧阳宏宇

又一家新茶饮巨头进入“机械时代”。

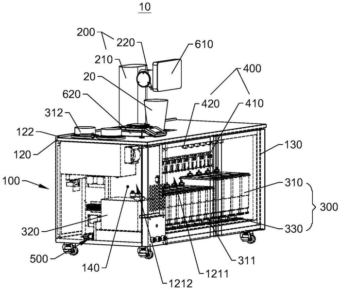
近期,有消费者发现喜茶门店出现多款智能设备。对此,7月4日,喜茶表示,通过全栈自研,从2022年初开始逐步在门店推出了三大类全套茶饮智能设备,覆盖门店原料制备、原料管理、调饮制茶等全流程应用场景。

喜茶智能出茶机申请专利的说明书附图

据介绍,智能设备的应用大幅提升了门店效率。其中,门店鲜果制备效率提升最高达15倍,一筐青提人工去皮需要15分钟,自动去皮机只需1分钟。智能出茶机最快4秒能完成一杯饮品的液体原料添加,智能称使得部分产品售罄率降低50%。目前,喜茶已为此申请了70余项相关技术专利。

喜茶店员使用自动去皮机制备青提鲜果

以自动化机器替代人工,反映的是新茶饮品牌通过标准化、规模化要边际效益;而喜茶也并不是第一家。

早在一年前,奈雪的茶就推出过自动奶茶机,通过该设备几十秒就能完成出餐,单人制茶提效40%。蜜雪冰城也在去年3月成立雪王星际科技有限公司,注册资本5000万人民币,其公司经营范围内就包括智能机器人研发。更早之前,作为无人奶茶店的上海本土品牌茶里小怪兽就以机器人臂制茶名噪一时;2019年,快乐柠檬也曾试水机器制作;去年3月,谢谢茶宣布用智能奶茶站模式投放线下市场。

在饮料领域,机器赋能人工,茶饮也不是先行者。取代机械化、重复性的人工活动,咖啡机走在更前面,如星巴克、瑞幸等品牌就有过人工智能咖啡机的试水。

咖啡品牌采用的全自动咖啡机

沙利文发布的《中国新茶饮供应链白皮书》显示,虽然有部分茶饮品牌自研了智能设备,但只停留在单点环节。所以,在果茶流行的时代,“豆浆机”式的设备已不能完全满足门店要求;而打造符合自身产品生产场景的机器,更能够反映出品牌的技术底蕴。

从人工到机器的转型,要么是一开始就决定扎根于智能化的品牌,或者是已穿透了多个消费层级,明白通过供求关系来调整价格的头部品牌。因为只有它们才能把劳动密集型的茶饮,做成技术密集型,进而实现规模经济。其结果就像是,工业革命对传统手工艺的冲击。

不过,机械化也并非完全之策,就像是总有食客会认为再贵的预制菜,也没有苍蝇馆子里炒出的家常菜有锅气。毕竟,要凭着新口味、新品类立足新消费市场的新式茶饮,也会因机器生产的单一化而被效率“反噬”。而这是进入智能化时代的茶饮品牌们,下一步需要解决的问题。

加载中...