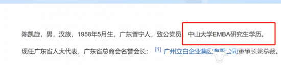
立白董事长陈凯旋“EMBA研究生学历”描述不准 有研究生毕业证?
运营商财经网
运营商财经网 朱欣雨/文
近期,潮汕立白家族“二代”们备受关注,先是陈丹娜首次投资食品饮料项目“有丛气”,后陈泽滨带领立白科技集团参展第十八届中博会。运营商财经网也关注到这些事件,同时聚焦于其父陈凯旋,并试图揭秘其过往经历。
据天眼查资料显示,陈凯旋出生于1958年,今年65岁。有关他的学历,百度百科等平台显示他是中山大学EMBA研究生学历,但其本科院校、毕业时间等信息在网上还未披露,运营商财经网对此也未可知。
而且,“中山大学EMBA研究生学历”这个描述不准,实际上2017年以前的EMBA只有硕士学位,没有研究生学历。
根据国家教育部的相关规定,2017年以后EMBA纳入全国统一入学考试,之后的EMBA既有研究生毕业证,也有硕士学位,但之前的EMBA都没参加过全国统一入学考试,都只有硕士学位,但没有研究生毕业证。也就是说,之前是什么学历,那还是什么学历。
而且,陈凯旋的全日制第一学历是什么呢?
1975年,高中刚毕业的陈凯旋跟随他大哥去广州打工,干了三年后,他开始走上了创业之路。1979年,他在老家普宁开了一家百货商店,先是卖一些针头线脑之类的小玩意,后来又转卖皮鞋,彼时他才21岁。
1987年,陈凯旋转战日化领域,在家乡开了一家生产洗衣粉的工厂,生产销售洗衣粉。1991年,他在普宁成立立白公司,委托广东省洗涤用品厂贴牌生产“立白”洗衣粉,并于1994年成立广州市立白洗涤用品有限公司,时任总经理。1998年,他正式创办广州立白企业集团有限公司并任董事长、总裁,之后,他便带领立白逐渐发展壮大起来。
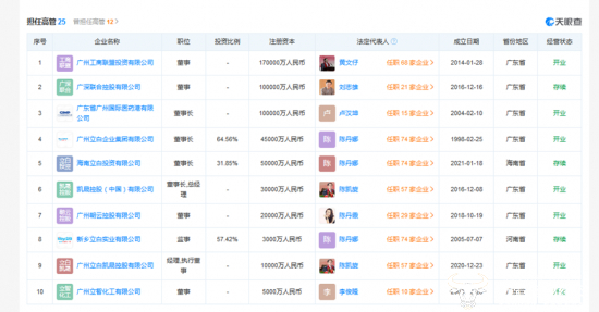
如今,他担任本集团董事长及旗下多个子公司董事长、总经理等职务,同时也任广东省日化商会主席、中国日用杂品工业协会副理事长等职务。
陈凯旋的事业非常成功,2022年,以35亿美元财富位列《2022年福布斯全球亿万富豪榜》第851位。另外,根据《2023胡润全球富豪榜》,陈凯旋以310亿人民币财富位列榜单第668位。
立白这一国产品牌将如何发展?运营商财经网会进行持续关注。