新浪科技

丰田要给纯电车装手动挡!我看它是真急了

快科技官方

关注

感觉,丰田对电车的理解,多少是有点问题。

基本上他们每一次公布和电车有关的专利或者设计,都会被大伙当成笑话来看。

就比如,新势力电车上常见的对外放电功能,在丰田的车上是这个画风的:

想在车外用电?easy ,只需要从车里接一个插线板出来就好了呢!

别说,我上大学的时候给小电驴充电,就是从宿舍里飞一个插线板到楼下,就是突出一个朴素的违规。

给充电口做一个对外放电功能很难吗喂!

再比如,丰田自家的电车 “ 验证码 ” bz4x 因为续航不太理想所以老被吐槽,因此他们前一阵针对这个问题搞了一次OTA 更新。

你以为内容是通过 BMS 策略的调整优化充放电逻辑?不。

是把每天两次的快充限制提升到四次!

掉电快?多充就完事了!好一个解除封印,快充次数增加会影响电池寿命是只字未提啊。

还有这个需要花两万选装的太阳能充电板,一年算下来,竟然能省三百多块的电费呢!

也就是说你得开上51 年才能把选装的钱省回来,真就 “ 一车传三代,人走车还在 ” 呗。

就在最近,丰田为了让他们的混动车型开着更有乐趣,甚至搞出了个混动车型的手动变速箱。

原理呢,就是往自家的 THS 混动里加了个手挡的离合器,不仅可以切断发动机的动力传输,还能绕过电控,让驾驶员控制车辆的动力输出。

用上这玩意以后,大概率会让混动车型变得不那么省油。

因为混动省油,靠的是让发动机的转速保持在效率最高的区间。这事要让驾驶员自己定,效率肯定没有电控来得高。

所以说白了,这个混动手波就是牺牲了效率,换来了乐趣。

不过仔细想想,这玩意也不算特别离谱。

毕竟像是 GR 雅力士和 GR86 上的手挡,也是公认的顶级手感。

混动版本会有什么样的体验,我还真挺期待。

相比之下,给电车做手动挡这件事,就显得有些抽象了。

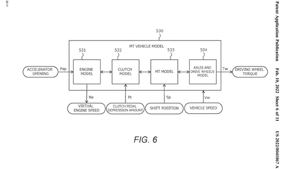
因为电车的一大特点,就是 tm 不需要变速箱也能输出峰值扭矩,可丰田在去年早些时候,愣是整了个给纯电动车装手动变速箱的专利。

和混动版本不一样的是,纯电版本并没有离合器的结构,只是通过电信号模拟出几个档位。

说白了,这个专利就和电子表还得用旋钮调虚拟指针一样,

纯纯就是图一乐。

这还不是槽点最多的部分。为了让这个手动挡用起来真像个真家伙,丰田还想出了一系列放眼整个车圈都极其炸裂的点子。

就比如,油车上的手动变速箱,本质上就是通过不同的档位在有动力和跑得快之间做选择。

档位越高,在相同转速下车子就跑得越快,但力气越小。反之亦然。

电机则不太一样,只要电压给足,它从一开始就可以输出最高的扭矩。

当车速越来越快,在达到某个临界值后,扭矩会慢慢下降。也就是前一段时间里贼有力,而后突然就泄了。

这也是电车加速巨快但后劲不足的最大原因。

乍一看,这功率曲线和手动挡八竿子打不着,所以在电机上硬加手挡肯定是行不通的。

于是,丰田就想出了一个鬼点子,那就是通过控制电机的输入电压来控制电机的扭矩,模拟出手挡的感觉。

也就是故意不让电机达到最大扭矩,像这样:

你别说,确实和手动挡的曲线非常像啊。

动力怎么输出的问题解决了,那手挡的另一个灵魂:离合踏板要咋办呢?

丰田的鬼才工程师此时再次上线,直接透过现象看到了本质。

咱是不是在踩下离合踏板的时候踩油门车也不会走,那就是相当于踩离合 = 车子没动力。

既然是这样,就只要做一个假离合踏板,然后在踩它的时候,让电机没有动力好了!

只有在踩下假离合、完成换挡、抬起假离合以后,电机才会在不同档位的扭矩范围内工作。

这脑回路,直接给我干沉默了。

绝,真的绝。

不过,虽说想法非常 genius ,但我问了一圈身边的手挡车主,他们似乎都对这玩意不太感冒。其中一个老哥是这么说的:

 “ 手波迷人的前提,是能闻着汽油味。 ” 

想想也是,当我们在山上开着手挡车开心过弯时,最让人享受的部分其实不是换挡本身,而是能听见爱车的发动机在每个档位下不同的声音,能感受每一次换挡顿挫以后性能的变化,甚至像降档补油这种小动作,都充满了乐趣

说白了,开手动挡车,是一种能够感受到爱车完全受到自己控制的、多感官的愉悦。

可电车手波呢,除了有换挡的动作,别的都没法实现。甚至每次换挡,还得限制电机的功率。

而手挡最初,就是为了最大化发动机出力才诞生的,简单粗暴的给电车加上手波,不仅有种只学到表面的可笑,更有种舍本逐末的别扭感。

所以,想让油车的乐趣延续固然是好事,但当电车党、油车党和手波党看了都沉默以后,我建议电车手波这玩意,丰田还是再研究研究吧。

看完这么多骚操作,我觉得,丰田对电车的理解,好像是一种两眼一摸瞎,啥都乱搞的状态。

可按理来说,丰田可是能够做出LFA 、 LC500h 这种顶级汽车的传统豪门啊,怎么就在电车这件事情上,看得还没有国内大部分新势力品牌清楚呢?

我觉得主要原因,是丰田真的急了,急到只能用这些怪诞的设计来博人眼球了。

丰田为啥要急?

原因之一,是他从一开始就赌错了。

一开始,丰田对新能源汽车的押宝是氢燃料电池,并想借着自己起步早的优势成为领头羊。有一说一,他们在这方面也确实牛逼,牛逼到已经有 Mirai 这样的量产车型落地。

但可惜,因为发展氢燃料需要的基建成本太高,且车辆的碰撞安全性较低,除了霓虹以外,其他国家都选择了锂离子电池作为发展方向,供应链也都是朝着这个路线发展。

这时候的丰田,就和在高速路上逆行差不多了。就算后来反应过来想和大家一块做锂电车,可最后出来的成果大家也都能看见,简直就是临时抱佛脚,临时抱佛脚。

可让丰田更急的,是他们的电车被自家的油车拖了后腿。而这,也是大部分油车巨人正在面临的问题。

在电车发展以前,油车内卷到最后其实拼的就是谁能用更小的排量做出更高的性能,也就是在卷热效率和经济性。但在电车铺开以后,一夜之间就有无数性能贼强但能耗贼低的车型出现,油车卷了好几年的瓶颈,一下就被突破了。

10-20 万价位的家用车,直接就是一个变天。巧的是,丰田的主战场也在这。

这时候,那些油车底子薄的自主品牌和新势力们,很容易就能重新起号主攻电车。但像丰田这样的油车巨头,如果猛的一下推出啥啥都比油车好的电车,那就相当于是把自己经营了数十年的油车帝国推向了生死边缘。

所以不只是丰田,像 BBA 等车企,对待电车的产品线,无论是造型、性能还是价格,都会刻意和油车保持一定的相似性。不信大家可以去看看各家媒体对他们有车的测评,最多的评价就是,

开着很有油车的感觉。

所以说到底,他们就是想逃避电车领域的直接竞争。

然而现在已经有迹象表明,这只是没啥作用的缓兵之计罢了。因为在去年全球卖的最好的汽车里,头几名中已经出现了特斯拉的身影。结合前一阵南北大众的国内销量首次被比亚迪超过,那些看似不可一世的油车巨人们,

现在已经站的不太稳了。而留给他们的时间,大概率也确实不多了。

所以,听我一句劝。放弃昔日的荣光,放弃用油改电偷换概念,用壮士断腕的决心和新势力们好好打一仗。

不然,以后可能就只能在电车手波这种乐子专利的新闻里,看见你们的身影了。

责任编辑:上方文Q

加载中...