新浪科技

涉诉被冻结20万股权?汪小菲成被执行人,麻六记张兰添新烦恼

时代财经

关注

汪小菲的新麻烦

一则执行信息,让汪小菲再度成为关注焦点。

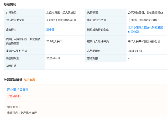
天眼查显示,近日,北京小汪麻六记文化科技发展有限公司新增股权冻结信息,被执行人为汪小菲,冻结股权数额为20万人民币,冻结期限自2023年4月18日至2026年4月17日,执行法院为北京市第三中级人民法院。

根据注册信息,北京小汪麻六记文化科技发展有限公司成立于2009年2月,注册资本100万人民币,主要从事科技推广和应用服务业,由法定代表人、实控人秦乐天持股40%,汪玺、汪小菲分别持股40%、20%。

屡上热搜的汪小菲,此番为何遭遇股权冻结?

5月9日,时代周报记者致电北京小汪麻六记文化科技发展有限公司天眼查关联电话,未获回复。

同日,广东君田律师事务所合伙人黄志明对时代周报记者表示,被冻结股权一般是出于两种情况。第一种是被告遭到起诉,起诉方申请了财产保全,这种情况下,只要起诉方向法院提出申请,并提供担保,法院就会对被告的相应财产进行冻结;另一种情况,则是打完官司后,胜诉方对败诉方的财产申请执行时,法院进行强制执行的措施之一。

黄志明进一步指出,考虑到目前披露的信息中,执行通知书文号中带着“财保”字样,因此,汪小菲应该属于第一种情况,“大概率是因为涉诉被冻结了股权,但涉诉原因与诉讼结果都不能确定。”

此事或只是汪小菲烦恼的冰山一角,近期,作为其事业支柱的新中式川菜品牌麻六记陷入纠纷。

5月7日与5月8日,曾以张兰助播身份出现在麻六记直播间的主播孟贺,在个人账号连续发布了三条视频,并在视频中公布了张兰麻六记无端撕毁合同导致自己损失500万元、自己被强制收回直播间、以及麻六记为赖掉1000万欠款将自己拉黑等信息。5月5日,孟贺在微博表示,关于张兰和麻六记拖欠自己超1000万元的事情,已成功立案。

孟贺微博

孟贺的账号介绍是“麻六记0—204万粉丝操盘手”。3月时,孟贺称自己的团队和张兰、汪小菲以及某餐饮品牌只是合作关系,因为合同问题,双方于3月15日终止合作。同时,孟贺还在评论区表示,自己离职“不是带走6个人,是二十多个人”。

3月28日,孟贺用其个人账号开播表示,张兰拖欠自己九十多万元的工资还没发。同时,孟贺还在直播中表示,自己有对账信息,并就欠薪问题反复提了很多次。同时,孟贺还展示了他和汪小菲的微信聊天界面,该界面显示汪小菲已经将他拉黑。

对于孟贺方面的爆料,3月29日,麻六记则在其官方抖音账号称对方散布不实消息,并表示在合作一年多的期间里,麻六记支付孟贺直播运营团队一千多万元佣金。

孟贺近日于直播账号上接连发布了与麻六记的纠纷相关内容

按照麻六记的说法,由于孟贺直播运营团队在麻六记直播间私自售卖其他品牌产品,经多次警告后继续违约。为此,孟贺书写检讨书以承认此事实并保证不再犯此错误。麻六记根据合同规定把其团队负责的麻六记官方旗舰店更换为麻六记生鲜旗舰店继续合作,对方却选择了离开麻六记直播间。

与曾经合作的主播传出欠款纠纷,对倚重线上收入的麻六记无疑会带来影响。

2022年11月,由于汪小菲的离婚纠葛,麻六记的酸辣粉在直播间爆红,创下了3天接近6000万元的销售额。而根据汪小菲在中国商业地产行业发展论坛上公布的数据,截至今年3月16日,麻六记仅酸辣粉这一单品自2022年3月以来,累计销售就达到370万盒,单品月销售额为2622万元。另据媒体报道,汪小菲曾表示,麻六记的线上业务营收约为线下门店营收的3~5倍。

不过,麻六记也在快速拓张线下门店规模。

今年2月22日,汪小菲在2023北京商业品牌大会上透露,麻六记今年将陆续在北京、上海、成都、济南、青岛、郑州、广州、深圳等地开设门店,其中5个地区均为首店。同时,他表示,麻六记并不会以门店数量为发展目标,而是更加注重门店的体验,目前更多是在一线城市布局,具体数量将会根据当地市场而定。

加载中...