低端化难去、门店压力增,爱玛难过两重关
DoNews
撰文 | 曹双涛
编辑 | 杨博丞
题图 | IC Photo
日前,爱玛发布了2023年一季度业绩预告。公告显示,今年一季度归属于上市公司股东的净利润和归属于上市公司股东的扣除非经常性损益的净利润分别为47,775万元和46,873万元,分别同比增长50%和45%。
事实上,爱玛一季度业绩大增的背后,实则是由多方因素共同推动的结果。从国际市场来看,为加速本国能源结构转型的步伐,全球多国纷纷“油换电”的利好政策。
印尼政府此前曾宣布,2023年将向25万辆电动摩托车的购买者发放每辆700万印尼盾(约3200元人民币)的补贴,其中20万辆为新购置的电动摩托车、5万辆为传统燃油摩托车改装为电动摩托车,而获得政府补贴的电动摩托车必须是在印尼生产、国产零部件比例应在40%以上。印度则宣布将电动两轮车税率从12%降至5%。爱玛作为国内两轮电动车出海较早的企业之一,自然能享受到政策红利。
图源:中信证券研究部
从国内市场来看,一方面,来自安徽省合肥市的消费者王帅(化名)告诉DoNews,今年春节期间自己原本是打算购置一辆燃油车,但疫情三年重创了自己的收入,即使购置一辆落地十几万的燃油车,每个月的车贷也让自己不得不慎重考虑。基于此,自己干脆购置了一辆两轮电动车,毕竟后续不用为了每个月的车贷而发愁。
事实上,王帅从原本汽车消费转向为两轮电动车消费的背后,正是当下国内不少普通民众的真实写照。虽然在刚刚过去的3月,地方政府和车企共同推动下,汽车行业掀起了一轮价格战,但整体销量相较于2021年、2022年同期,均出现不同程度的下滑。
汽车销量不及预期的背后,固然汽车行业的价格战存在各种套路有关,但这也能从侧面说明当前普通民众安全心态的失衡仍未能得到很好扭转。
数据来源:乘联会
另一方面,受制于大基建回暖程度不及预期,出口业订单流失等因素,国内失业率有所攀升,许多失业人员迫于生计,也纷纷加入到外卖骑手大军中。此前网络平台流传了一张“广州骑手都招满了,需要送钱托关系才能当骑手”的聊天截图,引发社会热议。
然而在爱玛业绩大增的背后,仍有多重问题待解。这些问题的存在,也让爱玛能否继续保持后续业绩的高增长,充满了太多的不确定性因素。
01.低端化标签难撕?
爱玛作为国内较早进入两轮电动车的品牌,长期以来不管是旗下的两轮电动车还是电动车摩托车其ASP价格一直在2500元以下。虽说在过去的几年时间中,爱玛也不断发力高端品牌。以爱玛造梦师为例,该款产品的最高时速可达到88KM/h,并配置72V/21.8Ah铅酸电池,支持NFC等无钥匙解锁,电商平台售价在6999元以上。
图源:爱玛公告
但从目前的情况来看,爱玛高端产品销量却极其惨淡。在京东爱玛官方旗舰店中,2000元以下低端车型评论量在上千条。但在4000元以上的车型中,评论量却不到20条。评论数量差距的背后,也能侧面说明销量上的反差。
图源:京东
虽然目前线下品牌旗舰店/专卖店,以及线下电动车车行是消费者购买两轮电动车的主要渠道,但来自山东省聊城市的爱玛经销商李伟(化名)告诉我们,同行在交流中发现很多消费者前来爱玛店选择的车型90%都在3000元以上,很少会有顾客购买爱玛的高端车型。因此,很多经销商门店的爱玛高端车都是在吃土。
图源:艾瑞咨询
如李伟说言,据艾瑞咨询发布的相关数据显示,爱玛在4000元-4999元车型销量不及雅迪,5000元以上车型已被九号、小牛电动车完全反超,7000元车型的市场份额更是仅有0.1%。
图源:艾瑞咨询
对于爱玛高端车型难以卖动的原因,李伟也接着表示,虽然店内销售人员会给到店的顾客介绍爱玛高端车型有多少卖点,但很多消费者却直言,你们爱玛电动车怎么越卖越贵啊,以前不都是一两千的吗?显然,他们很难接受爱玛的这一价格。
消费者之所以难以接受爱玛的高端产品,其原因在于:参考诸多行业的经验来看,一个行业内的低端产品往往意味着市场进入门槛相对较低。又加之,在过去的几十年内,诸多行业的产业链已经形成,产品同质化必然极其严重。在这样的一个市场中,“以价换量”、“重销售、轻研发”往往是这些企业的通病。
以爱玛为例,自2009年爱玛以3000万的价格签约周杰伦后,目前爱玛和周董已走过13年。2019年爱玛签约好莱坞明星、《速度与激情》主演范·迪塞尔为代言人。
签约顶流代言人加之其他营销费用的开支,也让爱玛在2019年到2021年的销售费用分别为4.28亿元、3.99亿元和5.51亿元,占同期营收比例分别为4.11%、3.09%和3.58%。而在2022年上半年时的销售费用则增加至2.74亿元,同比增加13.34%。
虽说爱玛的销售费用和营业收入占比低于雅迪和新日,但由于在过去的很多年间爱玛一直沉迷于价格战,消费者对爱玛的品牌形象已经初步形成,并且巨额营销费用又在强化这一认知。如此一来,消费者也就养成了爱玛等于中低端电动车的品牌心智,并且这种心智很难被改变,品牌也难以撕掉这一标签。
图源:各公司财报
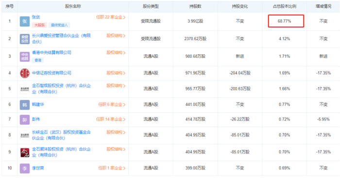
另据天眼查显示,爱玛科技创始人张剑目前在爱玛科技中持股比例高达68.77%,这种股权高度集中的问题也让爱玛后续想要深入布局高端品牌面临着更大的压力。
图源:天眼查
一方面,家族企业掌权者如何达到家族利益和集团利益的相对平衡,是家族企业必须要直面的问题。而爱玛所聚焦的中低端电动车,其毛利率一直维持在15%以下,和九号公司所专注的高端电动车毛利率有一定差距,并且随着后续国内外电动车行业竞争激烈,市场环境改变,不排除爱玛毛利率仍有继续下降的可能。
图源:wind
同时,高端两轮电动车本身就需要企业投入巨额的研发费用和人员,消费者才会为产品的高溢价而买单。一边是公司利润下降,一边是高端产品短期内销量惨淡,研发费用又在蚕食公司利润,那么此时张剑在家族利益和公司利益又会如何抉择呢?是否会出现为保证家族利益,而减少高端产品的研发投入,甚至直接砍掉这一业务线呢?
另一方面,张剑本人持股过高,从另一切面来看就是张剑在爱玛的日常管理上并不放权。但高端电动车的消费人群有一部分为年轻人,而现年54岁的张剑又是否能够真正洞察出年轻人的喜好呢?若是后续张剑对于爱玛高端产品的战略规划失误,这将会导致爱玛的高端之路更加坎坷。
02.经销商利益如何平衡?
事实上,支撑爱玛在国内市场高销量的背后,更多的是源于公司较为密集的经销商网络体系,但我们在安徽省阜阳市代为管辖多个县级市走访后却发现,爱玛的经销商网络体系正被爱玛毁掉。
经销商网络过于密集,门店数量过多是当前爱玛最为严重的问题。以阜阳市界首市为例,我们在走访中发现,除当地的主城区有十几家爱玛门店外,甚至在乡村中也能看到爱玛门店的身影,两家门店的直线距离居然不到1KM。
图源:IC Photo
过密的经销商网络体系自然让爱玛经销商之间互抢客源。比如同一款车型爱玛经销商有的报价1399元,有的则报价1450元,甚至有的经销商直接喊到1350元,并且加赠类似于雨伞、雨衣等各种赠品。价格过乱的背后,背后透露出的却是爱玛经销商们的无奈。
爱玛经销商吕浩(化名)告诉我们,一方面,虽然爱玛电动车是根据实际情况实施区域保护政策的,但它并没有明确一个镇能有几家经销商,会根据镇子的大小,覆盖人口的多少来确定,但由于很多乡镇到乡镇、乡镇到县城主城区的距离又很近,这就导致经销商们的客群高度重合,大家只能互相抢生意。
并且爱玛在很多乡镇一级的经销商门店是经销商自己所有,他们无需像县城经销商那样承担过高的门店租金。门店成本的差异化,也让经销商们后续对于客源的抢夺更加白热化。
另一方面,此前两轮电动车行业新国标政策出台后所带来的政策红利早也消退,而现在县城消费者对两轮电动车的需求本身就不高,但这种情况下,爱玛动不动杀价格战更是让经销商利润被严重压缩,甚至有的车型一台利润不到100元。无奈之下,很多的经销商只能靠给客户维修电动车赚取微薄的利润。因此,现在很多经销商都不敢贸然大规模找爱玛订货。
事实上,在和吕浩的交谈中,也带来我们新的思考。虽然蜜雪冰城也出现和爱玛一样门店过密的情况,但蜜雪冰城能依靠高复购来带动加盟商门店业绩,这也能拉动公司业绩增长,但对于爱玛电动车这种耐用品而言,本就不属于高频消费,如此过密的门店,导致经销商互抢客源、价格混乱,对爱玛来说,真的是一件好事吗?
除此之外,当前经销商们订货意愿普遍降低,爱玛又要如何消化现有的库存呢?据爱玛前期财报显示,2021年的库存商品由2020年的2.8亿涨至4.4亿,同比增长57%。电动自行车虽然销量大幅提升,但库存量却增加了82%。
如此之高的库存,爱玛就要转嫁到经销商门店上,并且借助价格战来完成产能的出清,但这势必会继续蚕食经销商们的利益,甚至有可能还会加深爱玛和经销商们的矛盾,进而冲击公司的经销商体系,影响到公司产品销量。
03.多重压力,何来轻松?
坦白来说,目前的爱玛也走到了命运的十字路口。虽说目前海外市场能为爱玛贡献高销量,但如同当年国内市场新国标政策出台将消费者需求提前透支,后续消费者对两轮电动车的需求回落一样,未来海外国家也会出现这些情况。并且随着当前全球宏观经济的疲软,海外形势的不确定因素增强,爱玛想要继续靠海外市场获得业绩高增速,也并非易事。
除此之外,回归到两轮电动车业务本身,爱玛也不得不面临两个新问题。
一是后续两轮电动车的智能化到底要怎么走?两轮电动车和汽车不同,汽车能依靠自动驾驶、智能座舱等项目成为卖点,进而提高产品的附加值,但目前国内消费者购买两轮电动车仍是以上下班、接送孩子上下学为主。
图源:艾瑞咨询
类似于两轮电动车智能化中的导航功能,消费者仅需购买一个普通的电动车支架,在配以手机中的导航功能,即可满足导航需要,他们自然不愿意为厂商所堆砌的功能买单。不仅仅是智能导航,语音交互也很少被消费者所使用。
并且在过去的几年时间里,厂商之间的智能化也高端趋同。比如说,曾经小牛电动引以为傲的特色技术如APP控制、卫星定位防盗技术、NFC解锁技术,已经成为主流品牌中高端车型的常见配置。
图源:浙商证券
智能化体验高度同质化下,爱玛又要如何发力才能找到消费者对两轮电动车智能化的痛点,并且这一智能化还要比其他电动车品牌在功能上、体验上做的更好,进而通过差异化来吸引消费者,这对爱玛提出了更高的要求。
二是除智能化外,爱玛接下来到底要靠什么来吸引消费者?按照艾瑞咨询此前的数据来看,电池以及续航仍为当前消费者购买两轮电动车颇为关注的因素。但两轮电动车的短距离出行,又决定了消费者并不会像新能源汽车那样,有着颇高的充电焦虑。
图源:艾瑞咨询
并且对比雅迪和爱玛高端车和电动车的续航里程来看,雅迪冠能3S9
Max大师版和E9 GT大师版的续航里程均能实现200km,但爱玛指挥官却仅有145.5KM,和雅迪相比仍有较高的差距。
图源:中信证券
续航上的差异,让爱玛的市场份额远远不及雅迪。那么,接下来爱玛又要从雅迪手中抢走更多的市场份额呢?或许除了价格战外,并没有更好的答案。
图源:共研网
04.结语
长期以来,国内两轮电动车的销售模型为依靠线下密集的经销商门店,借助多轮价格战完成对其他品牌的挤兑,最终让市场份额集中在头部品牌身上,但这种销售逻辑得以建立的基础是市场上对两轮电动车存在高需求。而如今市场环境的改变,也让这一模型逐步被瓦解,那么接下来国内两轮电动车又要如何重建销售模型呢?