新浪科技

复课不到一个月,美吉姆再遭家长投诉:不能转课,也不能退费

红星新闻

关注

今年3月初,因为复课时间的一拖再拖,成都美吉姆曾经招来多位家长投诉。

3月12日,美吉姆国际早教成都中心终于发布公告,称美吉姆成都中心将于3月14日起正式复课。

然而,不到半个月,记者再次接到了关于美吉姆的投诉电话。家长张先生表示,自己原来是美吉姆成都龙湖三千集中心的学员,后来被并到龙湖上城天街中心,中间一直停课。再后来,自己和家人离开了成都,张先生希望,能把孩子没学完的课也转走,但是他得到的回复是,既不能退费,也没法转课。

家长投诉:

先后经历停课、并店

机构方拒不退费,也不提供转课

2022年8月18日,张先生在美吉姆(原成都龙湖三千集中心)购买了120节课包,共计花费15000元,课包有效期为36个月。

上了30节课左右,由于疫情原因,机构暂停线下授课,加上12月美吉姆方面对龙湖三千集中心与龙湖上城天街中心进行了合并,张先生接送孩子上课就更加不方便了。因此,张先生于1月份向美吉姆提出了退费申请,得到的回应是:可以退,但只能退总费用的一半(即7500元),并且要等到机构复课后才能办理。

然而,复课时间一推再推。再之后,美吉姆官方发布通告称,3月1日起成都各门店将陆续复工。

3月1日当天,张先生到龙湖上城天街中心咨询退费事宜,并表示自己一家隔天就要动身前往福建,如果不能退费,把孩子剩下的课程转到福建莆田的美吉姆也可以。

对此,机构工作人员表示,目前还处在复工准备阶段,还未正式开始上班,需要再等几天才可以办理。

3月14日,美吉姆成都中心正式复课,已经身在福建的张先生拨通了美吉姆老师的电话进行咨询,然而,他这次得到的回复和之前大不相同:既不能退费,也不能转课。

对此,张先生既生气又觉得不可思议,自己的钱自己的课,自己却决定不了?随后,张先生的妻子致电美吉姆(中国)总部反映了这个情况,对方表示,会尽快给出回复。然而,截止到记者发稿,后续依旧杳无音讯。

“他们的授课老师,建议我们到法院去起诉。”对于这个建议,张先生觉得,表面上很合情理,但其实也有些“刁难”人。“感觉就是吃准了我们怕(打官司)麻烦,而且,那种态度也让人不舒服。”

张先生了解到,目前也有一些家长已经对美吉姆进行起诉,自己也咨询了律师,后面会考虑进行异地网上立案,“就算麻烦,也要讨回个道理。”

机构回应:

目前更换了投资人

确实无法进行退费、转课

那么,张先生关于退费或异地转课的诉求,为何不能兑现?

3月28日,记者拨通了美吉姆官网公布的总部咨询电话,了解了情况后,对方表示:成都目前更换了投资人,具体方案要以当地中心沟通的为准,至于异地转课,需要反馈了解后再给予回复。

随后,记者又多次致电美吉姆成都龙湖上城天街中心,结果均显示该电话已暂停服务。

3月29日中午,记者前往美吉姆成都龙湖上城天街中心进行咨询,该校区老师表示,目前成都美吉姆换了新的老板和公司(投资方),校区以及老师的电话都在更新中,因此原来的电话无法接通。而之前缴了费的(家长)是属于原来老公司的,新老板只承担消课这一部分,所以确实无法退费。

至于转课,该老师表示,目前在成都6家中心内转是没有问题的,但是异地转课无法支持。“如果是异地的话,需要成都这边把钱打给要转去的(福建)当地中心,然后才能把课时转过去,但新老板这边并没有收到这笔钱,所以确实没办法。”

对于张先生这一情况,该老师表示,如果孩子后面回到成都可以继续上课,或者也可以把课时转到(成都美吉姆)有合作的机构、幼儿园去上,再不然就只能通过诉讼来维权。

这位老师还提到,成都美吉姆更换投资方一事,不仅给家长们带来了麻烦,还有员工也遇到了麻烦。“原来的老板还欠我们一部分工资,我们又没给新老板打工,也没法让新老板来付这笔钱(工资)。我们员工之前也诉讼过很多次,但原来的老板找不到,后面也就不了了之了,包括之前维权的家长,目前也没有听说有拿到钱的。”

对于这个解释,张先生无法认同,“成都中心换投资人,但不能说就彻底不管旧账了。对于这种情况,美吉姆总部应该拿出一个解决办法。”

起底:

原公司法人已换

多地美吉姆负面不断

张先生遇到的这种情况,该如何维权?

记者咨询了四川一上律师事务所合伙人林小明,林律师表示,情况确实如此,“当事人如果是和原来的公司签的合同,就应该起诉原公司。”

那美吉姆成都中心原来的投资公司究竟是什么来头?记者调查发现,成都片区的美吉姆门店共同合开了一个官方微信公众号“美吉姆国际早教成都中心”,账号主体公司为成都盟源教育咨询有限公司(下简称“盟源教育”)。

据天眼查显示,成都盟源教育咨询有限公司由成都童萌时代教育科技有限责任公司(下简称“童萌时代”)控股99%。两家公司均成立于2017年,目前仍为存续状态。

萌源教育和童萌时代这两家公司均于2022年11月16日变更了法定代表人,从李曦变为了肖丽梅。

天眼查还显示,2023年3月6日,童萌时代因登记的住所或经营场所无法联系,被成都高新区市场监督管理局列入企业经营异常名录;2023年3月14日,盟源教育因登记的住所或经营场所无法联系,也被成都高新区市场监督管理局列入企业经营异常名录。

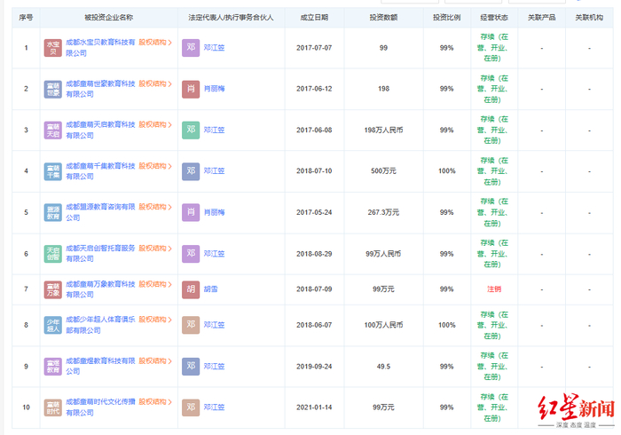
值得注意的是,童萌时代共投资了10家公司,除了成都童萌万象教育科技有限公司已注销以外,其余9家公司几乎都变更了法人,部分公司还出现了经营异常或者被起诉立案。

此外,更值得家长们注意的是,美吉姆涉及的类似纠纷还不仅仅出现在成都。在黑猫投诉平台,截至3月30日,就有745条关于美吉姆的投诉,投诉来自全国各地,问题多涉及退费难、合同违约等。

昔日“早教一哥”口碑下滑至此,对于家长们来说,除了唏嘘,更应该在报班时谨慎考察,避免给自己带来损失和麻烦。

红星新闻记者 沙西雪儿

编辑 陈怡西

加载中...