新浪科技

评论丨熊猫花花遇抢注,提醒做好网红动物下篇文章

红星新闻

关注

打造网红IP,必须先保护网红IP,与其说这是流量思维,毋宁说是必须有的法治思维

频频登上热搜的大熊猫和花(网友昵称“花花”),已成为熊猫界的顶流“女明星”。

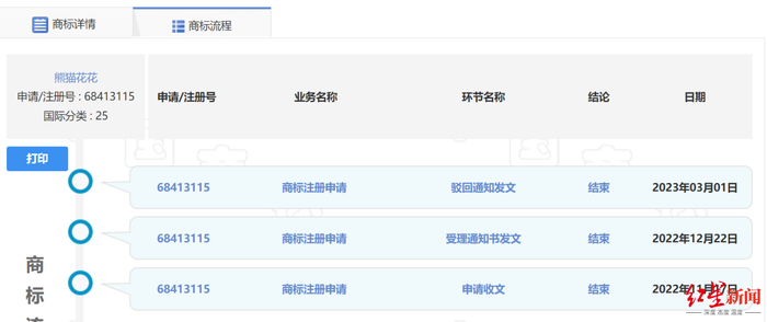
随着花花的爆红,一些公司也打起了花花的主意。国家知识产权局商标局官网显示,“熊猫花花”被5家公司先后申请注册。其中最早的一家申请时间为2022年11月17日。最新商标流程显示,该注册申请已于今年3月1日被驳回。

花花火了,是件好事。人们关心大熊猫,也是在关心濒危野生动物保护,关心生态文明建设。这种良性互动,有助于全社会形成人与自然和谐相处的理念。

但“关心”也怕用错了地方。流量时代,顶级流量意味着潜在的利益,部分商家或正是利用这一点,趁热抢注商标,把与热点事件元素,比如人名、地名、动物名等占为己有,伺机变现。动物往往成为商标注册的对象,这与广告创意大师大卫·奥格威提出的广告“3B”原则(beautiful——美女、beast——动物、baby—— 婴儿)高度吻合。

梳理注册事件时间线,花花至少在2022年年中即已成为网红熊猫;数月后,“熊猫花花”商标被集中注册,难言“巧合”。目前,商标部门已经驳回了第一家提出申请公司的商标注册,已然传递出明确信号。另外几家公司相关商标注册申请受理情况如何,不妨拭目以待。

“熊猫花花”被抢注商标,也提出了一个必答课题:该如何做好网红动物下篇文章?

成都大熊猫繁育研究基地副主任、研究员侯蓉在接受媒体采访时曾说,“基地从来没有推过哪个大熊猫成为网红,这些都是粉丝们自发推动。”花花的“走红”,其实在互联网语境下算不上意外。一夜爆红的故事常常发生,尤其是熊猫这种自带流量、路人缘极佳的“国宝”动物。

基地不曾主动推,但这并不代表其园内所有的熊猫及名字就能被别人白白利用,粉丝在情感上也难以接受。更何况,根据野生动物保护法和城市动物园管理规定等法规野生动物资源属于国家所有,而作为管理方的机构或部门,被赋予了研究、保护的责任。

不妨设想,未来如果“熊猫花花”的商标被注册成功,成都大熊猫繁育研究基地或许就会面临困境:如果开发“花花”周边,生产更多衍生文创产品,商标将成为难以绕过的一道坎。一种更极端情形是,即使商标所有者把“熊猫花花”相关商品卖到了熊猫基地门口,基地方面可能也只能眼睁睁看着。

“熊猫花花”商标被申请注册,事实上,也是流量时代的一个颇具代表的案例:无论是主动打造“网红熊猫”还是粉丝自发推动,IP的形成都是极为不易的,而这背后又牵涉商标利益市场,相关机构都应在互联网流量时代做更多准备。这种准备既包括如何利用互联网思维,放大流量效应,为“国宝”熊猫带来更多的好感度,为濒危动物赢得更大的生存空间,也包括如何正确利用流量,强化商标意识,不让流量被滥用,让流量带来更为正面的社会效益。

打造网红IP,必须先保护网红IP,与其说这是流量思维,毋宁说是必须有的法治思维。而过往的或正在发生的案例就是最好的提醒。

红星新闻特约评论员 此木

编辑 汪垠涛

红星评论投稿邮箱:hxpl2020@qq.com

加载中...