新浪科技

海伦司总经理雷星武汉大学毕业却去开酒馆 年薪仅47万但已成富豪

运营商财经网

关注

运营商财经网张杨/文

“小酒馆第一股”海伦司(09869.HK)登陆港交所,一直受到不少投资者的关注,该司上市首日市值一度触及300亿港元。不过截止2023年2月1日,海伦司报收14.82港元/股,市值回落至187.75亿港元,距离巅峰有不小差距。

同时,该司一位年轻的女高管引起了运营商财经的关注,她就是总经理雷星,下面就试图揭秘其经历。

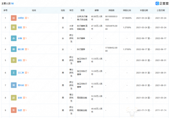
受港股披露规则影响,雷星并未公开自己的出生年月,在2021年年报中显示她为30岁,非常年轻就能担此重任,属实少见。早在2013年6月,雷星于在武汉大学取得软件工程学士学位,学历相当不错。

有意思的是,运营商财经经过搜索发现,海伦司高层中,多位高管都有在武汉读书的背景。

公司高级副总裁张波,分别于2008年及2011年在华中科技大学获得电子科学与技术学士学位、微电子与固体电子学硕士学位。

公司高级副总裁赵俊,分别于1997年及2007年在华中科技大学汉口分校取得检测技术与仪器仪錶学士学位,在华中科技大学取得微电子学与固体电子学博士学位。

公司首席财务官余臻,也曾于2015年6月获得武汉大学会计学学士学位。

据悉,海伦司创始人徐炳忠,就出生在湖北省利川市箭竹溪,虽然海伦司并非从武汉起家,但或许与创始人对家乡的熟悉有关,公司高层多位领导都曾在武汉读过书。

回归到雷星身上,她毕业后曾到平安科技(深圳)有限公司工作了三年半,担任软件开发工程师。2017年12月,她开始担任一间Helen’s品牌酒馆的IT开发工程师。并于2018年4月,进入集团工作,历任附属公司深圳海伦司企业管理有限公司营销总监。

目前,雷星担任海伦司(09869.HK)执行董事及总经理,并兼任多家附属公司领导职职务

据海伦司2021年年报可知,公司收入约人民币18.36亿元,同比增长124.4%;经营利润约3.05亿元,同比增长100.2%;经调整净利润约1亿元,同比增长32.2%。

企查查显示,海伦司总经理雷星2021年的薪酬为47.30万人民币,与港股上市企业动辄百万千万的高薪相比,确实不算高。并且和高级副总裁赵俊、张波所获的53.5万元、49.4万元相比,仍有差距。

今年海伦司高管的薪酬是否发生变化,运营商财经将持续关注。

加载中...