新浪科技

安踏体育两个联席CEO的2021年薪酬对比:吴永华208万赖世贤1761万

运营商财经网

关注

运营商财经网张杨/文

1月18日,安踏体育(02020.HK)发布了一则有关“调整执行董事之管理职能”的公告,显示安踏体育接下来将执行联席CEO制度。其中,集团首席财务官赖世贤、专业运动群首席执行官吴永华成为新的联席首席执行官,2023年2月1日起生效。

这意味着,安踏将在公司治理上形成了“双CEO”格局,这位即将上任的吴永华又有何来历,运营商财经将试图揭秘。

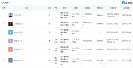
吴永华并未公开自己的出身年月,最近的公告中显示他为52岁,于2003年10月加入集团,在中国销售及营销方面拥有逾二十年经验。

值得关注的是,安踏体育大部分高管都公开了自己的学历信息以及履历信息,但吴永华并未公开自己学历、履历等具体信息,为何不公开,运营商财经也无从知晓。

据悉,将上任执行联席CEO的另一位高管——赖世贤,他另一个身份为安踏创始人丁世忠的妹夫。吴永华介绍中则显示,他与公司任何董事、高级管理人员、主要股东或控股股东(按《上市规则》所定义)并无关连,能走到今天的位置,能力可以肯定。

“调整执行董事之管理职能”公告还显示,现任执行董事吴永华将分管 FILA 品牌、集团国际业务及集团若干职能(包括零售渠道管理及公共关系等),他与公司已订立为期三年的服务合约,由2022年6月15日开始,其后可由其中一方向对方发出三个月书面通知而终止。

日前,安踏体育(02020.HK)发布2021年全年业绩公告,公司实现收入493.3亿元,同比增长38.9%;营业利润同比增长20.1%至109.9亿元;归母净利润同比增长49.6%至77.2亿元。

其中,2021年吴永华的总酬金记录约为人民币207.9万元,而赖世贤2021年的薪酬则高达1761.1万元2020年的薪酬更是达到了3367.2万元,如此一对比,吴永华拿的确实不算很多,不过可以推测,吴永华此后的薪酬还会调整。

此后,有关安踏体育的其他消息,运营商财经将持续关注。

加载中...