独家|被员工仲裁、被申请破产重整,奇点汽车还在找融资续命
DoNews
文/周雄飞
奇点汽车,或将走向它的终局。
据连线出行独家获悉,新能源车企奇点汽车已长时间拖欠员工工资,最长拖欠工资时间已达到了一年半。也就是从去年年初开始到目前,有很多奇点员工没有收到工资,部分员工被拖欠工资额度达到了15万元左右。
针对这一情况,一些员工选择拿起法律武器来维护自己的合法权益——通过劳动仲裁来向奇点汽车索要工资,截至发稿前执行仲裁的员工人数已多达150多人。但未曾想到,奇点依然对支付员工拖欠工资一拖再拖。
连线出行同时从部分奇点汽车离职员工那里独家了解到,由于很多员工向奇点汽车全资控股子公司智车优行科技(北京)有限公司(下称“智车优行北京分公司”)进行劳动仲裁,而奇点无法支付这部分拖欠薪资,已被法院执行强制措施,封存了该分公司的部分办公资产。
或许迫于压力,有部分离职员工在近期收到了来自奇点汽车的短信,表示会在融到新一轮融资后偿还未支付员工的拖欠薪资。
除了受到众多员工仲裁之外,奇点汽车也成为一些供应商和企业诉讼的对象。
上月底,北京法院审判信息网消息显示,中汽研汽车工程研究院有限公司(下称“中汽研”)与智车优行北京分公司技术服务纠纷一案开庭,判后者向前者支付服务费64.9万余元及相关违约金。
另据连线出行查阅天眼查平台,看到智车优行北京分公司在近日被强制破产重整,申请人是帝维汽车工程技术(上海)有限公司。基于这一消息,一些奇点员工向连线出行表示“完了,看来工资要不到了。”
相比于目前这一惨状,奇点汽车也曾经历过高光时刻。
奇点汽车起步并不晚。2014年奇点与蔚来、小鹏和理想相继在国内成立起来,可谓站在了同一起跑线上。随后,奇点也较“蔚小理”之前发布了旗下首款车型和自动辅助驾驶的计划,一时间成为了受行业内外关注的明星车企。
但让很多奇点员工没有想到的是,从2018年开始奇点汽车却开始走下坡路。一边是首款车型迟迟无法量产上市,另一边是资金开始出现问题、从而出现拖欠员工工资的情况。
对此,奇点汽车不是没有想过自救。据个别离职员工向连线出行透露,在2019年奇点汽车曾计划在科创板上市融资找钱,但最后却没了消息;而到了去年,公司内部也传出会得到360公司的新一轮融资,但最后这波融资也不了了之。
如今,由于奇点造车未果、长期拖欠员工工资等因素影响下,已有大多数员工选择了离职,奇点汽车也已成了一家身背各种法律风险的公司。曾风光一时的奇点汽车会就此倒下吗?
1、被司法仲裁、被申请破产重整,奇点走到了悬崖边
“没想到,会和奇点汽车走到劳动仲裁这步。”
当被问到近况时,奇点前员工赵斌这样对连线出行表示。据他介绍,他是在2017年正式加入奇点汽车,作为老员工的他,现在却和奇点汽车对簿公堂,以便拿到自己应得的工资。
“奇点汽车从去年初就已经不给员工发工资了,当时很多员工还想再等等看,毕竟去年疫情哪家公司都不好过,但一直等到了去年7月也没有支付任何工资。于是包括我还有很多员工纷纷选择离职,并且随即就向奇点发起了劳动仲裁。”赵斌这样对连线出行表示。
经历了几个月的准备,劳动仲裁开始执行。按照赵斌介绍,一开始奇点方面还邀请离职员工去公司面谈准备协商解决,并给出了解决方案。简单说,就是分三个月来支付被所拖欠工资。
就赵斌个人而言,奇点拖欠其工资总额已达到17万元左右,去年仲裁后确实支付了一部分的工资,大概5万元左右,但这之后就没有收到任何工资了。“看到这一情况后,我在去年底到今年初相继又做了几次劳动仲裁,我和奇点也走到了强制执行的阶段,但截至目前,奇点再没有给过我一分钱工资”,赵斌回忆道。
与赵斌相比,同样已从奇点离职的孙超,境遇更为悲惨一些。
就在赵斌加入奇点的一年后,孙超也成为了其同事,随后经历了2021年停发工资后,孙超也选择了离职,并且同样通过劳动仲裁来试图追回奇点拖欠自己的工资。
“总地算下来,奇点拖欠我个人的工资已达到了13万元左右,在去年离职后我很快就进行了劳动仲裁,公司也给我了分期偿还拖欠工资的方案,但我这边等了几个月都没收到任何偿还工资。”孙超这样说道。
这之后,孙超和赵斌一样,也向奇点再次进行了劳动仲裁,但截至目前仍旧没有收到任何一分钱拖欠工资。
事实上,像孙超和赵斌这样经历的员工,在奇点汽车内部比比皆是。
按照其二人对连线出行所述,从2021年初开始截至目前,奇点汽车拖欠工资的员工人数已经达到了300人。其中,已有将近150多人向奇点汽车发起了劳动仲裁索要被拖欠的工资。
或许是害怕事态继续扩大,一直处于静默的奇点汽车在本月向个别被拖欠工资的员工发送了一条短信,内容表示“本应在今年6月底未支付薪资的50%,但由于种种问题影响,这一支付承诺需要等到新一轮融资完成后进行,另外一半未支付薪资会在今年年内偿还。”为了作为违背承诺的补偿,奇点将在未来一周内先预支付10000元。
在孙超和赵斌看来,这一短信就是一条维稳短信。“奇点这样做,就是为了稳住被拖欠工资员工的心情,避免更多员工进行劳动仲裁、甚至起诉公司,将事情闹大。”
除了众多员工法律仲裁之外,奇点汽车还频频受到一些公司的起诉。
据连线出行通过北京法院审判信息网获悉,有关中汽研与智车优行北京分公司的技术务纠纷一案在上月底完成宣判,一审民事判决后者需在指定时间内向前者支付服务费64.9万余元及相关违约金。
判决书显示,原告中汽研诉称,其与被告智车优行于2018年4月签订合同,双方约定在2018年1月18日至2018年12月30日开展合作。中汽研需在指定时间内对智车优行提供减速器NVH测试、盐雾测试和差速性能及耐久试验测试并提供检测报告,经双方协商,原合同金额从80960元变更为787160元。
到了2019年4月,中汽研发表公告表示已在约定时间完成测试并顺利通过验收,但智车优行并未按时支付全部合同费用,并在2020年5月发函承诺于在2020年8月支付欠款64.966元,但截至宣判前智车优行都未支付费用,由此判决智车优行北京公司存在合同违约事实。
几天后,通过天眼查资料显示,连线出行发现智车优行北京公司新增一条强制破产重整的消息。具体来看,强制破产申请的申请人是帝维汽车工程技术(上海)有限公司。据赵斌介绍,这家公司正是与奇点汽车合作的供应商之一,大概率也是因为款项拖欠向奇点申请了强制破产重整。
从众多员工展开劳动仲裁、到中汽研进行法律诉讼、再到供应商申请破产重整,可见奇点汽车已经处于资金链断裂的危机中,与此同时其也已卷入至诸多法律风险的深渊中。
而对于赵斌和孙超而言,也亲眼目睹了奇点汽车是如何一步步走向目前这样困境中的。
2、奇点造车的七年:高光、跌落、自救
奇点汽车的高光,曾吸引了很多人加入其中。
2014年,奇点汽车创始人沈海寅成为了国内为数不多首批体验特斯拉Model S的体验者之一,受到了特斯拉产品启发后,他与李斌、李想和何小鹏一同开启了各自的造车之路,并以天使投资人的身份投资创立了智车优行科技。
一年后,沈海寅在朋友圈发了一篇名为《梦在未来、该启程了》的文章,对外讲述了他有一颗造车的野心,并且想用互联网思维造一辆真正懂用户的智能汽车。随后他就从360公司辞职,创立了“奇点汽车”这一新能源汽车品牌。
品牌名虽然确立下来,但彼时知道这一品牌的人却寥寥无几,直到一年后奇点汽车旗下首款车型的亮相。2017年4月,奇点iS6预览版正式向外界亮相,该车型彼时可实现400公里的里程,并且由于搭载了包括摄像头和毫米波雷达等25颗感知硬件,让其可以实现基础的自动辅助驾驶能力。
此外,沈海寅彼时还公布了奇点汽车在自动驾驶方面的规划——2017年实现在高速路上的自动驾驶、2018年实现城市内自动驾驶。
由于这款车发布之时,国内市面上只有特斯拉进口版车辆,而蔚来、小鹏和理想“三兄弟”的首款车型并未发布,再加上20-30万的定价,让奇点iS6一度成为了当时业内颇为关注的焦点。
当时那场发布会,也让沈海寅和奇点汽车顺利来到了镁光灯下,成为了颇受关注的明星车企。
也就在奇点汽车处于高光的那个时间,赵斌和孙超等众多求职者被奇点汽车身上的光辉吸引,便很快就选择加入这家公司。“当时沈海寅宣称会在2018年实现交付iS6,整个市场对其都很看好,于是我没怎么考虑就在2017年底加入了奇点。”孙超这样回忆道。
与孙超相同,赵斌也是在2017年选择加入到奇点汽车的,据他介绍,那两年奇点汽车内部员工增长很快,到2018年中整个公司员工就达到了1500多人,每个人都很有动力,对公司也很有信心。
殊不知,到了2018年年末,奇点iS6并没有按照沈海寅的承诺实现全面量产交付。对此,沈海寅公开道歉,并将奇点iS6的交付时间推迟到了2019年春节前后。
而直到2019年春节过完,奇点iS6仍未实现交付。对于再一次“跳票”,沈海寅在2019年上海车展上解释道,主要是由于合作伙伴和生产基地的变更,造成了车型交付的拖延。
经历了两次交付跳票后,消费者们开始对奇点汽车产生了质疑;也就在那两年,奇点汽车内部开始变得动荡起来。
2018年10月,赵斌和孙超等众多员工收到了一封来自该公司HR的邮件,大体内容是“工资需要通过一系列的审批后才能发放,所以会耽误一些时间,望请各位员工理解。”
“当时收到这一邮件时,我们大多数员工没有想太多,毕竟很多公司都有过工资延迟发放的情况。由此,彼时大多数员工没有把这事当事,都在正常的推进各自的工作进度。”赵斌这样说道。
但让很多员工没想到的是,这一工资延期发放一拖就拖了三个月。据赵斌回忆,收到邮件的当月,工资并未发放;次月,工资依然没有到账,直到当年12月,奇点汽车终于向员工告知了工资发放规则。
根据规则显示,奇点汽车众多员工当年9月的工资算是公司向员工借款,会按照年化约10%的利息偿还,约在2019年1月发放;10月工资会在当月中旬前发放完毕;而11月的工资会在当月底发放。
对于那次拖欠薪资发放,一些奇点离职员工对连线出行表示,彼时包括沈海寅在内的奇点高层对此只字不提,没有任何解释。好在最后这些拖欠的薪资在2019年2月得到解决,此事也没有就此闹大。
虽然工资补上了,但很多员工对奇点汽车已经不像之前那样信任。因为在延期发薪事件后,沈海寅曾亲自下场回应:“奇点汽车已累计融资超过70亿元,拖欠员工工资是假消息。”
而到了2020年,工资方面又出现了问题。据赵斌介绍,自2020年开始奇点汽车对员工的工资开始执行半薪制度,简单说就是对所有员工每月只发工资的一半,另一半工资以抵扣为期权不发。
与此同时,据孙超回忆,那段时间的网络上基本都是奇点的负面,不是拖欠供应商款项,就是奇点汽车股东变动的消息。
2019年10月底,北京产权交易所披露了一份公告,公告显示深圳博雍智动未来投资合伙企业(有限合伙)(以下简称“博雍智动”)计划转让智车优行科技的6.3753%股权。
经历了这些后,很多奇点汽车员工才意识到一个事实——奇点汽车应该没钱造车了。
“当经历了突然延期发放薪资,看到拖欠供应商款项等消息后才恍然大悟,大概率是因为奇点真的缺钱了,然后导致奇点is6造不出来和无法上市。”孙超这样表示。
面对这样的资金链困境,奇点其实也做过自救。
据汽车之家报道,奇点汽车曾在2019年7月宣布了登陆科创板的计划,彼时奇点汽车首席品牌和战略发展副总裁赵强确认了这一计划,并表示“具体进展要看(证监会)审核流程。”
除了上市找钱之外,奇点当时还与360公司有了接触。去年年初,据赵斌向连线出行透露,360公司曾有相关高层来到奇点汽车进行考察,对于奇点的技术代码、车联网架构和车机系统进行了参观和询问,当时360公司计划向奇点注资已走到了实质性阶段。
因为360曾参与了奇点汽车的B轮融资,彼时很多奇点员工对于360再一次对奇点的投资十分看好。但事实证明,360公司最后放弃了奇点汽车,把橄榄枝投给了同是造车新势力的哪吒汽车。而奇点汽车科创板的上市,也再没了任何消息。
两次自救未果后,奇点汽车进一步走向深渊。自2021年开始,一边是开始大规模拖欠员工薪资,导致大多数员工纷纷离职;另一边,由于供应商对奇点的诉讼过多,导致奇点汽车公司被法院多次列为被执行人。
看到这一切后,很多奇点离职员工开始对自身、以及奇点汽车的命运更为担忧。
3、奇点汽车,会走向破产吗?
奇点汽车是否会破产,很大层面取决于其未来能否找到钱。
按照上文所述,部分奇点汽车离职员工收到了来自奇点的短信,表示会在新一轮融资后偿还员工们被拖欠的薪资。但在很多离职员工看来,这一短信中的融资很大程度上不会实现。
“在汽车行业中也待了好几年,可以明显感受到随着新能源汽车行业的快速发展,奇点已经逐渐被边缘化,甚至没有太多人关注的造车品牌了。在这样的现状下,虽然很想让奇点拿到这一笔钱,以便能让我拿到工资,但理智告诉我,奇点现在谈融资就是件可笑的事情。”孙超这样对连线出行表示。
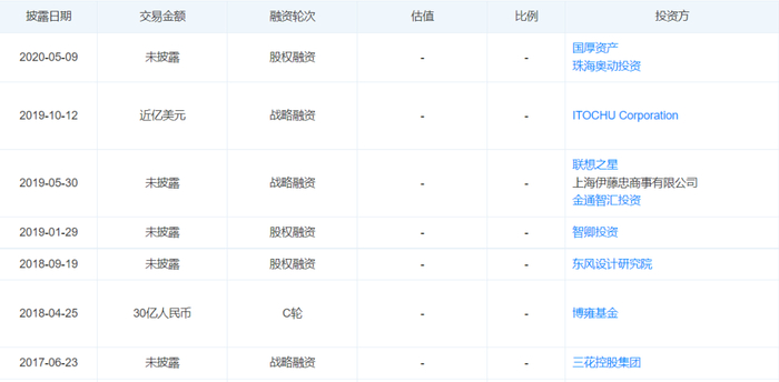
孙超会有这样的感知,也不意外。连线出行通过在天眼查平台查看奇点汽车融资经历发现,其自2020年5月完成一轮未披露交易金额的融资后,再无任何融资信息,这也意味着在过去两年内奇点汽车没有任何外部资金注入。
奇点汽车历年融资部分信息,截图自天眼查
据赵斌对连线出行透露,相比于此前最鼎盛时期的1500多人,目前奇点公司内部在职的员工应该只有两位数了,大概不到50人左右,大多数员工都由于长时间拖欠工资选择离职了。
此外,赵斌还对连线出行表示,由于此前很多员工向奇点提出了劳动仲裁,已经被法院视为集体仲裁,相应执法人员去到奇点汽车公司进行调解,但由于奇点没钱支付拖欠员工的工资,法院启动了强制措施,封存了智车优行北京分公司内部的部分办公设备资产。
对于这一情况,连线出行向多位了解奇点汽车内部情况的离职员工求证,均给出了确定的答复。
缺人和缺钱之外,奇点汽车也没有实力适应目前日益激烈的新能源汽车战场的竞争。
奇点汽车于2017年发布首款车型iS6后,在造车模式上就多次改变。刚开始,奇点主要聚焦于自建工厂,沈海寅曾这样表示“代工模式意味着很多事情自己不一定完全可控,而这些调整会影响到我们的进程。”
但很快奇点汽车又转向了代工之路,并有消息传出奇点旗下的iS6将由北汽新能源代工生产,但这一代工合作最后也不了了之。
也就在奇点iS6未能成功上市的同时,奇点汽车却还想着开拓更多的副业。
2018年10月,就在奇点汽车发布iS6的一年后,在湖南省株洲市奇点汽车高品质智能电动商用车基地正式动工,并宣布通过该基地,正向研发商用车电动化平台、智能驾舱系统、智能驾驶系统和智能车联网系统。
一年后,一家名为鲨湾的公司发布了旗下首款新品牌“蓝鲨”,并推出首款产品“蓝鲨Robor”。据公开资料显示,这家公司创立于2018年8月,沈海寅是该公司的联合创始人兼董事长。
据沈海寅彼时介绍,完成这些布局后,奇点汽车全场景布局就已搭建完成,即“大车+小车、4轮+2轮、乘用+商用”三个组合。
就目前来看,奇点虽然布局了这些不同的业务,但基本都没有多少声量。在业内看来,奇点布局这些不仅浪费了宝贵的造车时间和较多的资金投入,同时也在摇摆的过程中没有积累太多的技术,以至于造成产品没有多少竞争力。
连线出行曾在《2020,多少新能源车企倒在风口中?》一文中认为除了单纯骗补之外,造车车企之所以会倒下都有一个共性——对于造车这件事,并没有想明白,以至于在造车后顾东顾西,出现各种不务正业的情况发生,而这点同样适用于奇点汽车。
除了这些之外,目前恐怕已经没有多少人愿意相信奇点汽车了。
当经历了长期拖欠薪资、集体仲裁也不给钱后,赵斌和孙超对于奇点汽车已经没有了当初那般信任和理解,有的只是后悔和怨恨。“怨恨是怨恨自己当初为何会选择奇点,后悔是后悔当初为何会信任奇点。”孙超这样对连线出行说道。
孙超还说道,“在两三年前我还会向身边朋友推荐奇点汽车的产品,如果有人想要去奇点上班,我也会极力推荐。但在近两年,我不会这样做了,因为感觉这样做就是在害人。”
如今,不管是消费者层面还是投资市场,都不怎么关注奇点汽车。
“由于奇点汽车一直没有量产出自己的产品,同时近些年奇点也新增了很多法律风险因素,因此这一公司目前在资本市场已经没有多少投资人关注了。”一位常年关注新能源汽车行业的投资人对连线出行表示。
基于以上分析,在业内看来,缺钱、缺技术和陷入信任危机的奇点汽车,活下去已是极为艰难。在滚滚向前的新能源汽车浪潮中,它正在被时代抛弃。
(本文头图来源于奇点汽车官微,文中赵斌和孙超为化名。)
特别声明:本文为合作媒体授权DoNews专栏转载,文章版权归原作者及原出处所有。文章系作者个人观点,不代表DoNews专栏的立场,转载请联系原作者及原出处获取授权。(有任何疑问都请联系idonews@donews.com)