新浪科技

新专利显示未来MagSafe散热壳可以让iPhone运行速度更快

新浪科技综合

关注

本文来自cnBeta

电子设备在使用时往往会发热,这个问题会影响到很多不同的电器物品,但尤其是那些具有处理功能的设备。虽然这在台式机和笔记本中很容易观察到,但在iPhone和iPad等移动设备中也很普遍。由于移动设备需要轻薄紧凑的设计,手机和平板电脑在使用过程中可能会发热,例如用于繁重的处理任务或无线充电。处理器和其他芯片的热管理必须得到精细的控制。

除了在被握住时可能会给用户带来不适外,对于电子产品来说,热量也是一个大问题。热量会导致电路内的金属结构出现故障,在高温下削弱或熔化焊接连接,甚至更糟。为了用户的生活质量,以及保持设备更长使用时间,必须对抗热量,要么增加额外的冷却,要么降低发热元件的性能。由于为iPhone添加外部冷却并不实际,这通常需要进行节流,这可能是设备用户不希望看到的。

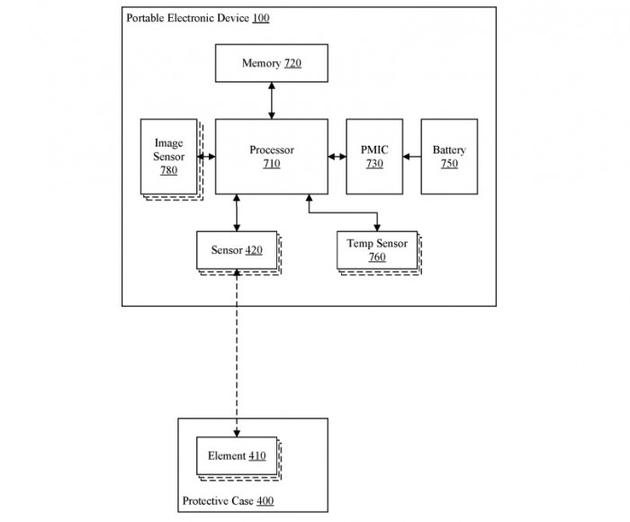
为了安全和可用性,必须取得平衡,这意味着要偏向于节流足够的可用性,而不至于让用户拿着太热。然而,如果设备可以确定对用户没有风险,它有可能运行得更温暖,更接近其极限。苹果公司认为,配备MagSafe的智能保护壳可以让iPhone以更快的速度运行,而不会因为过热对用户造成伤害,只要检测到保护壳的存在,就可以让iPhone以更高的温度运行。

美国专利和商标局周二授予的一项名为 “便携式电子设备的智能外壳 ”的专利中,苹果公司提出,可以通过感应是否使用过外壳来协助解决决定是否对处理器进行节制的问题。如果检测到外壳,它可以安全地运行得更快,产生更多的热量,而不会有伤害到用户的风险。

为此,苹果建议在手机壳中嵌入磁铁,产生一个磁场,而这个磁场可以通过霍尔效应传感器被iPhone或iPad检测到。通过检测特定配置下的磁场变化,这将会告诉iPhone有安装了手机壳。如果检测到手机壳,就可以将iPhone的运行从运行在较低的温度阈值或较低的温度阈值提升到第二个较高的阈值,至少在安装手机壳的时候是这样。一旦取下手机壳,就会应用较低的温度阈值,因此出现节流的机会更大。

作为外壳传感功能的一部分,苹果建议可以包括确定与特定类型外壳相关的磁场方向,然后可以提供其他好处。例如,不同的外壳可能具有不同的热属性, 允许iPhone在不同的最高温度下运行。NFC的使用也可用于检测手机壳的存在,手机壳中RFID标签的存在会产生一个可被iPhone读取的信号。

苹果每周都会提交大量的专利申请,但虽然专利的存在表明了苹果研发团队感兴趣的领域,但并不能保证该概念存在于未来的产品或服务中。

加载中...