新浪财经 股票

行业ETF风向标丨行业复苏被重视,多只半导体设备ETF半日逆市上涨

每日经济新闻

关注
日k线图

日k线图

今日,半导体设备材料相关板块走强。其中,半导体设备ETF(159516)半日涨幅接近1%,这也是上午为数不多上涨的ETF品种。

投资逻辑方面,2023年国内主要晶圆厂产能利用率较低,产能爬坡减缓,设备招标以二三线晶圆厂为主,同时叠加付款节奏等影响,部分设备公司合同负债金额出现一定波动。根据SEMI(国际半导体产业协会)数据,2023年全球半导体设备支出将同比下降15%至840亿美元,2024年将同比增长15%至970亿美元,2024年晶圆厂设备支出复苏一定程度上受益于半导体库存调整结束以及高性能计算和存储领域对半导体需求增强。随着主要晶圆厂稼动率恢复,国内一线晶圆厂扩产愈来愈近,国内半导体设备公司将受益。

作为整个半导体产业链的支撑产业,半导体设备材料行业具备独立于全产业链的Alpha,且又受益于全球半导体景气复苏,未来增长空间可期。同时,全球新一轮科技创新周期已经启动,以人工智能为代表的新动能有望成为半导体需求端的核心增长级。

点评:半导体设备ETF(159516)、芯片设备ETF(560780)以及半导体材料ETF(562590)今日上午涨幅均在0.5%以上。其中,半导体设备ETF(159516)涨幅最大,半日涨幅为0.8%,其规模为8.33亿份,半日成交金额7727万元。上述3只ETF追踪的是中证半导体材料设备主题指数。

中证半导体材料设备主题指数选取40只业务涉及半导体材料和半导体设备等领域的上市公司证券作为指数样本,反映半导体材料和设备上市公司证券的整体表现。

中证半导体材料设备主题指数重仓股

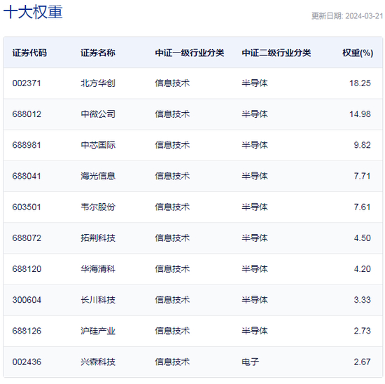
点评:半导体设备ETF(561980)今日上午涨幅为0.73%,其规模为1.22亿份,半日成交2802万元,该ETF追踪的是中证半导体产业指数。

中证半导体产业指数从上市公司中,选取不超过40只业务涉及半导体材料、设备和应用等相关领域的上市公司证券作为指数样本,以反映半导体核心产业上市公司证券的整体表现。该指数在编制方案上限制半导体材料和设备类样本合计权重不低于75%,重点聚焦半导体材料和设备板块表现。

中证半导体产业指数重仓股

加载中...