新浪财经

时任公职身份时是否通过代持设立公司 协昌科技实控人曾因股份代持违规收警示函

市场资讯 2022.03.15 14:39

富凯IPO财经

江苏协昌电子科技股份有限公司(以下简称“协昌科技”)主要从事运动控制产品、功率芯片的研发、生产和销售。拟计划公开发行股份的数量为不超过1833.3334万股,占发行后总股本的比例不低于25%。公司拟募集资金4.21亿元,分别用于运动控制器生产基地建设项目、功率芯片封装测试生产线建设项目、功率芯片研发升级及产业化项目、补充流动资金。

来源:协昌科技招股书、(上会稿) 制图:富凯IPO财经

保荐机构为国金证券股份有限公司,保荐代表人为谢正阳、姚文良。 

来源:深交所项目动态 制图:富凯IPO财经

国金证券是否认为没有”行政处罚”就代表没有“违法违规”只字未提“监管措施决定

公开信息显示,2020年11月,全国中小企业股份转让系统公布的关于对江苏协昌电子科技股份有限公司及相关责任主体采取自律监管措施的决定显示,经查明,协昌科技及相关主体存在股份代持违规和权益变动违规,构成权益变动和信息披露违规。关于股份代持违规。协昌科技控股股东、实际控制人顾挺于2016年1月28日和2016年2月5日向顾茹洁累计转让833.75万股。实际控制人顾韧于2016年1月28日和2016年2月5日向吴文霞累计转让416.25万股。顾挺、顾韧分别与顾茹洁、吴文霞约定,转让款实际由顾挺、顾韧支付,相关股份在转让后仍由顾挺、顾韧实际控制。

截至2018年12月末,顾茹洁、吴文霞已不再持有协昌科技股份,上述股份代持情形消除。在上述股份代持情形存续期间,顾挺、顾韧多次使用顾茹洁、吴文霞账户减持股份。而在相关减持中,当涉及到实控人减持比例红线时,不仅未暂停披露相关的权益变动情况,且在其后的多次披露的《权益变动报告书》中皆未能真实反映上述权益变动情况。

鉴于上述违规事实和情节,根据《全国中小企业股份转让系统业务规则(试行)》第6.1条和《全国中小企业股份转让系统自律监管措施和纪律处分实施细则》第十四条的规定,全国股转公司决定对协昌科技采取出具警示函的自律监管措施;对顾挺、顾韧、蔡云波、孙贝采取出具警示函的自律监管措施。

来源:全国中小企业股份转让系统·股转系统公函【2020】153号 制图:富凯IPO财经

协昌科技在二轮反馈中同样被交易所问到关于《关于股份代持》

深交所审核问询回复显示:

2016 年至 2018 年,实际控制人顾挺、顾韧将持有公司的 1,250 万股股份分别转让给顾茹洁、吴文霞代持并通过新三板交易系统对外转让公司股票合计取得股权转让款共计 10,489.89 万元。请保荐人、发行人律师进一步结合顾茹洁、吴文霞与发行人实际控制人、董 监高之间的关联关系,获得股权转让款后资金去向、资金流转记录等,说明是否 存在代为承担成本、费用的情形,并发表明确意见。

【回复】

(一)顾茹洁、吴文霞与发行人实际控制人、董监高之间的关联关系 经访谈顾茹洁、吴文霞及发行人实际控制人、董事、监事及高级管理人员,取得并查阅顾茹洁、吴文霞、公司实际控制人及董监高的相关信息表、承诺函等, 取得各方身份证信息并进行比对,相关情况如下:

顾茹洁为公司实际控制人顾挺、顾韧的父亲的兄弟的女儿,吴文霞系公司实 际控制人顾韧的朋友,除前述关系外,顾茹洁、吴文霞与发行人实际控制人、董 事、监事、高级管理人员之间不存在其他关联关系。

顾茹洁、吴文霞获得股权转让款后资金去向及资金流转情况经查阅顾茹洁、吴文霞证券账户交易明细、关联银行账户明细,逐笔核查相 关股权交易的对应交易记录以及资金最终流向,取得并查阅相关最终流向账户截至本回复出具日的资金流水明细等,访谈相关当事人并取得其关于资金流向及资金流转情况的专项说明承诺,经核查:

2015 年 2 月,公司股票在股转系统挂牌并公开转让。为活跃市场交易,提

高股票流动性,实现进入创新层的目标,公司计划引入一批投资者及做市商,并

将交易方式从协议转让变更为做市转让。

鉴于做市交易阶段股票流动性较强,为避免在做市交易阶段大股东减持对二级市场股价的影响,2016 年 1-2 月,顾挺、顾韧将预留转让给投资者及做市商的股份(以下简称“预留股份”)分别向顾茹洁、吴文霞转让股份 833.75 万股、416.25 万股,合计 1,250 万股,顾茹洁、吴文霞的受让股份资金来源于实际控制人及其 配偶,上述转让形成委托持股关系。

2016 年至 2018 年,顾茹洁、吴文霞通过新三板交易系统对外转让公司股票合计取得股权转让款 10,489.89 万元,该等股权转让款去向为公司实际控制人配偶及其他近亲属账户,后续主要用于滚存购买理财产品、基金、国债逆回购等投资理财用途,所获得股权转让款后资金去向明确,不存在代发行人承担成本、费用的情形。

关于相关股权转让款项的具体资金流向情况已申请豁免披露。

综上所述,顾茹洁为公司实际控制人顾挺、顾韧的父亲的兄弟的女儿,吴文 霞系顾韧的朋友,除前述关系外,顾茹洁、吴文霞与发行人实际控制人、董监高 之间不存在其他关联关系;顾茹洁、吴文霞名下账户通过对外转让公司股票所取 得的股权转让款后续主要用于滚存购买理财产品、基金、国债逆回购等投资理财 用途,所获得股权转让款后资金去向明确,不存在代发行人承担成本、费用的情 形。

来源:协昌科技二轮反馈 制图:富凯IPO财经

协昌电子招股书(上会稿)第1-1-251显示,“报告期内违法违规行为及受到处罚的情况”显示“报告期内,发行人存在受到 50 元行政处罚的情况,具体情况如下:2019 年 3 月 26 日,因凯思半导体深圳分公司“2018-12-01 至 2018-12-31 个 人所得税(工资薪金所得)未按期进行申报”,国家税务总局深圳市南山区税 务局向凯思半导体深圳分公司作出“深南税简罚〔2019〕108200 号”《税务行 政处罚决定书(简易)》,并处以 50 元罚款。”对于报告期内股转中心发布的《关于对江苏协昌电子科技股份有限公司及相关责任主体采取自律监管措施的决定》只字未提。

时任公职身份时是否通过代持设立公司

协昌科技招股书(上会稿)第1-1-72页和1-1-73页显示”顾挺,男,中国国籍,1973 年出生,无境外永久居留权,身份证号码:32021119731107****,法律专业,大专学历。1994 年 8 月至 2008 年 5 月任无锡市XXX锡山分局XX、中队长、副大队长;2009 年 12 月至 2014 年 8 月任无锡协昌科技有限公司执行董事、经理;2011 年 6 月至今任公司董事长、总经理。

来源:协昌电子招股书(上会稿) 制图:富凯IPO财经

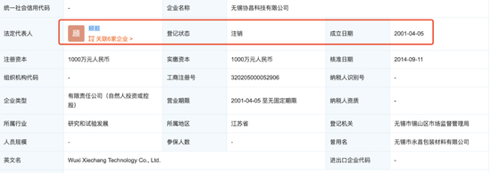
通过企查查查询显示,无锡协昌科技有限公司成立于2001年4月5日法定代表人顾挺注册资本1000万,企业曾用名“无锡市永昌包装材料有限公司”,目前无锡协昌科技有限公司已经注销。

来源:企查查制图:富凯IPO财经

通过招股书搜索“顾颂平”并未有搜素结果和关系认定,根据协昌科技招股书(上会稿)显示“1994 年 8 月至 2008 年 5 月任无锡市XXX锡山分局XX、中队长、副大队长”,无锡协昌科技有限公司成立于2001年4月5日。企查查显示历史法定代表人顾颂平,变更记录显示2009年12月24日顾颂平将法人身份变更给顾挺,通过比对显示,时任XX、中队长、副大队长的顾挺离职后不久便成为无锡协昌科技有限公司的法人代表,顾挺时任公职工作期间是否以代持的形式成立无锡协昌科技有限公司?顾颂平是谁?

保荐机构及保健人基本信息

保荐机构:国金证券股份有限公司

国金证券是一家资产质量优良、专业团队精干、创新能力突出的上市证券公司,是沪深300指数、上证180指数、上证180金融股指数、MSCI新兴市场指数成份股,注册地在四川省成都市。

公司目前控股国金期货有限责任公司、国金鼎兴投资有限公司、国金创新投资有限公司、国金道富投资服务有限公司、国金金融控股(香港)有限公司。截止到目前,公司下设8家分公司,有68家证券营业部,分布在全国23个省(直辖市、自治区)的重要中心城市。

保荐代表人:谢正阳、姚文良

来源:中国证券业协会制图:富凯IPO财经

来源:中国证券业协会制图:富凯IPO财经

免责声明:本文为,【富凯ipo财经】原创文章,未经作者同意禁止转载,转载必究。本文所有内容参考资料均来自三方机构公开信息、法定义务公开披露的信息。【富凯IPO财经】原创内容及观点客观公正,但不保证其准确性、完整性、及时性等,本文信息仅为阅读者交流学习为目的,不构成段资建议,投资者不应以该信息取代其独立判断或仪依据该信息作出决策。【富凯IPO财经】不对因使用本文所采取的任何行动承担任何责任,如内容侵权请联系小编。

加载中...