新浪财经 股票

王健林“换将”,万达商管新董事长“接棒”1400亿债务!

市场资讯 2024.10.20 19:20

来源:野马财经

万达还有“新故事”讲吗?

在连卖万达广场、又卖传奇影业等公司后,王健林又对万达的人事任命做了重大调整。

10月18日,大连万达商业管理集团股份有限公司(简称“大连万达商管”)公告称,原董事长肖广瑞及监事张晶、马军因工作安排辞去相应职务,张春远担任董事长兼法定代表人,方栗双和张勍分别担任监事。

图源:公司公告

据《中国证券报》援引消息人士分析称,此次高管变动是技术层面的切割,和公司经营方面没有太大关系,不会影响公司实际经营。

而从肖广瑞近期三次卸任董事长的情况来看,这次换帅将让大连万达商管进入“新掌门人”的周期。张春远将接替肖广瑞直面大连万达商管近1400亿元的债务压力,曾主导文旅板块的他,能否将商业和文旅业务优化组合,缓解资金压力呢?

三次变换董事长,

核心还在珠海万达

“野马财经”注意到,今年9月以来,肖广瑞在不到2个月的时间,接连卸任3大董事长职务,其分别卸任了大连新达盟商业管理有限公司(简称“大连新达盟”)董事长、珠海万达商业管理集团股份有限公司(简称“珠海万达商管”)以及大连万达商管法人、董事长等职务。

此外,肖广瑞还卸任了珠海万达智碳新能源科技有限公司、珠海即刻甄选科技有限公司、珠海宝铺商业科技有限公司的法人、执行董事等职务。

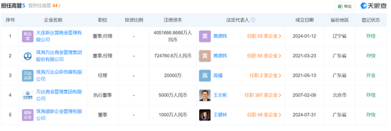
“天眼查”显示,肖广瑞目前仍在大连新达盟、珠海万达商管等5家公司任董事或经理,但其中不包含大连万达商管。

肖广瑞任职情况 来源:天眼查 

需要明确的是,珠海万达商管作为万达集团的轻资产平台,目前管理着近500个大型商业广场,是万达集团的核心公司。

而大连万达商管、大连新达盟是珠海万达商管的两大股东。肖广瑞卸任后,珠海万达商管、大连新达盟的法人、董事长都是黄德炜,代表的是外部投资方太盟集团合伙人。

太盟集团是万达找来的“救兵”。

在珠海万达商管四次向港交所递交招股书失效之后,万达为引入外部投资,成立了新的公司“大连新达盟”。今年3月30日,大连万达商管与太盟集团、阿布扎比投资局、穆巴达拉投资公司、中信资本、ARES签署投资协议,上述5家机构将联合向大连新达盟投资600亿元,合计持股60%,大连万达商管持股40%。

签署协议后,今年9月份,大连新达盟的注册资本从原先的162.1亿元增至405.2亿元,总投资额达到513亿元。而肖广瑞也是此时卸任了珠海万达商管、大连新达盟的法人和董事长职务,改由黄德炜接任。

来源:

罐头图库

不过,大连万达商管对珠海万达商管、大连新达盟仍是单一最大股东。不同是的,在董事会中,张春远接替肖广瑞,成为万达对话外部投资方的“发言人”。

从上述关系不难看出,肖广瑞卸任上述三家公司法人、董事长职务,是万达集团的一次重大人事调整。

张春远“接棒”近1400亿债务

作为“万达老臣”,肖广瑞2001年就加入万达,先后担任人力资源部总经理、总裁助理、副总裁等职务,还曾担任万达文化集团副总裁、万达集团高级副总裁兼人力资源管理中心总经理等职务。

而这次辞任大连万达商管董事长,距离肖广瑞在2023年3月接任该公司董事长,只有1年半的时间。

肖广瑞任职时,正是大连万达商管受珠海万达商管上市遇阻,债务压力大增之时。大连万达商管不得不出售旗下资产,缓解现金流压力。

从去年以来,大连万达商管接连退出了包括上海金山万达广场、广州萝岗万达广场、湖州万达广场等在内的近30座万达广场,甚至把万达总部所在地的北京万达广场也卖掉了。

来源:

罐头图库

另据企业预警通显示,10月16日,大连万达商管退出了成都万达商业广场投资有限公司,新增坤华(天津)股权投资合伙企业(有限合伙)为全资股东。

经过调整,大连万达商管的整体债务压力有所下降,但依然不乐观。

数据显示,截至2023年6月末,大连万达商管合并口径有息负债1412.83亿元,其中一年内到期的有息负债292.57亿元;而截至2024年6月末,大连万达商管合并口径有息负债降至1375.61亿元,但一年内到期的有息负债仍高达302.69亿元。

同期,大连万达商管合并资产负债表显示,其货币资金约115.77亿元,短期借款39.07亿元,一年内到期的非流动负债690.55亿元;期末现金及现金等价物余额约104.85亿元,同比减少42.07亿元,降幅约28.63%。

来源:罐头图库

债券报告指出,大连万达商管有息负债存量较大,一年内到期规模较高,存在一定的债务压力。此外,受公开市场再融资渠道暂未恢复、子公司珠海万达上市进展不及预期等影响,债券价格进一步波动,大连万达商管公开市场再融资难度提升。

目前,虽然王健林为万达找来了战投方“输血”,但张春远面临的压力仍然不小,且大连万达商管还面临利润下降的问题。

截至2024年上半年,大连万达商管实现营业收入268.5亿元,同比增长5.5%;归属母公司净利润48.35亿元,去年同期为67.29亿元,同比下降28.15%。

来源:公司公告

另据公告显示,截至2024年6月末,大连万达商管实控人王健林直接或间接持有公司股份比例为50.63%,但其中约119.8亿股被质押,占总股本比例约45.43%。

“文旅”+“商业”,

万达“底牌”还剩多少?

据《中国房地产报》援引业内人士分析,此次张春远接棒董事长,有望推动万达文旅与商业管理的深度整合,并进行一系列的战略调整和业务拓展,但具体效果还需要时间验证。

上述分析不无道理,因为不论是肖广瑞还是张春远,在上任大连万达商管之前,都在万达文化集团担任过重要职务。张春远在接任大连万达商管董事长职务前,刚在今年3月获任万达文旅集团执行总裁,至今才半年有余。

但令人关注的是,万达的文旅产业还能为万达贡献多少业绩。就在不久前的10月14日,被万达控股了近9年的传奇影业(Legendary Entertainment)宣布,已完成购回大连万达集团在该电影公司的剩余股权,并将由阿波罗全球管理公司(Apollo Global Management)全资拥有。

这意味着,王健林卖掉了万达在传奇影业的全部股权。

不仅如此,大连万达商管公司债券中期报告还显示,万达所剩不多的海外资产也被分类至持有待售资产。

上述报告显示,截至2024年上半年末,大连万达商管存货价值相比2023年末下跌了95.66%,减值约9.16亿元,主要是因为圣汐游艇相关资产重分类至持有待售资产;此外,还有宜春项目、长春红旗街项目也被分类至持有待售资产,这些资产的重新划分,让大连万达商管的持有待售资产从994.76万元大增至51.25亿元。

来源:公司公告

此外,宜春、长春红旗街、圣汐游艇等资产划分至持有待售资产,其相关负债也分类至持有待售负债,该项债务金额由2023年底的1.05亿元增长至29.34亿元。

实际上,早在今年4月就有消息称,王健林已同意万达出售圣汐国际(Sunseeker International)给狮心资本(Lionheart Capital),但后续并无进展报道。据了解,万达在2013年花了29.05亿元收购圣汐国际。

与之相关的新消息是,今年7月,专注休闲游艇的国际媒体和专业杂志《IBI国际游艇行业杂志》报道称,英国超级游艇租赁公司Burgess宣布与万达酒店及度假村合作拓展中国超级游艇业务。

通过此合作,万达旗下的SUNSEEKER108瑞华2号游艇(即“圣汐瑞华2号”)可在上海进行租赁,承接黄浦江游览业务。Burgess公司还将以瑞华2号为平台,向全国客户推广超级游艇旅游业务。万达游艇管理有限公司总经理杨雷(Leo Yang)成为Burgess在中国地区的首席代表,将与Burgess公司在香港、新加坡和摩纳哥的核心亚洲团队展开密切合作。

据接近万达的消息人士表示,目前万达在运营的海外资产主要有盈方体育和圣汐游艇。

王健林在2013年出席夏季达沃斯论坛时,对《支点》杂志等媒体表示,万达集团要在2020年成为世界一流的跨国企业,保持15%的年增速,资产接近1万亿元,收入超过6000亿元,净利润超600亿元,到2020年至少有20%的收入来自海外。

而要达到这个目标,文化旅游产业就是王健林最看好的新增长点,并且要通过并购全球文旅相关资产来实现。

在2012年~2016年,王健林指挥万达集团在全球频频大举扩张,相继收购了全球第二大院线集团美国AMC、盈方体育、传奇影业、圣汐游艇、西甲马德里竞技俱乐部等股份,横跨体育、影视、旅游等多个行业。

但如今随着债务压力增加,万达集团不仅要出售境内资产,海外资产也所剩无几,最终还是要靠珠海万达商管的核心资产完成过渡期。

 

加载中...