新浪财经 股票

伟星地产被瓜分之谜

市场资讯 2024.06.28 22:39

  来源:地产K线 

几天前,美的何享健家族给市场扔出了一枚“深水炸弹”,其对上市平台美的置业(03990. HK)的房地产开发业务反向进行了“私有化”。

如今的房地产市场,有目共睹。绝大部分的民营房企积重难返,地产开发所带来的高负债,让背后的房企老板们动弹不得,无计可施。

何享健家族的行为,为眼下的地产困局提供了一个解题样本。同时,也让外界再次看到了制造业家族背后的强大财力。

在地产疯狂赚钱的前些年,制造业往往被认为是只能赚小钱、辛苦钱,是小打小闹式的行业。如今,却要另眼相看了。

不止是美的系,当地产行业陷入集体哑火,那些背靠制造业的房企,相比其他同行,确实表现出了逆势扩张的优势。来自浙江的伟星系,就是同样的案例。

6月27日,伟星房产在合肥包河又拿下了一块地,总价8.58亿元。

跟它在同一场土拍有所斩获的,还有保利、中海、绿城、安徽置地、高新城投,清一色的国资。让伟星这家房企,显得有些格格不入。

而且,伟星房产所拿的地块,还是溢价最高的。

近几年,关于伟星房产逆势加码拿地的消息,引起不少的关注。

2021年开始,伟星房产在土拍市场大展身手,当年斩获19块地,总投入225亿;2022年,继续投入243亿拿下20块地。

即便到了2023年,国央企地产商拿地成为主流,克而瑞数据显示,伟星房产仍拿地156亿元,排名第20。

今年以来,伟星房产的拿地动作虽有所减少,但也多次出手。除了最新这次在合肥拿地,2月份的合肥土拍上,伟星房产同样在包河区有所落子。

连续的逆势拿地,引发了外界对伟星房产的关注。

在地产行业,伟星房产作为近两年来的后起之秀,名字虽然较为陌生,但却大有来头。其实际上是有着“纽扣大王”之称的,浙系大佬章卡鹏旗下地产开发平台。

章卡鹏靠生产纽扣和拉链发家,后跨界至建材水管以及地产等领域,坐拥伟星股份(002003. SZ)、伟星新材(002372. SZ)两家上市公司,合计市值近400亿元。

在建材领域,伟星还是北京鸟巢、水立方、北京大兴机场、上海世博会、杭州亚运馆、港珠澳大桥等国家工程重要供应商。影响力可见一斑。

作为伟星集团旗下的地产平台,伟星房产(全称:浙江伟星房地产开发有限公司)最早在1998已经成立,发展至今已二十多个年头。

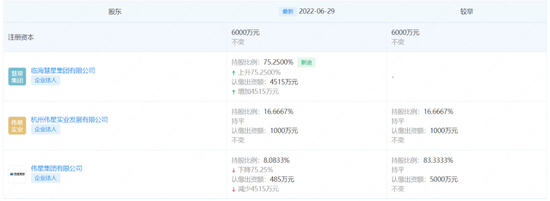
不过,乐居财经查阅工商信息,从股权关系上,如今的伟星房产已经脱离了伟星集团的控制。其目前的股东为临海慧星集团有限公司、杭州伟星实业发展有限公司、伟星集团有限公司,分别持股75.25%、16.67%、8.08%。

2022年6月,伟星房产的股权结构就已出现变更。其原本的大股东伟星集团从持股83.33%下降至8.08%。所退出的75.25%持股由临海慧星集团接过。杭州伟星实业的持股,则保持16.67%不变。

新成为伟星房产控股股东的临海慧星集团值得玩味。它更像是一个员工持股平台,由包括章卡鹏、张三云、吴水方、卢韬、明珩、朱立权、朱美春等在内的14人直接持有。当中,章卡鹏、张三云、吴水方分别持股17.59%、12.17%、8.67%,是临海慧星集团的前三大股东。

而持股临海慧星集团的这些自然人,绝大部分都在伟星集团持有股份。

伟星房产此前一直较为低调。多年来,一直在发家地浙江临海以及安徽芜湖等三线城市进行深耕。

2018年开始,伟星房产开始向合肥发展,并在2020年逐步进军武汉、南京、杭州等热点二线城市,逐步面向全国。最终在近几年地产下行周期里,凭借在土拍市场的大展身手杀出重围。

即使凭借资金的优势在土地市场大杀四方,但伟星房产同样面临低迷市场的影响。

2022年,异军突起的伟星房产曾提出过,计划通过3至5年时间,实现500-900亿元销售规模。

但大环境不理想,伟星房产的目标要实现起来,似乎不那么简单。2023年,伟星房产实现的销售额357.8亿元。2024年前五月的销售额,仅107.2亿元,与规模目标有着一定的距离。

为了极力在低迷的市场中维持规模,此前伟星房产还曾因项目大幅降价而引发业主投诉维权。

去年,其合肥伟星滨江道项目、武汉伟星光谷星悦广场、南京伟星时代悦峰等多个项目,就因大幅降价引来业主投诉而广受关注。

2024年以来,地产行情并没有好转,1-5月,百强房企销售操盘金额同比降低44.3%。近两年里,伟星房产在多个城市拿下的项目,也面临去化挑战。

此前消息,位于杭州萧山宁围板块的伟星望奥项目,首开推出248套房源,但截止登记日,报名人数为0。

不过,按照项目官方的口径,为了方便客户提前选房,项目主动流摇,实际上已经卖出180套左右。去化率已超过70%。

乐居财经查阅杭州透明售房网数据显示,截止6月28日,伟星望奥项目于2024年5月31日核发的预售证,可售套数155套,已售总套数93套。据此计算的网签去化率37.5%,不足四成。

同样,伟星房产在杭州的滨映时代府。项目在去年11月核发的预售证,可售套数58,已售套数60,去化刚过五成。12月核发的预售证,可售套数20,已售套数16,去化44.44%。今年3月、5月、6月核发的预售证,网签去化率22.92%、25%、1.64%。

此外,伟星房产位于南京的伟星时代悦峰、伟星誉璟府、伟星长江之歌三个项目。乐居财经查阅了解,截止6月28日,伟星时代悦峰入网套数760套,总成交541套;伟星誉璟府入网套数493套,成交套数417套;伟星长江之歌入网总套数86套,总成交套数7套。

加载中...