新浪财经 股票

热搜第一!知名男星宣布大消息 涉及这家A股

市场资讯 2024.06.23 16:00

  来源:中国基金报

6月23日,知名演员任嘉伦宣布与欢瑞世纪合约到期不续约,引发网友热议,相关话题一度冲上热搜榜单首位。

据悉,欢瑞世纪为A股主板上市的影视集团公司,任嘉伦于2017年签约欢瑞世纪,双方曾合作《大唐荣耀》《锦衣之下》《天乩之白蛇传说》等热播剧。

官宣到期不续约,冲上热搜

6月23日上午,演员任嘉伦及其工作室相继在微博发文,官宣与原经纪公司欢瑞经纪合约到期不续约。

其中,任嘉伦表示:“珍视过往,记得美好。保持热爱,奔赴未来!”

欢瑞经纪也对此事进行了回应:“见证了你一路走来的成长和收获,祝任嘉伦未来前程似锦,万事顺遂。”

消息爆出后,迅速引发网友热议。微博话题“任嘉伦官宣离开欢瑞世纪”一度冲上热搜第一。截至发稿前,该话题仍位列榜单第七位,阅读量达2亿次,讨论量达24.6万次,互动量为51.7万次。任嘉伦本人发布的官宣消息也获得超46万次转发,评论数超13万个。

公开资料显示,任嘉伦出生于1989年4月,本名任国超,中国内地男演员、歌手。2017年签约欢瑞世纪,不久后主演古代传奇剧《大唐荣耀》,并凭借饰演的李俶角色荣获第4届“文荣奖”最佳男主角奖。此后还相继主演了神话剧《天乩之白蛇传说》,谍战剧《秋蝉》,古装剧《锦衣之下》《周生如故》,缉毒剧《不说再见》等。在微博平台,目前任嘉伦拥有超2500万粉丝。

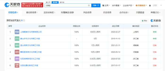
另据天眼查显示,任嘉伦在6家公司担任法定代表人,目前只有2家公司存续,分别为上海智赫文化传媒有限公司、象山乒乓文化传媒工作室。

欢瑞世纪为A股主板上市的影视集团公司。官网资料显示,目前公司业务涵盖影视剧的投资、制作和发行,以及艺人经纪、衍生品开发等方面。

影视剧制作方面,欢瑞世纪出品的热播剧有《盗墓笔记》《大唐荣耀》《锦衣之下》《沉香如屑》等。参与联合投资的电影有《革命者》《长津湖》《长津湖之水门桥》《熊出没·重返地球》等。艺人经纪方面,在任嘉伦解约后,目前公司拥有成毅、张予曦、侯梦瑶、张睿、刘学义等签约艺人。

从财报数据来看,2023年公司业绩出现下滑,归母净亏损了3.97亿元,同比下降2312%。

营收方面,欢瑞世纪去年实现营业收入3.36亿元,同比减少43.67%。具体营收构成中,除了艺人经纪收入同比增加13.18%之外,其余同比均出现下滑,如影视剧销售收入同比减少48.89%,综艺同比减少100%,电商同比减少70.44%等。

今年一季度,欢瑞世纪实现营收7184.63万元,同比增长32%;归母净利润1488.18万元,同比增长88%。

根据欢瑞世纪6月21日发布的公告,截至6月20日24时,全资子公司参与投资的电影《我才不要和你做朋友呢》累计票房收入(含服务费)已超过1.68亿元,超过公司最近一个会计年度经审计的合并财务报表营业收入的50%。公司参照深交所有关规定对此进行公告。

不过,欢瑞世纪指出,公司来源于该影片的收益约为6万元(最终结算数据可能存在误差)。由于公司对该影片的投资比例较低,影片的收益对公司整体经营状况影响较小,特此提醒广大投资者注意投资风险。

而从股价表现来看,年内欢瑞世纪处于震荡下跌状态,截至6月21日收盘,每股报2.53元,年内下跌超38%,公司最新市值约为25亿元。

Wind数据显示,二季度以来,欢瑞世纪股东户数也呈现减少趋势。截至6月20日,公司股东总户数已降至3.7万户。

加载中...