新浪财经 股票

帮阿里、顺丰等做客服年入19亿,退美回A的泰盈科技爱买楼?

市场资讯 2023.09.06 19:56

来源:野马财经 

隐匿在大厂背后的“卖水人”。

“互联网上曾经流传过戏弄10086小姐的段子,事实上网友们戏弄的可能不是中国移动的话务员,而是我们的雇员。”

说这句话的人叫王德宝,泰盈科技集团股份有限公司(下称“泰盈科技”)的高级副总裁、财务总监、董事会秘书。王德宝之所以这么说,不仅因为中国移动是泰盈科技的客户,还因为业务流程外包服务是泰盈科技最熟悉的业务。

主营该项业务的泰盈科技,客户个个都来头不小,包括中信银行招商银行、水滴互助集团、阿里巴巴、蚂蚁、字节跳动、美团、京东、顺丰、滴滴、中国移动、中国电信等。如今正向资本市场发起冲刺。

泰盈科技的角色也被称为“卖水人”,卖水人,用通俗的商业语言来解释,指的是那些不直接参与市场“淘金”,而是为“淘金”生意提供产品或服务的人。

服务阿里、滴滴等,年入19亿

“X先生您好!之前有了解到您申请了我行的信用卡,现在我们针对贵宾客户有个信用卡专项活动——分期打折。就是说,您可以把您的信用卡账单分几次偿还,方便您的资金流动,不收取任何利息,只要少量手续费。现在手续费还打折。您看您最近两天要来网点办理吗?”

你是否接到过这样的电话?实际上,给你打电话的可能并不是银行的工作人员,而是外包单位的工作人员,目的是向客户推荐产品,引导、说服客户达成交易,这项业务则被叫做“客户关怀服务”。

互联网的兴起,改变了人们的购物方式。外卖、网购,使得人们不仅与商品隔着网线,和商家同样无法见面。当和商家出现纠纷时,往往需要一个第三方出面“主持公道”,客服人员应运而生。

这只是客服的工作之一,客服利用语音、在线等交互方式,还需要为消费者答疑解惑,处理在使用产品、服务或平台过程中遇到的各类问题,例如产品咨询/订购、操作疑难答疑、技术支持服务、权限标准咨询等。这项工作叫做“客户体验服务”。

这两项业务构成了泰盈科技的主要营收,《招股书》显示,2019年-2021年、2022年1-6月(下称“报告期”),“客户体验服务”和“客户关怀服务”占到其主营业务的95.99%、96.81%、96.37%和94.82%。

图源:《招股书》

数字化运营服务则是指对大量文本、图片、语音、视频等内容进行审核和标注。

需要这些服务的企业不少,金融机构、互联网、传媒及通信、物流及出行等领域内的企业,通过将客服等非核心业务的工作外包出去,不仅能够更好的专注核心业务,也能达到降低成本、提高效率、增强企业核心竞争力的目的。

中信银行、招商银行、水滴互助集团、阿里巴巴、蚂蚁、字节跳动、美团、京东、顺丰、滴滴、中国移动、中国电信等均为泰盈科技的客户。其中阿里巴巴在2019年、2020年、2022年1-6月,均为第一大客户,销售占比在15.19%-22.36%之间。

图源:《招股书》

拥有众多“财大气粗”的大客户下,泰盈科技的营收净利均呈现增长趋势。报告期内,分别实现营收10.85亿元、14.5亿元、19亿元、10.85亿元;净利分别为0.62亿元、1.26亿元、1.4亿元、和0.77亿元。

根据“沙利文行业报告”显示,以2021年数字中后台外包服务解决方案收入计,泰盈科技以约19亿的收入规模,在中国市场排名行业第一。

退美回A后,泰盈科技爱上买楼?

客户大的优势在于不愁生意,但另一方面也意味着某种程度上有所受限。

《招股书》显示,泰盈科技的应收账款不断升高。报告期内,应收账款账面价值分别为 3.04亿元、4.16亿元、5.57亿元和5.85亿元, 占总资产的比例分别为49.1%、49.26%、50.22%和51.47%。

且泰盈科技的资产负债率迅速升高,报告期内,分别为33.73%、37.15%、73.95%和61.94%,远高于同行水平,行业平均为40%左右。

图源:《招股书》

2021年资产负债率骤然升高的原因在于,泰盈科技花4633.33 万美元(约人民币2.96亿元)收购了海南和润100%股权。

这则要追溯到泰盈科技的“美国往事”。2015年12月21日,泰盈科技(CCRC.O)在美国纳斯达克主板上市,被称作国内首家在纳斯达克上市的呼叫中心及电商后台外包企业。不过,2021年7月6日,CCRC(BVI)完成私有化交易,正式从美国纳斯达克证券交易所退市。

为了拆除红筹架构,完成私有化,海南泰盈从境外上市主体(CCRC.O)的子公司China BPO手中收购海南和润100%股权,完成了从境外到境内的转移。收购的2.96亿元费用中,约1.2亿元为泰盈科技自有资金,剩余1.75亿元,则是泰盈科技向招商银行济南分行申请的贷款。

虽然私有化花了不少钱,但泰盈科技依旧不慌,还花上亿买楼。2021年,泰盈科技与智谷建设签署《办公楼销售合同》,向其购买落座在枣庄市淮海数字智谷产业园园区的3处办公楼,3处办公楼评估价格为1.21亿元,最终交易价格为1.17亿元。

值得注意的是,智谷建设成立于2020年4月,且是泰盈科技的关联方。智谷建设由天津天润产业管理有限公司直接持股100%,王德宝配偶孙春梅间接持股20%,并担任执行董事兼经理。

王德宝为泰盈科技的董事、高级副总裁、财务总监、董事会秘书。主要负责公司治理、投资者关系管理、资本运作、政府关系、财务等相关工作,2021年年薪为455万元。

“枣庄房屋购置成本及人力成本相对于一、二线城市较低,有利于公司降低运营成本;其次,公司在枣庄市已经营多年,且枣庄市BPO产业已具备一定规模,发行人在枣庄市购买房产有利于发挥产业集群效应,进一步促进公司业务发展。”泰盈科技表示。

买完楼以后,2023年2月,泰盈科技又以上述3处房产做抵押,在招商银行济南分行贷款1.1亿元。

除了在IPO前买房,此次IPO募的资,泰盈科技还要继续买房。《招股书》显示,此次泰盈科技计划募资8.93亿元,主要用于运营中心建设项目、总部及研发中心项目和补充流动资金。

其中运营中心建设项目包括泰安运营中心、潍坊运营中心、日照运营中心等四个运营中心,1个为购买,3个为租赁。购买的泰安运营中心包括购买、装修在内,需要花费2.19亿元。总部及研发中心的2亿金额中,1.37亿元用于购买、装修总部综合楼、研发中心和培训学院。

图源:《招股书》

上述两者合计购买、装修的费用为3.56亿元,为总募资额8.96亿元的39%。

多家关联公司注销

行业前景广阔

2007年12月,王志利、王德宝、徐国安、郭志强、林龙、孙静、张庆茂、杨晓华八名自然人共同出资设立泰盈科技。其中林龙、杨晓华为王志利亲属,为代其持股。

《招股书》显示,实际控制人王志利能够直接或间接控制公司100%股份对应的表决权。这在A股市场上十分少见,《招股书》显示,2021年王志利的年薪为726.63万元。

图源:《招股书》

“IPO企业实控人百分百控股公司,对于公司治理而言,因为委托代理成本较低而决策效率较高,但是不利于更多的吸引和利用外部优秀人力资源来提升公司治理水平,不利于公司的长期可持续发展。”IPG中国区首席经济学家柏文喜表示。

同时,泰盈科技存在许多关联交易。除了找王德宝配偶孙春梅持股的智谷建设买楼外,装修业务也找自家股东。

泰盈科技向股东张庆茂妹妹的配偶马成忠控制的济南历下成然装饰装修工程部等4家装修公司采购装修服务。《招股书》显示,报告期内交易金额分别为711.45万元、589.08万元、944.32万元及483.59万元。

泰盈科技向王志利实际控制的北京声谷教育投资有限公司(下称“北京声谷)租赁房产,2019年-2021年,租赁费用分别为111.43万元、334.29万元、119.94万元。此外,北京声谷还是泰盈科技的采购商,向北京声谷控制的江苏声谷等公司采购外协外包及人力资源服务。

公开信息显示,江苏声谷、深圳声谷、济南声谷主要从事人力资源相关业务,为泰盈科技提供劳务外包、代理招聘及代缴社保公积金等服务。2019年-2021年,交易金额分别为1289.64万元、583.83万元、20.95万元。

江苏声谷还因资金周转需求,向泰盈科技累计拆借资金150万元,重庆声谷因资金周转需求,曾向公司子公司重庆先特拆借资金,累计拆借金额为137.52万元。2018年、2020年,控股股东泰盈安瑞分别向公司拆借资金63万元及200万元。目前,上述欠款已全部归还。

图源:《招股书》

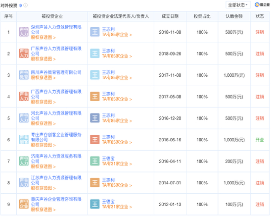
不过,几家声谷公司均已被注销,《招股书》显示,报告期内,泰盈科技28家关联公司注销,包括位于重庆、烟台的两所职业培训学校,还有各地的声谷人力资源管理有限公司,如发生关联交易的江苏声谷、深圳声谷、济南声谷等。

图源:爱企查

注销前的2021年,江苏声谷总资产611.26万元,营业收入99.87万元,净利润-24.91万元;深圳声谷总资产123.02万元,营业收入34.04万元、净利润-12.45万元;济南声谷总资产47.73万元,营业收入143.68万元,净利润-12.07万元。

外呼行业作为在企业与客户连接中的关键桥梁,未来的发展仍如一片蓝海。尤其是近年来,随着AI等人工智能的迅速发展,政策、技术以及下游需求的驱动下,市场规模正保持高速增长。

据“Frost&Sullivan”数据,2017年到2021年,中国数字中后台外包服务市场经历了高速发展阶段,其市场规模从2017年463亿元增长至 2021年965.5亿元,期间年复合增长率为 20.2%。预计从2022年 1163.5亿元增长至2026 年2165.3亿元,期间年复合增长率为16.8%。

泰盈科技作为行业早期的参与者,不仅赚的盆满钵满,在阿里、蚂蚁、滴滴等互联网企业的浸润下,也充满了“互联网属性”,对于资本市场显得十分热衷。2014年9月阿里巴巴在美股上市后,2015年跟随阿里巴巴脚步,泰盈科技也敲响纽交所钟声,成为外呼行业首家纳斯达克上市企业。2021年大环境影响下,又及时退美,选择回到A股大盘。

加载中...