新浪财经 股票

谁给的底气?上市公司状告股民案,幕后还有这家私募

市场资讯 2023.08.11 20:58

  来源:券业行家

因一则“事后披露”的判决书,将起诉股民抱怨的“中科云网”送上了热搜。而这家被“吐槽”的上市公司,其间接股东方中出现了某家私募机构。

起诉股民引发热议

因故深居简出的行家,吃到了一口大瓜。

因中科云网(002306.SZ)股价下跌,股民们在其股吧发帖抱怨。而这家上市公司可能也是太闲,竟然以“侵害名誉权”为由,将两名发帖者及股吧的运营方——“券茅”东方财富,告上了法庭。

据财通社等媒体报道,上海市嘉定区人民法院(简称:嘉定区法院)驳回了中科云网(全名:)全部诉讼请求。上海市第二中级人民法院(简称:上海二中院)驳回中科云网上诉,维持原判。

经常被投诉的行家,对判决书中的表述深以为然。

“因股价持续下跌而发布的带有明显主观色彩的言论和负面情绪的抒发,属于个人意见的表达,其并无虚构事实、恶意诽谤的故意及过失”。“作为面对公众的公司,对股民因缺乏专业知识及难以避免夹杂的主观情绪而发布的可能缺乏一定客观性的评价言论,应保有更大的容忍度”。

消息一出,顿时引发关注。热度飙升之下,新浪财经连夜设置了 #中科云网起诉抱怨股价下跌的股民败诉# 专题。

而在原始出处的股吧,网友也是吐槽不断。

就在今天(2023年8月11日),中科云网又下跌了1.23%。行家不知道,这家上市公司是否会继续起诉股民。

私募机构间接参股

因利益无关,行家对这家上市公司无感。但在公允的角度,行家更感兴趣的是其主要股东。

据中科云网年报披露,控股股东为上海臻禧企业管理咨询合伙企业(有限合伙)(简称:上海臻禧)。而实际控制人陈继先生,作为中科云网的法定代表人、董事长,也出现在诉讼文件中。

股权穿透发现,上海臻禧现有五家股东:西藏飞叶创业投资管理有限公司(简称:西藏飞叶)和上海高湘投资管理有限公司(简称:高湘投资)持股比例均为41.6435%。实控人陈继直接持有上海臻禧16.6574%的股权,并且是高湘投资持股50%的股东。由高湘投资持股60%的上海泓甄投资管理有限公司(简称:泓甄投资)持股0.0278%,并且是上海臻禧执行事务合伙人。上海飞叶投资管理中心(有限合伙)(简称:飞叶投资)持股比例为0.0278%。

两家都是“飞叶”,是否有什么关系?进一步查证,行家发现飞叶投资是一家成立于2014年的私募机构;此前曾经发行三只产品,目前均已清算,没有在管产品。

而西藏飞叶唯一一家股东为上海和熙投资管理有限公司(简称:和熙投资),同样是私募机构,且规模相当可观。

高管履历金字招牌

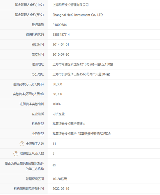
据中基协备案信息,和熙投资成立于2010年7月,2014年4月首批完成备案。注册资本和实缴资本均是3.8亿元。

目前,和熙投资有11名员工,其中8名取得基金从业资格。在管产品12只,管理规模在10亿元到20亿元之间。

执掌这家规模不小的私募,主要高管的履历颇有看点。

法定代表人郑路女士,从2009年9月到2010年6月期间是盛大的在线客服。她在和熙投资从行政工作做起,曾在飞叶投资登记执业。2018年8月,她成为和熙投资法定代表人。

总经理康伟,早在上个世纪就在中兴信托上海研发部任职。履历显示,他曾任申银万国证券研究所总经理,中海信托副总经理、中海基金总经理等职,可以说是资深金融人士。

副总经理李晔希,出身“四大”,曾在普华永道、汇丰银行、美林亚太和中海信托任职。在担任和熙投资副总经理多年后,他于2020年7月兼任合规风控负责人和信息填报负责人。

涉诉公告惊现钜派

截至目前,中基协未披露和熙投资的诚信提示,唯一一条红字提示为存在逾期未清算基金。

另据企查查统计,和熙投资现有53条涉诉信息。

行家翻了翻,日期较近的诉讼中,出现了劳动争议案(原告撤诉),以及与震旦国际大楼(上海)有限公司的房屋租赁纠纷案。

今年6月,因委托合同纠纷,某投资者向上海市金融法院起诉,被告方包括和熙投资,上海钜派投资集团有限公司(简称:钜派投资)及钜洲资产管理(上海)有限公司(简称:钜洲资产),还有国泰君安中信证券两家券商。

由于这起案件未见后续更新,行家不确定,和熙投资与“钜派”是否还有别的关联。

旗下参股上市公司深陷舆情,作为私募机构,是否会受到波及?

加载中...