新浪财经 股票

王健林为万达电影找来二当家

市场资讯 2023.07.12 20:10

来源:地产K线 

最近的电影市场不乏热度,《消失的她》、《八角笼中》在端午节之后掀起一波热度,《长安三万里》、《碟中谍 7》等影片也即将上映。在此前的春节档和五一档,均有优质影片助力。

可以看到的是,疫情之后的电影行业正在回暖,万达方面却再三减持万达电影股份。

7月11日晚间,万达电影发布公告,控股股东北京万达投资有限公司(简称“万达投资”)拟向陆丽丽协议转让公司股份1.8亿股,占公司总股本的8.26%。万达投资表示,转让公司股份是出于自身资金的需求。

目前,万达投资为万达电影的第一大股东,杭州臻希投资持股6.19%,为第二大股东。也就是说,此次交易完成后,受让方陆丽丽将成为万达电影的第二大股东。

陆丽丽身份值得关注,她的丈夫,是东方财富的实际控制人其实,而陆丽丽本人也是东方财富的股东之一,持股比例2.31%。其实与沈友根系父子关系,三人合计持有东方财富22.82%股份。

这是东方财富首次与万达电影产生交集。就业务关联而言,东方财富旗下已有一家100%控股的影视传媒公司,名为“浪客网络科技有限公司”,资料显示,该公司成立于2016年5月,经营范围包含电影制作、电影发行、电影放映等与电影产业相关的业务。

陆丽丽方面表示,支付资金系其自有资金,本次权益变动是其基于对公司长期投资价值的认可,在未来12个月内暂无继续增加其在上市公司中拥有权益的股份的计划。

在此消息的影响下,7月12日开盘,万达电影的股价一度上涨超3%,截至收盘,股价为13.91元,涨幅0.51%。

两个月套现29亿

据悉,转让价格为12.07元/股,约为签署日前一个交易日标的股票收盘价的90%,总交易金额21.73亿元。根据协议,陆丽丽应支付首期付款人民币10亿元,并应于首期付款支付后30日内将剩余转让价款11.73亿元划转至受让方开立的由双方共管的银行账户。

转让前,万达投资持有万达电影7.93亿股,占后者总股本的36.40%,万达投资及其一致行动人合计持有万达电影8.53亿股,占总股本的39.16%。转让完成后,万达投资持有万达电影股份6.13亿股,占公司总股本的28.14%,万达投资及其一致行动人合计持有公司股份占公司总股本的30.90%。

这并非万达方面首次减持万达电影。

今年4月中旬,万达投资发布公告称将计划通过集中竞价方式和大宗交易方式减持万达电影股份不超过6538万股,占公司总股本的3%,减持市值约9.53亿元,6个月内减持完毕。减持原因是“自身资金需求”。

此后在5月23日至6月13日期间,万达投资通过集中竞价方式和大宗交易方式,减持万达电影股份 3718.77万股,套现约4.47亿元;自6月12日至7月7日期间减持万达电影2245.74万股,套现约2.89亿元。

据万达投资出具的《股份减持告知函》,截至7月10日,万达投资上述减持计划已累计减持公司股份5658.5万股,占公司总股本的2.5964%,其中通过集中竞价方式减持股份计划已实施完毕。

加上此次转让所得的21.73亿元,万达投资在两个月时间内已通过万达电影套现约29.09亿元。

早在3月份,万达文化集团已经通过大宗交易减持了2%股份,套现约5.83亿元。对于减持的原因,万达文化表示,用于偿还部分股票质押贷款,降低质押风险。

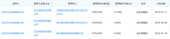
另外,今年以来,万达投资先后三次质押万达电影股份。截至目前,万达投资累积被质押的股份数量为1.3665亿股,质押股份市值超19亿元。

减持背后

度过市场低迷期之后,这半年来,万达电影的股价上升了约50%。但相比于2015年上市之初的最高点,跌幅仍超过80%。

随着市场的回暖,万达电影的业绩也在修复之中。7月3日晚间,万达电影发布公告称,预计上半年实现归母净利润3.8亿元至4.2亿元,与上年同期相比扭亏为盈;预计扣非归母净利润为4亿元至4.5亿元,同样扭亏。大幅扭亏的原因是,万达电影在上半年实现营业收入67亿元至69亿元,较上年同期增长35.6%至39.7%。

就二级市场而言,万达电影自6月26日录得近两个月的最低值11.5元后,震荡中上升,正维持在一个小高位。按照目前电影行业的发展趋势,万达电影不失为万达系的优质资产。屡次减持背后,不难看出万达所面临的资金压力。对于这一点,万达投资也有明确表示,减持是出于自身资金需求。

万达投资由北京万达文化产业集团有限公司持股98.8%,王健林持股1.2%,股权穿透后发现,万达投资的实际控制人为王健林。换句话说,是王健林“缺钱”了。

对当下的万达系而言,最重要的当属珠海万达商管的上市。不久前,珠海万达商管已经第四次递表。

根据与投资人的协议,珠海万达商管若不能于 2023 年底成功上市,发行人需向上市前投资者支付约 300 亿元股权回购款。与此同时,大连万达集团还有境外总计13亿美元的三笔银行贷款,也与珠海万达商管的上市进程挂钩。对此,目前万达与银团参贷行已将合同约定的上市日期调整为2023年11月30日。

今年开始,大连万达商管就已经开始频发境外债,1月13日发行了一笔4亿美元的境外债;2月6日发行了一笔3亿美元的境外债;3月21日万还拟发行一笔60亿元的境内债券,但在向港交所四次递表时,大连万达商管主动申请中止发行60亿元公司债注册程序,原因为市况未达公司预期。

近日,珠海万达商管新增两条股权冻结信息,一笔冻结股权数额为1亿,冻结期限自2023年7月5日至2026年7月4日,执行法院为山东省德州市中级人民法院;另一笔冻结股权数额约为50.72亿元,冻结期限自2023年7月4日至2026年7月3日,执行法院为广东省湛江市中级人民法院。

两笔被执行人均为大连万达商业管理集团股份有限公司。但几天后,被冻结的50.72亿元股权又被解冻,具体原因未知。

加载中...