新浪财经 股票

又现30cm涨停,北交所汽配板块集体爆发!股价迭创新高,这只个股被机构买爆

证券时报网

关注

  原创:北证资讯

今日北交所个股走势活跃,汽车配件板块表现惊艳,3只个股位居沪深京三个交易所涨幅榜前列,其中骏创科技强势30cm涨停,多只个股股价再创新高。

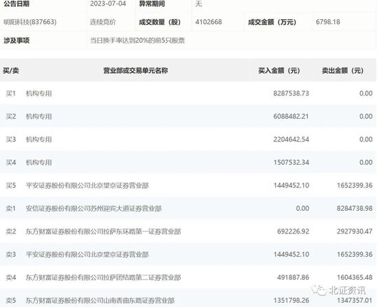
由于成交活跃,今日6只个股登上北交所龙虎榜,数据显示,明阳科技买入榜前四个席位被机构包揽,多只个股被大手笔买入。

汽配板块涨幅爆表

今日北交所市场多数个股活跃,北证50指数小幅上涨,总成交额为18.31亿元,连续第五个交易日超过15亿元。

汽配板块今日再度爆发,多只个股在沪深京三个市场涨幅榜前列,骏创科技高开高走,收盘封于30cm涨停,收报20.7元,再度刷新股价纪录,总市值超过20亿元。

泰德股份盘中拉升,最高一度触及5.07元,股价创出北交所上市以来新高,至收盘涨幅仍超16%,该股全天振幅近28%。

此外,易实精密全天涨近15%,华原股份、万通液压分别涨近12%,苏轴股份、旺成科技均涨超10%,三祥科技、明阳科技、巨能股份3只个股上涨逾8%,明阳科技、巨能股份再创上市以来收盘价新高。

资料显示,骏创科技处于汽车零部件及配件制造业,研发、生产、销售的主要产品为汽车塑料零部件、汽车金属零部件,以及配套产品制造所需要的模具。业绩方面,公司今年一季度延续去年增长的态势,前3月营收同比增长29%至1.6亿元,净利润1970万元,同比大增1.5倍。

从成交来看,今日汽配板块个股成交相当活跃,多只个股换手率超过20%。其中巨能股份、骏创科技成交额分别达1.69亿元、1.43亿元,换手率分别为29.91%、22.26%;明阳科技换手率达31.63%,此外泰德股份、易实精密、瑞星股份、旺成科技、汇隆活塞等5只个股换手率均超过20%。

北交所市场资深人士、广东力量私募基金管理有限公司总经理朱为绎分析,今天北证50指数不温不火,继续保持15个亿以上的成交金额。个股方面,涨幅8%以上的股票有10只;换手率5%以上的股票16只,换手率20%以上的股票8只,明阳科技换手率31.63%,“今天北交所的换手率真棒”。

在朱为绎看来,今天尽管北证50指数表现不好,但是个股表现精彩纷呈,机器人概念股超越AI概念股,尤其是汽车概念股搭上机器人概念,想象空间更大,因为中报将至,这些企业具备估值低和成长性较好的特点,所以出现一飞冲天就不为过,大家轮番接力,北交所类似股票又特别多,容易形成较好的板块效应。昨天一度涨停的沪江材料,今天收盘下跌,这说明一个道理:孤木难支。

“今天换手率超过20%的股票有8只,也就是说有几只涨幅较大的股票是看不到龙虎榜的,这种现象仅在今年春节后那一波行情的时候才出现过。”他认为,接下来要盯着北交所半年报业绩,逢低布局。

在资深新三板评论人、北京南山投资创始人周运南看来,作为特斯拉概念股的骏创科技、泰德股份2只个股今日走势相当抢眼。他分析,近期汽配股炒成机器人概念股的过程中,不少汽配股反复活跃,让市场机会和赚钱效应不断,就看投资者把握机会的能力和时机了。

机构频繁现身买入

北交所盘后披露的数据显示,骏创科技、明阳科技、巨能股份、泰德股份、瑞星股份、易实精密6只个股登上北交所今日龙虎榜,多只个股出现机构身影。

最为亮眼的是,明阳科技今日的买入榜前四个席位被机构包揽,位居买入榜一的机构专用席位合计买入828万元,榜二买入超600万元,榜四买入金额也超过150万元,且这四家机构卖出金额均为0。

昨日在北交所上市的瑞星股份,今日再度走弱,不过其今日买入榜一出现机构专用席位,且买入金额超过1000万元,达1150万元,该机构今日卖出瑞星股份金额为0。

被视为散户聚集地的“拉萨天团”现身多只今日大涨的个股,巨能股份的买入榜和卖出榜均有多个“拉萨天团”营业部。泰德股份、易实精密的龙虎榜分别出现“拉萨天团”身影。

而今日强势涨停的骏创科技,获游资大手笔买入,其买入榜一为中信证券股份有限公司北京金融大街证券营业部,买入榜二为海通证券股份有限公司太原新建路营业部,这2家营业部今日买入骏创科技金额分别为1195万元、1071万元,均超过1000万元,且卖出金额均为0。值得一提的是,该股卖出榜五为机构专用席位,今日共卖出338万元。

实际上,汽配公司近日受到机构的关注度较高,泰德股份、苏轴股份近日两次披露接受机构调研,易实精密、明阳科技同样在日前迎来机构调研。

继6月27日接待一批机构网络调研后,泰德股份又紧接着于6月29日接待了9家机构的现场调研,调研的机构包括公募基金天弘基金以及多家证券公司

泰德股份主业为汽车轴承研发、生产和销售,在调研中公司的产品应用、人形机器人的轴承使用量和价值量受到关注。对此公司介绍称,公司属于专精特新小巨人企业,具备专业化、精细化、特色化、新颖化的特征,产品有特定使用的场景,较难实现普适性。

另据泰德股份介绍,一个人形机器人轴承用量相对较大,应用场景不同使用轴承数量也有所不同。球轴承的价值总量在整个人形机器人所使用轴承总价值量中占比较大。

加载中...