新浪财经 股票

自曝违规担保的“三盛系”,拖累了多少金融机构?

市场资讯 2023.05.06 20:29

来源:独角金融

闽系房企老板林荣滨的“双千亿”目标早已落空。

2018年底,三盛集团老板林荣滨提出,旗下地产平台三盛控股(2183.HK)三年内实现地产资产千亿元、销售千亿元的目标,这背后表明了林荣滨急切做大地产规模的野心。

随着2020年地产“三道红线”政策的出台,三盛控股扩张时机可谓“生不逢时”。2020年开始,三盛控股的资产负债率逐年攀升,公司陆续裁员、高管出走、内部理财兑付困难、美元债展期……

早期依赖加杠杆高周转,誓冲千亿言犹在耳,如今只能自尝苦果。三盛控股在等待林荣滨挽救危局之际,2022年11月3日,因信息披露违规,*ST三盛(300282.SZ)原董事长林荣滨却被证监会立案调查。近日,*ST三盛还连发30余篇公告,除了披露业绩亏损外,还自曝旗下公司违规担保4.5亿元。

林荣滨旗下的企业问题远不止于此。三盛集团起家的以从事橡胶和塑料制品为主的企业——福建三盛实业有限公司(下称“三盛实业”),2022年10月宣布解散,截至目前,该公司总计被执行金额超过1亿元。而林荣滨控股的福州三盛置业有限公司,被执行金额则超过12亿元。

图源:天眼查

就这样,林荣滨旗下的“三盛系”留下一地鸡毛。

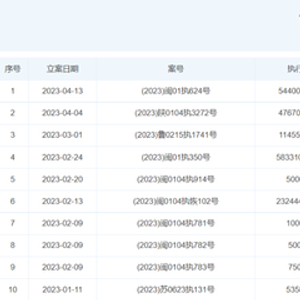
随着债务危机浮出水面,从裁判文书网或天眼查等公开信息,包括厦门银行福州分行、兴业银行北京双井支行、恒丰银行福州分行、大连银行、民生银行常州支行以及华融资产等金融机构也被“三盛系”拖累,其中3笔资金逾期超过7亿元。

1

兴业银行双井支行“踩雷”,逾期2亿

近日,*ST三盛披露了2022年度报告。毫无意外,林荣滨此前担任5年董事长(2023年3月初退出)的教育科技企业,已经连续亏损3年。

2022年,*ST三盛实现营收2.29亿元,同比下降41.85%;净利润-2.43亿元;2020年、2021年,该公司净亏损分别为7.14亿元、1.63亿元。

就在去年9月末,还未披星的ST三盛易主了。

2022年9月28日,ST三盛公告内容显示,控股股东卓丰投资将7411万股公司股票拟转让给深圳太力科新能源科技有限公司(下称“太力科技”),交易对价8.21亿元。

转让完成后,太力科技将持有ST三盛19.8%的表决权,成为公司新的控股股东,戴德斌成为公司实控人。

从天眼查信息看,2023年3月,公司董事长已由林荣滨更换为戴德斌。这意味着,控股近5年后,林荣滨终将*ST三盛的控制权脱手。

而涉嫌信息披露违法违规,2022年11月林荣滨及ST三盛被证监会立案调查后,目前尚未结案。不排除未来存在被处罚的风险。

此外,*ST三盛还披露了旗下公司违规担保事件。

*ST三盛子公司湖南三盛新能源有限公司在银行存入的4.5亿元定期存单被质押,其中有2.5亿元为河南环利商贸有限公司提供担保,给河南昭穗实三盛智慧教育科技股份有限公司提供2.5亿元担保。

图源:年报

而该起担保事件,未经过董事会和股东大会审批。但*三盛旗下公司违规担保并非首次发生。2022年上半年,*ST三盛就有过违规担保事件。根据公司披露,公司存在以银行定期存单为实控人的关联公司或指定公司提供9.02亿元的质押担保,占公司2021年度经审计净资产的57.12%。

北京时择律师事务所臧小丽律师曾指出,违规担保未及时披露,侵犯广大投资者的知情权,该事项也是影响投资者投资决策的重大事件,因此遭到亏损的股民可以通过参加诉讼的方式进行索赔。

正是违规担保,加上经营一直未有改善,也让股票简称从“ST三盛”变更为“*ST三盛”。从逐年盈利到连亏3年、从易主到违规担保,无不显示出原实控人林荣滨的财务困境。

根据*ST三盛年报,该公司与兴业银行北京双井支行签订一年期2亿元借款合同,2023年4 月1日到期,由三盛集团、林荣滨、程璇提供连带责任保证。目前,该笔借款已经逾期。

2

来时的路

林荣滨的事业起源于制造业。

2006年成立的三盛实业,座落于福建省闽侯县,是一家以从事橡胶和塑料制品为主的企业,注册资本2500万美元,法人代表为丁秀琴。早在2009年以前,三盛实业的董事长为林荣滨,2009年8月变更为林早治,2022年10月,该公司解散前董事长变更为丁秀琴。

作为发展近20年的当地明星企业,三盛实业几乎在当地人尽皆知,并且在亚洲橡塑发泡行业有着较高的知名度,发展也顺风顺水。但通过天眼查和裁判文书网的公开信息看,以前逐年盈利的三盛实业,现如今却风波不断,除了公司解散外,还背负金额不小的债务。

图源:天眼查

2022年10月31日,名为“三盛实业”官网发布了《2022年10月31日 福建三盛实业股东决议:解散公司》的内容显示,近期,公司股东发现公司原总经理郑孙兴、原副总经理林秀琴伙同外部人员林荣滨实施了多起涉嫌违法犯罪的行为,包括伪造公司董事会决议在银行违规贷款、为林荣滨控制的地产公司提供近20亿元担保,将公司价值超过10亿元的资产转移到至林荣滨控股的壳公司等。

回顾林荣滨进军地产行业,2000年开始,林荣滨以及哥哥林荣东将目标瞄向地产,2013年创立三盛集团,并在全国40多个城市拥有120多个地产项目。2017年,林荣滨将三盛控股借壳利福地产登陆港交所

图源:腾讯图库

按照销售额排名,2018年,三盛控股进入国内房地产企业排行榜前50名,名列第45位。

2019年,林荣滨曾喊出3年内实现资产千亿、销售千亿的双千亿目标,2020年三盛控股实现营业收入87.8亿元,归母净利润8.09亿元,同比分别增长329%、1068%。

但在房地产市场去杠杆等调控、房企流动性紧张的背景下,三盛控股也无法独善其身。2021年报显示,三盛控股的银行贷款及其他借款合计133.3亿元,其中一年内到期借款约47.1亿元,一年后到期借款约101亿元。

2022年5月18日,国际评级机构穆迪对三盛控股企业家族评级由“B2”下调至“B3”,评级展望维持负面。

就在上市公司年报交卷期,三盛控股公告称延期披露2022年报。

面对债务及纠纷,三盛集团可能需要大量资金解决、盘活相关地产项目开发销售。而以8.21亿元价格将*ST三盛控股权转让,明显也是筹资偿债之举。

3

多少金融机构受牵连?

资金链危机下,“三盛系”从银行的贷款发生逾期,双方因此对簿公堂。

2021年2月24日,厦门银行福州分行与三盛实业签订《授信额度协议》,约定该行向三盛实业提供3.05亿元为期1年的借款。

其中,这笔借款以三盛实业名下一处厂房及土地、5整座楼宇作为抵押物为该笔授信提供担保,此外,程璇、林荣滨、福建三盛房地产开发有限公司(下称“福建三盛地产”)、福州三盛置业有限公司提供连带责任保证担保。

在贷款到期前,原告与借款方以及连带责任保证方协商一致,对贷款展期至2023年3月17日。

因2.58亿元借款未还,厦门银行福州分行作为原告,对借款方及4名保证方提起诉讼,该诉讼在4月中旬进行了开庭审理。

还有一起来自与民生银行常州支行的纠纷。2022年8月10日,该行向法院申请冻结“三盛系”银行存款2.36亿元,或查封相应价值的财产。

图源:裁判文书网

值得注意的是,2023年4月份,有知情⼈⼠曾向“财新”透露,2020年8月12日,三盛实业旗下公司烟台盛祥置业有限公司(下称“烟台盛祥置业”)向大连银行申请房地产开发贷款18亿元,贷款期限为3年,三盛实业为该笔贷款提供担保。

这是否与“三盛实业”官网披露的“为林荣滨控制的地产项目公司提供近20亿元担保”,就是盛祥置业向大连银行所借的18亿?目前暂不得而知。

从18亿贷款还款时间看,应在2023年8月份左右。如果地产项目开工正常对于还款是件好事,而一旦延期开工,这笔贷款又能否按时偿还呢?

零壹智库特约研究员于百程对此分析称,按监管要求,银行一般将逾期90天以上的贷款计入不良。而对于尚未到期的贷款项目出现风险,银行根据实际情况,分类采取主动措施控制风险。房地产项目风险是各家银行风险防控的重点,在保交楼的背景下,银行会通过推动项目开发销售、并购重组、共建共管等方式推动风险化解。

面对债务压力,三盛集团旗下多家公司实控人由“林荣滨”变更为“江巧玲”,不知是避免诉讼纠纷还是被债权人追讨欠款有关?但可以确定的是,林荣滨的债务压力不言而喻。

三年“双千亿”梦碎后,银行提供给“三盛系”的资金,还有多少已经成为坏账?评论区聊聊吧。

加载中...