新浪财经 股票

还不起500万,豆神教育被启动预重整后,用ChatGPT写内部公开信

市场资讯 2023.04.02 17:25

中国基金报记者 忆山         

3月的最后一天,负债超35亿元的豆神教育被法院启动预重整了!

根据公司发布的公告,因无法清偿500万元本金及相应利息,公司被债权人申请重整,而为了降低重整成本、提高重整成功率、有效识别重整价值及可行性,北京一中院决定对公司启动预重整。

值得注意的是,不久后,豆神教育致团队全体伙伴的内部公开信在网络流传,文中强调,这封信的每个字都是由ChatGPT生成的。         

500多万未偿还,豆神教育被申请重整

3月31日晚间,豆神教育发布公告,称公司于当日收到北京市第一中级人民法院送达的《通知书》及(2023)京01破申280号《决定书》,公司债权人佟易虹以公司不能清偿到期债务,且明显缺乏清偿能力为由,向法院申请对公司进行重整,并申请启动预重整程序。为降低重整成本、提高重整成功率、有效识别重整价值及可行性,北京一中院决定对公司启动预重整。

根据公告,债权人佟易虹与豆神教育于2019年6月10日签订《借款合同》,合同总金额为500万元,并就借款利率及期限等约定达成一致。截止目前,佟易虹已履行上述合同约定的全部义务,公司则尚未清偿佟易虹对公司享有的合法到期债权,债权金额为本金人民币500万元及相应利息。

豆神教育表示,根据《深圳证券交易所创业板股票上市规则(2023年修订)》的相关规定,若法院依法裁定受理申请人提出的重整申请,公司股票将被实施“退市风险警示”;如果公司顺利实施重整并执行完毕重整计划,将有利于优化公司资产负债结构,提升公司的持续经营及盈利能力;如果公司重整失败,公司将存在被宣告破产的风险。若被宣告破产,则公司股票将面临被终止上市的风险。敬请广大投资者注意投资风险。

不过,豆神教育强调,预重整为法院正式受理重整前的程序,本次北京一中院决定对公司启动预重整,不代表北京一中院最终受理债权人对公司提出的重整申请,不代表公司正式进入重整程序。截至本公告披露日,公司尚未收到法院受理重整申请的文件,公司是否会进入重整程序,尚存在不确定性。无论是否进入重整程序,公司将在现有基础上积极做好日常经营管理工作。

ChatGPT生成内部公开信

根据网传截图,3月31日,豆神教育总裁办发布了《致豆神教育团队全体伙伴的一封信》。

内容显示,豆神教育已经进入预重整程序,“这是我们在过去一年半的努力下取得的重要成果,也是我们面对困难时的又一次胜利。”

豆神教育表示,过去几年中,公司成功实现业务转型,但债务问题一直没有找到最优解,如今启动预重整程序将为公司带来很多好处,“首先,我们的债务将会完全消除,这将使我们的公司更加健康和稳定。其次,我们将会优化股东结构,引进更多有实力的伙伴一起实现我们的愿景。最重要的是,我们将能够彻底摆脱困境,继续追逐梦想成为最伟大的教育科技、教育数据服务公司等等。”

值得注意的是,豆神教育还在文中单独声明,称这封信的每个字都是由ChatGPT生成的,公司CEO窦昕“目前正在为豆神教育学员的文史研学游轮之旅踩点,无法亲自撰写此信。”         

负债总额超35亿元

公开资料显示,豆神教育科技(北京)股份有限公司成立于1999年1月,于2009年10月上市,注册资本约8.68亿元。公司主营业务为智慧教育服务和学习服务。

那么,如今连500万都无法清偿的豆神教育,债务到底有多少?

根据豆神教育公告披露,截至2022年9月30日,公司资产总额达33.63亿元,负债总额为35.1亿元,已明显资不抵债。         

经营业绩方面,从历年财报数据来看,上市9年内豆神教育利润整体呈上涨趋势,并在2016年达到历史最高位,当年实现归母净利润2.8亿元,同比增幅115.38%。

不过此后公司营收便逐年下滑,2017年至2021年5年内仅有2年实现盈利,合计净利润2.25亿元,2018年、2020年、2021年则分别净亏损13.95亿元、25.67亿元、5.92亿元,5年累亏超43亿元。

根据2022年业绩预告,2022年公司预计净亏损为6.1亿元-7.3亿元,相较于上期净亏损进一步扩大;预计扣非净亏损为5.1亿元-6.1亿元,相较于上期有所收窄。报告期内公司预计营收9.7亿元-11.5亿元;期末净负资产约5.77亿-6.87亿元。

豆神教育在前述业绩预告公告中表示,2022年度受疫情影响,公司TOB端业务开展受到一定影响;受政策影响,TOC端线下业务除北京地区保留少数区域外,其余地区全部关停,但依托新经济形态,公司直播销售业务在报告期内取得了较好增长。

基金君查阅2022年半年报发现,2022年上半年,豆神教育通过抖音直播电商销售收款约1.59 亿元,该体量的直播营收,面对超35亿的负债显然有些杯水车薪。

同时,从抖音直播平台来看,目前豆神教育主力账号“窦昕 @豆神天蝎星”约268万粉丝,对比东方甄选直播间约2976万粉丝,还不到其十分之一。

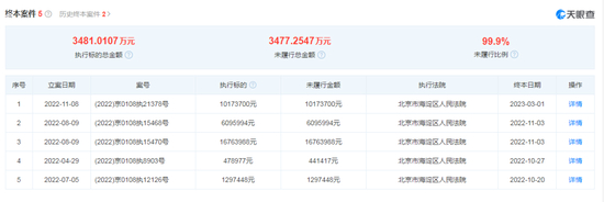
另据天眼查显示,目前豆神教育被执行总额超9.5亿元,且存在多个终本案件信息,未履行金额超3477万元,未履行比例达99.9%。公司和创始人窦昕也多次被列进限制高消费名单。

股价方面,截至3月31日收盘,豆神教育每股报3.57元,年内跌超17%,公司市值缩水至31亿元。         

加载中...