新浪财经 股票

连花清瘟价格暴涨?不同药店差4倍!以岭药业:正扩大生产!

证券时报e公司

关注

连花清瘟断货的消息不断发酵。继总部员工需排队购买、多地药店断货之后,市场上已经出现了坐地起价的现象,同一品规的产品在同一渠道上的报价差距超过4倍

12月6日晚间,以岭药业在互动平台上表示,公司近来连花清瘟供货价格保持稳定。如果消费者发现个别终端出现涨价情形,请及时向当地相关部门进行反映。目前公司正在采取各种措施扩大生产,全力保障市场供应。

为维稳市场价格,监管也出手了。杭州市监局提醒称,不得借疫情防控之机大幅提高医疗药品及用品的销售价格;不得囤积居奇、哄抬物价、牟取暴利以及散布涨价谣言;违者最高可处500万元的罚款。

市场价差距超4倍

连花清瘟系列产品连续多次被推荐进新冠肺炎诊疗方案里,近期由于各地的防疫政策相继放宽,大家囤药热情高涨,再次引发了该药的市场哄抢现象。

据报道,11月下旬,连花清瘟在经历“缺货”风波后,部分药店对连花清瘟胶囊均有不同程度提价。彼时,有药店0.35g*48粒/盒规格的连花清瘟胶囊售价46元/盒。若以以往约30元/盒的普遍售价计算,已提价超50%。

而近期,部分药店的提价空间更大。

e公司记者查看京东美团阿里健康等多平台发现,各大平台的连花清瘟胶囊还可以下单,不过确实存货不多,不同药房之间的价格差距较大。

例如,美团外卖APP上可以配送深圳地区的连花清瘟胶囊(0.35g*24粒/盒)仅两家药店,而这两家药店的报价相差约4倍:一家报价65元,一家报价12.1元。而同样品规的连花清瘟胶囊,京东大药房的价格是14.8元。

这差距为何如此大?再细看,以岭药业的连花清瘟胶囊有两种包装,一种是商标印着“连花”字样,另一种印着“以岭”字样。

据记者了解,这两种包装的主治功能是一样的,只是新老包装之间的替换而已,现在市场上两种包装并存。

在此之前,以岭药业发布过《关于连花清瘟胶囊/颗粒包装形式的说明》,指出市场上在有效期内的连花清瘟产品有两种外包装形式,是因为企业在优化产品分类管理,将呼吸系统相关产品统一使用“连花”商标,将原“以岭”商标的老包装更换为“连花”商标的新包装。

目前,美团药房上价格差距较大的是“连花”牌产品,京东大药房上卖的是“以岭”牌的产品。但实际上,在京东APP上,不同药房的售价也不尽相同,单价从14元-70元之间不等。

监管出手,厂家回应

对于连花清瘟产品遭市场哄抢、价格差异大的问题,监管忍不住出手维稳,厂家以岭药业也出来表态。

12月5日晚间,杭州市监局发布《关于医疗药品及用品价格行为提醒告诫书》,提醒各医药用品经营者及相关单位要用好自主定价权,依法合规经营,开展公平有序的市场竞争,自觉维护药品市场价格秩序。积极履行社会责任,采取多种措施组织货源,保障市场供应。

杭州市监局还指出,不得借疫情防控之机大幅提高医疗药品及用品的销售价格,经营者要严格控制进销差价在合理范围内,不得囤积居奇、哄抬物价、牟取暴利以及散布涨价谣言。

根据《价格法》和《价格违法行为行政处罚规定》等法律法规规定,经营者违反明码标价规定的,责令改正,没收违法所得,可以并处5000元以下的罚款;有价格欺诈行为的,最高可处50万元罚款;对捏造、散布涨价信息,哄抬价格,囤积居奇,推动商品价格过快、过高上涨行为的,最高可处300万元的罚款;对相互串通,操纵市场价格造成商品价格较大幅度上涨的,最高可处500万元的罚款。

作为厂家的以岭药业也坐不住了。12月6日晚间,以岭药业在互动平台上回应称,公司近来连花清瘟供货价格保持稳定。如果消费者发现个别终端出现涨价情形,请及时向当地相关部门进行反映。目前公司正在采取各种措施扩大生产,全力保障市场供应。

10月份以来,以岭药业股价已经翻倍。12月6日,该股冲高回落,最终收跌2.08%,全天成交超100亿元。

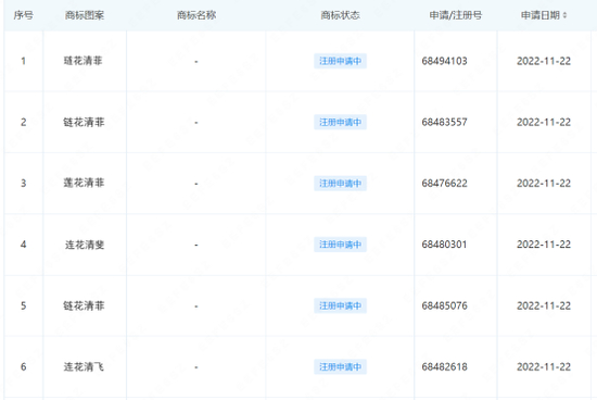
值得注意的是,近期市场上还有不少假冒连花清瘟的产品,以“莲花”、“清温”等近似词伪劣假冒产品,售价更是高达上百元。更有甚者,还有商家正在抢先注册“连花清温”、“莲花清温”、“莲花清瘟”等商标。

为了杜绝其他不良商家注册近似商标后生产伪劣产品,以岭药业近期也与之进行了一场时间竞赛。企查查资料显示,以岭药业近期提交了“琏花清菲”、“莲花清菲”、“连花清斐”、“连花清飞”等一批近似读音的商标注册申请。不过,这些商标的申请分类并不是药物,而是啤酒饮料、方便食品等。

加载中...