新浪财经 股票

机器人龙头埃斯顿被外资买到“上限” 嗅到了什么?还有5只个股逼近“暂停买入线”

券商中国

关注

原标题 这家机器人龙头快被外资“买爆”了 嗅到了什么?还有5只个股逼近“暂停买入线”

华测检测后,又一只A股被外资爆买到“上限”。

深交所披露数据显示,截至6月23日,QFII/RQFII/深股通投资者对埃斯顿的持股比例为28.21%,已经突破外资28%的暂停买入线,上一交易日为27.86%。按照规定,当某只A股的境外投资者持股比例合计达到了28%或以上时,上交所或深交所将通知港交所方面,而港交所方面将按照实际可行的情况尽快暂停相关买盘,直到上交所或深交所表示外资持股比例降至26%以下。

在此之前,华测检测已经长时间处于外资持股超28%的状态,与此同时,根据上交所和深交所数据,全市场还有5只个股已经超过26%的预警线,逼近28%的暂停买入线,分别为先导智能广联达国瓷材料东方雨虹珀莱雅

埃斯顿被外资买到“上限”

根据沪深交易所证券交易实施细则和港交所相关规定,外资持有A股有三大临界线,分别为预警线26%、暂停买入线28%与强制减持线30%:

当外资持股达到或超过该公司股份总数的26%时,交易所将于下一交易日开市前披露境外投资者已持有该公司A股的总数及占比。

当某只A股的境外投资者持股比例合计达到了28%或以上时,上交所或深交所将通知港交所方面,而港交所方面将按照实际可行的情况尽快暂停相关买盘,直到上交所或深交所表示外资持股比例降至26%以下。

所有境外投资者对单个上市公司A股的持股比例总和,不超过该上市公司股份总数的30%。如果发生了主动买盘行为导致的持股比例上升到30%以上,则港交所方面将根据一系列规定要求投资者减持;如果发生了因为A股回购等情况导致的外资投资者合计持股比例被动上升到30%以上,则无需卖出,但港交所方面将暂停接受买盘,直到比例下降到26%以下。

据数据显示,从2021年开始,陆股通就不断增持埃斯顿,截至2022年一季报,香港中央结算公司持股数量已达到2.05亿股,占总股本的比例为23.62%;此外,富达基金(香港)有限公司持有埃斯顿602.83万股,占总股本0.69%。

埃斯顿是国内工业机器人龙头,目前公司主营业务包括自动化核心部件及运动控制系统和工业机器人及智能制造系统两大板块,收入增长表现良好,2021年同比分别增长+20.14%/20.42%。2021年整体实现营收30.2亿元,5年复合增速高达34.8%,2022年一季度营收8.05亿元,同比增长26.59%。

值得注意的是,埃斯顿在今年频频接受机构调研,其中不仅有天弘基金华夏基金博时基金富国基金等知名公募,还有对冲基金Point 72、淡马锡投资等外资巨头。

在近期调研过程中,埃斯顿透露,目前机器人产能经过柔性化改造之后可达20000台套/年。此外,为进一步支撑埃斯顿发展战略,埃斯顿机器人智能产业园二期工程正在加紧建设中,2023年可以投入使用,最终实现5万台套产能。

据埃斯顿介绍,该公司将扩大下游行业应用覆盖的范围,目前重点的行业布局包括锂电、光伏等新能源、汽车及汽车零部件、各类焊接应用领域等。公司认为,目前锂电和光伏等新能源行业的自动化市场规模在快速扩张,公司判断未来2-3年仍会持续高速增长。公司在新能源行业是以自身具备的自动化核心部件和工业机器人为核心优势向下游延伸,抓住新能源行业发展机遇,发展基于公司自身的自动化控制系统和工业机器人为基础的自动化相关业务。

还有哪些公司接近临界线?

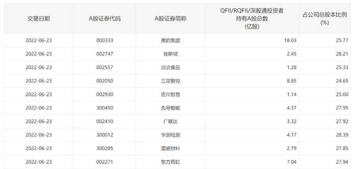
深市方面,据深圳证券交易所官网上的“QFII/RQFII/深股通投资者信息”栏目显示,截至6月23日,全市场一共有10只个股接近或已经超过26%的外资持股预警线。

其中,在埃斯顿之前,华测检测已经连续多个交易日外资持股超28%,广联达东方雨虹先导智能国瓷材料等也已经逼近28%红线。此外,美的集团洽洽食品三花智控宏川智慧举例26%预警线也已经不远。

沪市方面,根据上交所的披露的境外投资者持股信息,珀莱雅的外资持股比例已经超过了26%的预警线,为26.17%,宏发股份的外资持股比例为24.45%,也逼近临界线。

整体来看,除了上述埃斯顿、华测检测2只股票已经超过28%的暂停买入线外,全市场一共有5只A股逼近26%的预警线,还有5只个股已经超过26%的预警线,逼近28%的暂停买入线。

此外,据安信证券统计,历史上曾有三只外资持股超过28%的案例:

一个是上海机场在2015年5月触发禁买线,第二个是大族激光在2019年3月触发禁买线,第三个是美的集团,在2020年1月和2020年7月两次触发禁买线。

安信证券指出,从历史经验上看,每当外资触发禁买线后,标的价格在短期内均会出现明显的下跌,但是从长期来看,股价的走势依然取决于公司的基本面。

下跌原因在于,一是沪深港通的外资只能继续持有或者卖出,股价推动力减弱;二是触发禁买线后个股可能会被国际指数剔除,例如大族激光美的集团在被“买爆”后均被MSCI剔除,进而影响配置力量;此外,国内的部分资金也会产生恐慌从而跟风撤离。

多家外资巨头出手加仓A股

近期,随着海外市场震荡加剧,外资对A股动作频频,多家巨头出手加仓A股。

例如,美国知名投资机构-资本集团旗下的主动管理ETF近期继续加仓了多只中国股票。其中,6月3日至6月22日,代码CGXU的资本集团ETF Capital Group International Focus Equity ETF对新奥能源药明生物技术、贵州茅台药明康德汇川技术全部加仓,代码CGGO的Capital Group Global Growth Equity ETF则对贵州茅台中国平安进行了加仓。

施罗德旗下的“施罗德国际精选基金大中华A累积美元”最新规模31亿美元,也是海外规模较大的中国股票基金。据晨星数据显示,截至5月31日末,该基金十大重仓股分别为台积电、腾讯、阿里友邦保险汇丰控股、联发科技、紫金矿业香港交易所贵州茅台宁德时代,前十大持仓占比43%,其中,宁德时代获得该基金8.59%的增持。

摩根大通旗下旗舰基金摩根中国A股机遇基金则在5月份增持了招商银行国电南瑞以及长江电力,其中,长江电力获得该基金增持21.92%,是前十位持仓中获得增持幅度最大的股票,截至5月31日的持仓市值达到9.11亿美元(折合约61.26亿人民币),为该基金第10大重仓股。

此外,6月24日,证监会发布《关于交易型开放式基金纳入互联互通相关安排的公告》,进一步深化内地与中国香港股票市场交易互联互通机制。不少业内人士预计,ETF纳入互联互通将给两地市场注入活力,对于A股而言,ETF纳入互联互通降低了外资投资的门槛,有望吸引更多外资流向A股市场。

加载中...