新浪财经 股票

谁是新东方直播爆火的“幕后推手”?

市场资讯 2022.06.14 20:46

来源: 环球老虎财经app 

曾因双减政策受到重挫的新东方,凭借着双语带货再次火爆全网。镜头前的消费者发现,今日的带货主播不少是前新东方的带课教师。以“原班人马”挑战业务转型半年,新东方在线市值重回百亿,这一过程中,谁又是背后的推手?

新东方在线继续大涨。

6月14日,港股新东方在线继续一路走高,收涨23.17%,报10.7港元,成交量1.82亿港元。昨日一度股价翻倍,成交额高达2.56亿港元,一个月以来振幅超330%。

“很久没有看到教育股如此行情”,有投资者不禁感叹。两年以来,新东方在线股价曾经历从43元到3元的暴跌。

不过,时至今日,让新东方股价反弹的并非其教育业务,靠的仅仅是“东方甄选”——一个突然爆火的抖音直播间。

幕后的推动者与获益者,有从新东方走出的投资人们,还有早早入股的腾讯。

仰德电商持股45%

“东方甄选”并非新东方的独食。

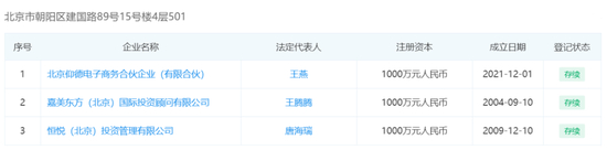
企查查显示,成立于去年12月的东方甄选(北京)科技有限公司,由两家企业合伙成立,北京新东方迅程网络科技股份有限公司(以下简称:新东方迅程)持股55%,北京仰德电子商务合伙企业(有限合伙)(以下简称:仰德电商)持股45%。

作为新东方直播合伙人的仰德电商,新成立于去年12月,实际指向曾承接新东方移民服务的王燕,或也与真格基金王强等创投资本相关。

据悉,王燕为温州知名女投资人,与新东方渊源颇深,其曾于1996年加入新东方,2006年正式执掌从新东方集团独立出来的移民业务,与新东方联合创始人徐小平共同成立“嘉美东方”,同时开始涉足天使投资领域。

此外,与仰德电商同地址的还有一家成立于2009年的神秘的股权投资主体——恒悦(北京)投资管理有限公司,法人为同在创投领域活跃的唐海瑞。

▲ 图片来源:企查查

有业内人士表示,仰德电商背后或代表了从新东方走出的一股创投势力,包括真格基金王强等基金份额对老东家“再创业”的看好。而天使投资人往往不限于财务投资,很有可能是双方共同创业经营。

“仰德电商或才是东方甄选直播间的运营主体。”上述人士进一步指出,仰德电商的经营范围显著大于新东方迅程。

资料显示,新东方迅程的经营范围集中在“在线教育周边”,如电子产品、文化用品、出版物等。

而仰德电商的经营范围则更广,还包括销售服装、鞋帽、化妆品、日用品、玩具、新鲜水果、新鲜蔬菜、针纺织品、家用电器;货物、技术、代理进出口等。或将承接直播间除教育产品之外的其余业务。

近半的持股比例与深入的运营合作,或也意味着仰德电商能直接分走“东方甄选”一半蛋糕。

腾讯浮盈7.4亿

除了运营合伙人,腾讯等投资人也在这场流量盛宴有所获益。

“东方甄选”的大股东新东方迅程,是新东方集团旗下在线板块运营主体,法人代表为新东方在线CEO孙东旭,该资产实际指向港股上市公司新东方在线。

在线教育还火热的2017年,新东方将在线教育业务单独剥离并资本化,以“新东方网”之名挂牌新三板,估值达32亿元。2019年又以“新东方在线”之名赴港上市。

招股书显示,新东方在线曾独立进行过三轮融资,首轮为腾讯旗下ImageFrame,后来还吸引了景林私募创始人蒋锦华夫人唐华所持有的DragonCloud、ChinaCityCapita,以及俞敏洪本人的投资公司Tigerstep入股。

上市前,新东方持股仅为66.72%,腾讯作为第二大股东,持股12.06%,成本5088万美元,约合人民币3.43亿元。

随着这两年监管环境变化,K12部分付费业务不得不中止,在线教育公司基本面发生变化,腾讯也一度“被套牢”。今年5月,新东方在线股价最低跌至2.85元,彼时腾讯持股市值不足3亿。

截止5月16日,腾讯最新持股9.035%,仍为第二大股东。在新东方在线的两日暴涨中,腾讯最高浮盈近7.4亿元,或已“解套”。

上市公司明确指出,“直播商务业务”是将依托原有的直播教室技术及人才团队,建立一个用于销售农产品及其他产品的电子商务平台。俞敏洪也对外表示,新东方会和几百位老师通过直播带货帮助农产品销售,支持乡村振兴事业。

“股价波动原因在于估值逻辑的改变。”有投资人士向老虎财经指出,在线教育、直播、MCN的估值方式是不同的,目前市场对于其看法还有较大争议,是否能维持百亿以上市值仍需观望。

直播间“虚火”

“东方甄选”究竟赚不赚钱?

“我是来听英语课的,不是来买东西的。”这一评价也揭露了新东方直播的现实——直播热度高,带货能力却不强。

虽然妙语连珠的老师们引爆了流量,直播间带货却很少进前三,甚至经常在十名开外,实际转化率似乎不高。以6月14日为例,位于带货榜第3名的华少,单场点赞仅为147万,而点赞数高达2029w的东方甄选,带货榜排到13名。

截止6月14日下午17时,东方甄选直播间粉丝数已突破480万,4天涨粉超300万。而据5月下旬至今数据统计,单场GMV或在100万元左右浮动,即使12日达到近1500万元的爆点,较罗永浩3000万或头部主播百亿的GMV量级,仍旧存在不小差距。

和同类型直播间相比,“贵”也是东方甄选直播间的一个缺点。

例如在一场直播中,直播间销售的15颗、3.8公斤的阜平苹果售价高达128元,3斤装的茶香猪礼盒售价315元,最夸张的还有重9.6千克的面粉礼盒,售价高达960元,相当于一公斤100元。

6月14日,有自称供应商爆料,新东方带货不要坑位费和大量样品,现在要的不是赚钱,而是吸粉。新东方对此证实,并称直播是目前发展势头比较好的业务,但并不是全部工作,传统教育业务仍在进行。

“不要坑位费”的现实或是,新入局农产品直播的“东方甄选”议价能力较弱。

据老虎财经6月14日对直播间两个产品进行咨询,商家客服表示已“比较优惠”,但委婉补充“各平台优惠力度不同”,意味着新东方尚未拿到足够竞争力的价格。

从商品结构来看,直播间能给上市公司带来的利润也非常有限。

农产品单价较低,直播利润更微博。分析观点估计,若按热度持续乐观,直播间年化GMV或在40亿元左右,参考农产品直播带货5%左右的净利润率,预计农产品直播业务年利润体量在2-3亿元左右。

另一方面,新东方在直播间尝试带利润更高的自营教育产品,却显示“水土不服”。

今年6月,俞敏洪开启“新东方直播间”,并表示在符合国家政策规定基础上,依然会在教育领域深耕,做出图书和图书相关的一系列软硬件学习产品。

据抖音数据,销售图书、智能软硬件、文教用品等教育产品的“新东方直播间”与“东方甄选之图书”粉丝数分别为249.9w和50.1w,较前一日几乎没有增长,与农产品为主的“东方甄选”数据也有不小差距。

去年12月直播试点之初,俞敏洪亲自下场带货,卖书一小时仅卖出27万元。其参与的14场直播带货,平均每场的销售额仅为13.2万,一周成交额不过90万元,实属爆冷。

据最新财报,截至2021年11月底的6个月,新东方在线实现营收5.74亿元,亏损5.44亿元,以目前直播业务体量,尚难填上亏损巨坑。

新东方直播之火已烧至资本市场,而是否撑得起百亿市值,还有待进一步考量。

加载中...