新浪财经 股票

最高出价27.35亿元!鲁阳节能的“洋股东”发起要约收购 其他股东会答应吗?

上海证券报

关注
日k线图

日k线图

鲁阳节能控股股东发起要约收购,拟出巨资提升“家庭地位”,而更应关注的是其背后所传递的信号。

4月27日晚间,鲁阳节能公告称,控股股东奇耐联合纤维亚太控股有限公司(下称“奇耐亚太”)拟向除它以外的公司全体股东发出部分要约收购,要约收购股份数量1.26亿股(约占公司总股本的24.86%),要约收购价格21.73元/股,预计所需资金总额最高为27.35亿元。

奇耐亚太的实控人为两名美国籍自然人,此次要约收购是为了增加在鲁阳节能的持股比例,进一步巩固奇耐亚太对鲁阳节能的控制能力。同时,此次要约收购,奇耐亚太聘请的财务顾问是摩根士丹利证券(中国)有限公司。

那么,“洋股东”此次收购操作,鲁阳节能的其他股东会答应吗?

截至4月26日鲁阳节能股价走势

最高出资27.35亿元

对于本次要约收购,奇耐亚太预计最高要花费资金27.35亿元。

按照要约收购的方案,若预受要约股份的数量少于1.16亿股,则本次要约收购自始不生效,所有预受股份将不被奇耐亚太接受;若预受要约股份数量超过1.26亿股,奇耐亚太按照同等比例收购预受要约的股份。

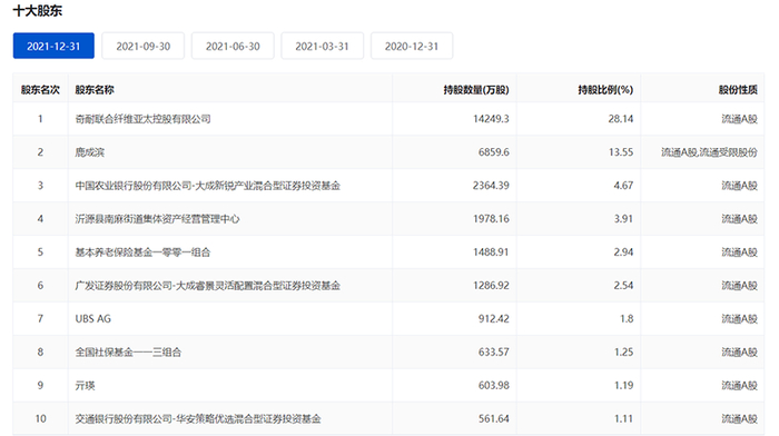
截至4月27日,奇耐亚太持有鲁阳节能1.42亿股股份,约占鲁阳节能总股本的28.14%。本次要约收购完成后,奇耐亚太最多合计持有鲁阳节能约2.68亿股股份,约占鲁阳节能总股本比例的53%。

鲁阳节能截至2021年底前十大股东持股情况

除了要在股权上进一步巩固控制力,奇耐亚太在鲁阳节能董事会成员提名、选举等事项上也进行了布局。

4月27日,奇耐亚太与鲁阳节能主要股东沂源县南麻街道集体资产经营管理中心(下称“南麻资管”)、鲁阳节能董事长鹿成滨于签订协议,就未来公司董事会成员提名、选举等事项进行了约定。

虽然上述三方均放弃单独对三名独立董事提名的权利,但是奇耐亚太有权单独提名五名非独立董事的候选人。鹿成滨及南麻资管,将投票支持奇耐亚太对前述董事提名的候选人。

“洋股东”奇耐亚太是什么来头?

斥资运作要约收购,奇耐亚太到底什么来头?

奇耐亚太成立于2010年8月26日,注册地址在香港,是一家主要从事投资控股、贸易服务和咨询业务的控股公司。

从财务情况来看,奇耐亚太2021年实现净利润9342.67万港元。

奇耐亚太2019年至2021年,根据国际会计准则经审计的主要财务数据

奇耐亚太的实控人为两名美国籍自然人José E. Feliciano和Behdad Eghbali.其中,José E. Feliciano先后毕业于普林斯顿大学、斯坦福大学商学院,曾在高盛并购和公司融资部门从事投资银行事务。

José E. Feliciano的个人情况

奇耐亚太及其控股股东、实际控制人持有境内、境外其他上市公司股份的情况

奇耐亚太背后两位实控人控制的核心企业,包括:Cornerstone OnDemand, Inc.、Confluence Technologies, Inc.、DigiCert, Inc. 等。

奇耐亚太背后两位实控人控制的部分企业情况

而奇耐亚太控股股东ASP Unifrax Holdings, Inc.(下称“ASP”)的经营范围是,任何美国特拉华州《公司法》允许的合法行为或活动。

截至4月27日,ASP直接或间接控制的核心企业、关联企业,包括Unifrax I LLC、Specialty Ceramics, Inc.等,所从事核心业务包括:高温耐火材料、陶瓷纤维保温和工程产品的生产及销售,工业热管理市场和壁炉产品市场销售真空成型产品的生产及销售等。

ASP旗下部分公司的情况

多年前已布局鲁阳节能

奇耐亚太对鲁阳节能的布局,可以追溯至2014年4月4日。

彼时,奇耐亚太与沂源县南麻镇集体资产经营管理中心(彼时为鲁阳节能控股股东,现在更名为沂源县南麻街道集体资产经营管理中心,下称“南麻资管”)签订《股权购买协议》,奇耐亚太拟受让南麻资管所持鲁阳股份(现已更名为鲁阳节能,以下统称“鲁阳节能”)6785.382万股股份,占鲁阳节能总股本的29%。

奇耐亚太欲入股鲁阳节能的决策过程

奇耐亚太表示,公司联合中国高温耐火纤维市场领先者的鲁阳节能,可以发挥各自的技术、能力优势,并实现在制造、营销以及产品开发等方面的协同效应。

而为了提高鲁阳节能销售业绩,ASP在中国之外的市场将与鲁阳节能共享各自营销渠道,以及提供更多产品类型,共同协作加快在其他发展中市场的增长,并更好地服务成熟市场的需求。

2015年5月7日,本次股权转让已在中国证券登记结算有限责任公司深圳分公司完成了股份过户手续。鲁阳节能的第一大股东变更为奇耐亚太,持有29%的股份比例。鲁阳节能公告称,公司控股股东、实际控制人由南麻资管分别变更为奇耐亚太和Michael G. Fisch。

欲将中国业务整合至鲁阳节能

奇耐亚太称,本次对鲁阳节能的要约收购,不以终止其上市地位为目的。如果本次要约收购顺利完成,奇耐亚太将借助自身的业务经验及资源优势,进一步支持并促进公司成长以及业务发展。

鲁阳节能是南麻镇、沂源县乃至淄博市的龙头企业,主要从事陶瓷纤维、可溶纤维、氧化铝纤维、轻质莫来石砖等耐火保温产品的研发、生产、销售、应用设计、施工业务,玄武岩纤维产品的研发、生产、销售业务。

鲁阳节能2019年至2021年部分财务数据

4月27日,奇耐亚太还与南麻资管签署《战略合作备忘录》,双方将为推进鲁阳节能所在地的新材料产业的整体发展通力合作,同时该等合作也将有助于鲁阳节能进一步改善业务结构。

随即,揭开了此次要约收购的原因。应南麻资管要求,经讨论奇耐亚太目前已着手制定奇耐-鲁阳节能的五年发展规划(下称“新五年规划”)。作为新五年规划的前提,奇耐计划于2022年12月31日前,通过公开市场要约的方式收购鲁阳节能股份,增加在鲁阳节能的持股,以加强奇耐对鲁阳节能的控制地位。

奇耐亚太认为,从不足30%的持股比例增加到50%以上,将是给其持续向鲁阳节能投资(包括高新技术投入)的源动力。

作为新五年规划的重要一环,奇耐亚太将在南麻镇持续扩大投资,预计未来五年中有望在当地新增固定资产投资,主要集中在排气控制、特种纤维、工业热管理,用于公司优化产业结构,挖掘生产潜力,稳定增加销售额。

同时,奇耐亚太拟将鲁阳节能建设为其在中国的特种材料生产、研发和创新中心,以及主要产业平台,将积极推动资源整合。在法律允许的范围内,奇耐亚太会逐步将其在中国的业务整合到鲁阳节能平台,且今后在中国的投资都在鲁阳节能平台运作,帮助鲁阳节能实现业务结构科学化。

下一步,奇耐亚太希望和南麻资管进一步探讨如何结合双方优势,协助鲁阳节能将旗下某些传统产品业务,包括岩棉子公司等的产业优化整合制定具体方案,以期实现对这些传统产品业务在当地的持续经营和长期发展。

同时,奇耐亚太也希望和南麻资管讨论在鲁阳节能产业优化过程中产生的新机会。例如,奇耐亚太一直支持鲁阳节能发展PCW氧化铝产品市场,加大其在民用PCW氧化铝产品的投入。奇耐亚太将带入新技术,支持鲁阳节能现阶段PCW产品的升级换代;南麻资管亦将对此大力支持。

奇耐亚太称,如果鲁阳节能今后决定不介入部分细分领域PCW氧化铝产品,在不会和鲁阳节能形成竞争的前提下,奇耐亚太将支持南麻资管在当地参与或扩大其在该等细分领域 PCW氧化铝产品的生产和经营。

奇耐亚太表示,会维持鲁阳节能当前核心管理团队稳定,将鲁阳节能打造成为一个本土智慧和国际视野相结合的创新企业,是奇耐新五年规划工作的重中之重。

上述备忘录签订,仅是双方战略合作部署的第一步。而所有的后续规划和步骤,均以奇耐亚太完成对鲁阳节能的股份部分收购要约成功为前提。在部分收购要约成功完成之后,双方将对合作的各个细节进行进一步的协商。

加载中...