新浪财经 股票

携妻儿违规举牌遭处罚,前“福建首富”陈发树的退与进

市场资讯 2022.03.27 20:42

来源:野马财经 

陈发树不停转换赛道

七年前,陈发树为了买入云南白药(000538.SZ)几乎变卖或抵押了自己名下的所有资产,另一边自己手中的新华都亏损不停、闭店不止。七年后的今天,陈发树选择再次携妻儿一起买入森特股份,同时剥离新华都零售业务。

因为持续买入森特股份(603098.SH),持股比例超过5%却未进行公告,陈发树等人于3月23日收到北京证监局出具的警示函行政监管措施。七年前陈发树疯狂买入的云南白药如今面临转型阵痛,七年后疯狂买入森特股份能让陈发树重回辉煌吗?

花10余亿元买入森特股份为哪般?

此次陈发树违规增持森特股份的行为还要追溯到2021年12月。

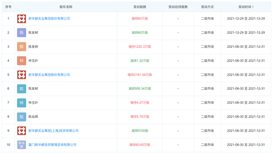
首先,陈发树及其夫人林玉叶、儿子陈焱辉,新华都集团及旗下两家子公司为森特股份股东的一致行动人,2021年12月6日,陈发树名下证券账户陆续买入150万股森特股份股票,导致上述一致行动人合计持股比例由4.78%上升至5.06%。

图源:北京证监局

按照规定,持股比例超过5%应在3日内进行公告,但陈发树等人并未进行公告,而是继续买入,随后最高至5.2%。

直到2021年12月29日收盘后,陈发树收到短信提示风险。新华都进行自查,声称在自查过程中发现,由于疏忽,遗漏计算了陈发树个人购买的216.29万股森特股份股票,致使出现了在12月6日当天合计持股比例超过5%的情况,表示诚挚歉意。

经计算,12月6日至12月29日共18个交易日,其中11个交易日为下跌,7个为上涨,累计下跌12.52%。

事实上,陈发树等人自2021年6月30日起就陆续在二级市场上买卖森特股份的股票。公开信息显示,陈发树等人共计购买了森特股份2799.34万股。期间森特股份股价为38.79元/股-42.76元/股,按此计算,陈发树为购买森特股份要花费10.85亿元-11.96亿元。

陈发树为何选择增持森特股份?事实上,森特股份可谓是2021年十足的“大牛股”,从年初每股最低的7.74元,一路涨至11月最高时的54.93元,股价涨幅约7倍,全年累计涨幅达477.03%。

森特股份主营产品为金属建筑围护系统公司,客户包括奔驰、宝马、雄安站、北京大兴国际机场、成都天府国际机场,甚至还有马尔代夫机场、沙特船坞。去年还接了香港机场,中标金额7.1亿港元(折合人民币5.77亿元)。

2020年森特股份进军BIPV(光伏建筑一体化)板块,俗称光伏屋顶,该板块也被纳入“双碳”概念。据天风证券测算,我国潜在装机规模为245 GW,以5.5元/w价格计算,市场空间将达1.3万亿元;长江证券则按照15%市场渗透率,计算出总发电功率为7.1亿KW,对应的市场规模达3.9万亿元。

光伏板块的切入也吸引了全球光伏巨头隆基股份的注意,2021年3月,隆基股份收购森特股份27.25%股权,成为公司第二大股东。

光伏巨头入股的消息公布之后,森特股份的股价开启一路向上的走势,合作也纷至沓来。2021年1-9月,森特股份累计承接新业务(含中标)127项,金额达34.33亿元,累计新签合同90项,合同金额21.60亿元,。其中,7-9月共累计承接新业务(含中标)43项,承接新业务金额达17.57亿元,新签合同22项,累计合同金额8.42亿元,

合作者不乏简一集团、三棵树集团、徐工集团、山重集团等知名企业。

一边买买买,一边卖卖卖

作为知名牛散的陈发树,目前是新华都(002264.SZ)实际控制人,同时通过直接和间接两种方式,位列云南白药(000538.SZ)、隆基股份(601012.SH)、中国中免(601888.SH)、必创科技(300667.SZ)、久日新材(688199.SH)雷电微力(301050.SZ)、森特股份(603098.SH)7家A股公司的前十大股东。

陈发树一边买入森特股份,另一边却在出手卖出新华都的部分资产。

2021年11月25日,新华都发布公告表示,拟出售零售业务板块的全部资产和负债,共涉及11座购物广场和一家物流公司的部分股权。截至2021年9月30日,11家子公司总资产为25.99亿元。该交易也引发深交所关注,向其下发问询函。

新华都是陈发树发家的地方,也是其踏入资本市场的开始。陈发树出生于1960年,1987年陈发树在厦门盘下一家杂货店,取名“华都百货”,做起了零售生意,随着越做越大,在厦门、福州等地开设了多家华都购物广场。1997年,也就是十年之后,陈发树将自己当初的杂货店,做成了闽南最大的民营百货企业。

但是,1998年陈氏兄弟闹出“分家风波”,最终华都百货被一分为二,弟弟陈晋江执掌“大华都”,陈发树则另立“新华都”继续发展。到了2007年,新华都已经拥有32家超市。2008年7月,新华都在深交所上市,市值近50亿元。同年,神奇“逆袭”的紫金矿业回归A股,当时陈发树持有该公司33%的股权,市值高达155.29亿元。

2009年陈发树以218.5亿元的个人财富位列福布斯中国富豪榜第11位,并成为福建首富。

但自2013年起,到2019年新华都的净利润虽时正时负,但扣非归母净利润始终为负数,分别为-1.7亿元、-0.18亿元、-3.65亿元、-1.2亿元、-0.53亿元、-0.14亿元和-6.36亿元。“报表盈利但实际亏损是指,企业在会计年度内公布的财报净利润是盈利的,但在扣非后的净利润是亏损的。有些上市公司为了逃避ST股票特别处理的命运而采取这种手法--主业不盈利,通过一些财务技巧来使报表盈利。”财税专家马靖昊表示。

来源:wind

2019年新华都关店56家减负,2020年业绩终于有所回升,营收51.91亿元,扣非归母净利润1.57亿元,成功实现扭亏为盈。

而此次将11座购物广场和1家物流公司部分股权出售后,意味着新华都将彻底剥离零售主业,“为了优化公司的资产结构,增强公司的持续盈利能力,公司拟出售零售业务板块,从而聚焦互联网营销业务,优化资源配置,提高资产质量,提升公司盈利能力,保障公司股东的利益。”新华都在《重大资产出售暨关联交易报告书》中表示。

陈发树的“新欢”值得爱吗?

一边向光伏、互联网营销前进,另一方面退出经营多年的零售业务,陈发树的转身顺利吗?

“冒着违规风险增持森特股份着实有些‘心急想吃热豆腐’的感觉,也许是看中了其光伏建筑一体化‘BIPV’的概念吧,这个概念自从光伏龙头隆基股份入股森特股份以来,在二级市场的表现一直很热,股价也是大幅上涨,虽然近期有些回调,但相对于入股增持前涨幅依旧很大。”北京特亿阳光新能源总裁祁海珅分析。

但任何行业在起步阶段也面临着各种问题,祁海珅认为,目前光伏建筑一体化BIPV项目的经济效益相对传统的BAPV(光伏附属建筑物)差很多,也存在缺乏和建筑节能真正一体化的匹配问题。BIPV的未来是很好的,但目前的现实着实很骨感,因为目前95%以上存量的建筑屋顶和墙面等都是在应用BAPV的。

来源:森特股份官网

“新”也意味着没有可比较的对象,利润率无法估计。森特股份此前发布一则关联交易公告,披露了与隆基股份的一份关联交易金额为25.53亿元的合同,内容为采购原材料和提供技术服务等。天风证券推测采购原材料应为BIPV组件,或能实现收入快速增长。“但另一方面,因缺乏相关工程案例数据,该业务利润率相对较难估计;考虑到组件、逆变器等核心成本要素需隆基协同支持,我们预计 BIPV 业务利润率或低于公司传统业务利润率。”

在技术上,森特股份面临的问题也不少。“BIPV市场刚启动,建筑的形式多种多样,光伏产品目前的寿命也就30年,而建筑物的寿命一般是70年甚至更久,产品应用还有很多要完善和适应建筑物要求的工作去做。且BIPV光伏产品的成本偏高,从发电收益的角度来讲,其投资回报率偏低;从建筑材料的属性角度来讲,如何保证70年甚至更久的使用寿命,也是需要技术提升和产品验证的。”祁海珅表示。

光伏行业之外,陈发树选择的互联网营销又如何?

据新华都的回复函显示,新华都的互联网营销业务合作的品牌方包括泸州老窖、山西汾酒、云南白药、青岛啤酒等。目前互联网全渠道销售以B2B为主,主要客户为京东、天猫、唯品会等。 目前公司电商运营服务的主要客户为全友、伊利等。其中云南白药、青岛啤酒等都是陈发树在资本市场投资过的“老朋友”。

此外,2018年年报显示,前十大股东中出现了阿里巴巴的身影,截至2022年1月28日,杭州瀚云新领股权投资基金合伙企业(有限合伙)和阿里巴巴(成都)软件技术有限公司为一致行动人,位列新华都第五、六大股东,合计持股10%。

从品牌到平台,新华都均有涉及。但从成果来看,互联网营销业务的增长速度并不快,2018年至2021年1-10月,分别带来营收11.38亿元、11.23亿元、14.47亿元和15.57亿元。相比之下,放弃的零售业务营收分别为57.12亿元、48.83亿元、37.44亿元和27.05亿元。

2015年,陈发树在二级市场对云南白药疯狂买买买,几方争夺下至今云南白药变为无实际控制人的境况。

2020年,通过投资隆基股份、中国中免等牛股,陈发树狂赚百亿,被称为“中国巴菲特”。

今天,陈发树携妻儿再次从二级市场开始买入森特股份,究竟是一场隆基股份式的投资行为还是当年云南白药的重现?对此你有何看法?

加载中...