新浪财经 股票

连续3个20CM大号涨停 维宏股份5天股价翻倍 此前发布两份减持公告 深交所出手

证券时报网

关注
日k线图

日k线图

原标题 连续3个20CM大号涨停!这家公司股价6天翻倍,此前发布两份减持公告,深交所出手…

文 李丹

8月2日,维宏股份再度强势涨停,这已经是连续第三个交易日20CM大号涨停。这或许源于维宏股份的半年报,7月28日晚间,维宏股份发布了半年报,其中提到由于公司持续加大在激光领域的投入,技术不断得到突破,产品性能不断提升,获得了更多国内高质量头部客户的认可,市场占有率持续提高。

对此,8月2日,深交所向维宏股份下发关注函,要求结合投资者关系活动的主要内容,进一步说明“激光领域产品市场占有率提高、获得头部客户认可”等回复是否真实、准确、完整,是否具备客观数据支撑,是否存在夸大性陈述。

维宏股份5天股价翻倍

维宏股份8月2日再度涨停,股价报52.08元创3年以来新高。该股连续三个交易日20CM大号涨停。若从上周算起,6个交易日公司股价已经翻倍。

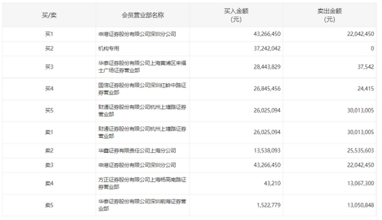
盘后数据显示,一机构专用席位净买入3724万元;申港证券股份有限公司深圳分公司买入4326.6万元,卖出2204万元。

公开资料显示,维宏股份是一家专业提供运动控制系统解决方案的高科技企业,维宏运动控制系统已广泛应用于加工中心、激光加工、水射流加工、铣床、模具制造、广告制作、机械加工、玻璃石材加工等众多行业。

7月28日晚,维宏股份发布了半年报,报告期内公司实现营业收入2.17亿元,同比增长156.54%;归属于上市公司股东的净利润4412.69万元,较上年同期扭亏为盈。

半年报提到,公司主要产品分布在雕刻雕铣领域和切割领域。其中,在切割领域,公司核心产品有激光切割控制系统(平面切割、管材切割)、水射流切割控制系统(平面二维切割、五轴切割)、玻璃切割控制系统,以及相应的CAD/CAM软件。激光切割行业主要应用在汽车 制造、广告标识、厨具卫浴、钣金零件、机箱机柜、灯杆灯具、健身器材等行业。伴随以上相关细分行业复苏,2021年上半年激光切割机市场行情相对较好,多数整机设备制造商出机量保持较高增长。由于公司持续加大在激光领域的投入,技术不断得到突破,产品性能不断提升,获得了更多国内高质量头部客户的认可,市场占有率持续提高。

报告期内,公司持续加大技术创新力度,以保持公司在技术、研发方面的领先优势。公司现有研发人员307人,期间发生研发费用4,100.80万元,同比增长28.37%。

7月29日,公司股票20CM大号涨停,当日,公司发布了股票交易异常波动公告。公告称,董事会确认,公司目前没有任何根据本所《创业板股票上市规则》等有关规定应予以披露而未披露的事项或与该事项有关的筹划、商谈、意向、协议等;董事会也未获悉公司有根据深交所《创业板股票上市规则》等有关规定应予以披露而未披露的、对公司股票及其衍生品种交易价格产生较大影响的信息;公司前期披露的信息不存在需要更正、补充之处。

深交所下发关注函

深交所8月2日晚间向维宏股份下发关注函称,要求结合投资者关系活动的主要内容,进一步说明“激光领域产品市场占有率提高、获得头部客户认可”等回复是否真实、准确、完整,是否具备客观数据支撑,是否存在夸大性陈述。分析说明公司基本面是否存在重大变化,是否存在应披露未披露事项,是否存在对公司股票交易产生较大影响的未公开重大信息、市场传闻、热点概念等。

关注函还要求维宏股份核实公司董监高人员及大股东近一个月买卖公司、股票的情况及未来 6 个月内是否存在减持计划,是否存在炒作股价配合减持的情形。

近期,维宏股份发布了两份减持公告。

7月22日,公司董事、副总经理牟凤林计划在公告发布之日起15个交易日后的6个月内,以集中竞价方式合计减持公司股份不超过17.6万股(占公司总股本比例0.1936%)。

6月11日,公司股东胡小琴计划在公告发布之日起3个交易日后的6个月内,以集中竞价方式合计减持公司股份不超过10万股(占公司总股本比例0.1100%)。

激光切割还有几年红利

据Wind统计,上周(7月26日-8月1日),维宏股份获14家机构调研。

调研活动记录显示,有机构问,激光有什么目标吗?维宏股份回应称,继续向更高功率段开发产品,继续优化套料软件和CAD/CAM,缩小与领头羊的差距。

在未来方向上,维宏股份指出,未来主要是:一、激光。激光切割还有几年红利期,要抓好时间,继续优化完善大功率段产品,套料及 CADCAM加速升级优化,激光焊接和超快应用可能是激光的下一个大市场。二、车铣复合领域,高端市场空间很大。三、智能制造,维宏云。目前维宏云欠缺的是销售,SaaS 化的功能模块,项目型的私有云产品,自动化产线改造能力,这些都有。

2021年7月30日投资者关系活动记录表截图

加载中...