新浪财经 股票

呷哺呷哺"宫斗"始末:职业经理人被开 或因触及创始人利益输送?

财经自媒体

关注
港股分时

港股分时

来源:环球老虎财经app

自今年2月起,呷哺呷哺的股价就开始一路走低。此后,包括高瓴资本、摩根士丹利在内的大股东就相继对其进行清仓式减持。目前,呷哺呷哺的股价较最高点已跌去七成有余。今年5月20日,呷哺呷哺行政总裁赵怡在高铁上得知了自己已经被董事会罢免了所有职务。

7月28日,呷哺呷哺发布公告称,股东特别大会以100%的赞成票数通过了罢免赵怡的决议,同时在7月26日的补充公告中也提到,赵怡已经提起劳动仲裁,但董事会不认同赵女士的指控,罢免决议并不受劳动仲裁的影响。

这则罢免大戏,最早要追溯到一个月前。

6月14日呷哺呷哺发布公告称,决定召开股东特别大会以罢免赵怡执行董事职务。而根据当时公告,“集团建议罢免的理由为,赵怡的管理方式及理念与董事会其他成员存在重大差异,且允许赵怡继续参与本公司的管理,将不符合本公司及股东的整体最佳利益。”

与其他上市公司发生高层变动时的态度不同,呷哺呷哺在公告中既无对赵怡过往业绩的认可,也无对未来的祝愿,措辞之严厉,不禁令人浮想联翩。

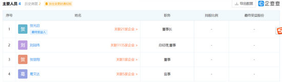
值得注意的是,上文所述的除赵怡外董事会成员,均为呷哺呷哺创始人贺光启家族成员。

这则餐饮界引入瞩目,却又让人丈二和尚摸不着头脑的操作,到底隐藏什么秘密?这或许与赵怡此前提到的公司家族创始人旗下企业的关联交易有关。

1

创始人被曝关联交易,高管谏言触动“自留地”

熟悉呷哺呷哺的人或许知道,近年公司正在力推多人火锅品牌“凑凑”。但进店消费过的人一定会发现,茶米茶是比凑凑火锅更先映入眼帘的产品,而凑凑火锅的主打产品大红袍奶茶,往往比凑凑火锅本身更具人气。

然而很多人不知道的是,凑凑奶茶并不完全在呷哺呷哺体系之内,其品牌提供方为创始人贺光启本人控制的香港企业茶米茶(香港)控股有限公司。

据了解,茶米茶成立于2017年8月,是呷哺呷哺旗下凑凑火锅推出的茶饮品牌,其主打产品为大红袍珍珠奶茶。

2018年,呷哺呷哺宣告称,公司和茶米茶(香港)签署合作协议书,同时茶米茶会向呷哺呷哺售卖茶食食材和茶饮,在经营管理上也会提供相应的支持,并且呷哺呷哺愿意给予茶米茶5%的收益,收益主要来源于售卖的茶饮和茶食。

依据呷哺呷哺发布的公告来看,公司与茶米茶签订合作协议权利义务划分的非常清楚,茶米茶主要是为呷哺呷哺提供茶食与茶饮,还包括茶食茶饮的配方、茶食卫生安全保障、茶饮制作技术、对工作人员的培养、研发新茶饮与茶食等。与此同时,茶米茶可以分摊售卖茶食以及茶饮收益的5%,双方签署的合作协议日期是从2019年10月1日到2020年12月31日。

今年1月呷哺呷哺公告称,已与茶米茶再签订框架合作协议,呷哺呷哺需每两个月向茶米茶支付出售茶饮及茶食收入的5%,协议期为3年,但与此同时,在茶米茶的销售上,呷哺呷哺却使用了与此前不同的策略。

自媒体《质量报告》称,一位离职员工称,呷哺呷哺为了保证茶米茶的销售,将可乐、雪碧以及曾广受欢迎的蔓越莓等饮料下架,只出售茶米茶的饮品。而由于呷哺呷哺凑凑销售疑似遭遇毛利较高的茶米茶“盘剥”,其导致呷哺呷哺体系股东利益收到损失。

由此,赵怡在近日请求暂缓特别股东会的信件中,直陈公司创始人贺光启通过呷哺呷哺控制地位,向私人公司输送利益。

赵怡还表示,对于现有情况,为了维护上市公司与全体股东的利益,曾多次向贺光启提出加强公司监管与治理,均遭到了贺光启的反对,甚至被提议罢免执行董事职务。

2

 被指业绩下降系家族势力影响

最近几年,呷哺呷哺的日子并不好过。财报显示,2016-2018年呷哺呷哺的净利润同比增长率分别为38.74%、14.71%和10.07%,并在2019年首次出现了负增长,降幅达37.7%,归母净利润仅2.9亿元。

2020年,疫情汹汹而至,呷哺呷哺净利润仅余1.31亿元,同比下滑67.1%,归母净利润仅为183.7万元,同比下降高达99.4%。具体到业务,2020年呷哺呷哺火锅收入为35.01亿元,同比下降25.9%;凑凑收入为16.89亿元,较去年同期增长40.3%;调味品收入为1.48亿元,同比增长65.2%。

从赵怡本人的回应来看,上任后她的一系列举措颇有些力挽狂澜的意思,但实际上,即便抛去其中一半已经是烂摊子的2019年不谈,只看2020年。虽然部分业务有所增长,但她依旧未能让呷哺呷哺扳回亏损重归正轨,公司仍然处于营收与净利双降的困境中。

同时,赵怡在她的个人声明中也提到,呷哺呷哺董事会成员三人均有亲属关系,其中陈素英为贺光启之妻,刘冠纬系陈素英的侄子。其中刘冠纬同时还担任茶米茶餐饮管理有限公司总经理和法人代表职务,而茶米茶由贺光启本人100%持股并担任董事长。

赵怡的提议,无疑触动了贺光启的“自留地”,企查查显示,2019年9月24日,茶米茶餐饮管理有限公司管理层发生变动,赵怡与张振纬同日卸任了茶米茶的董事职务。目前其主要管理人员中,贺光启为董事长,贺显翔为董事,陈素英的侄子刘冠纬为总经理兼董事。

此后,2021年5月8日,赵怡又与张振纬同日卸任在凑凑(天津)餐饮管理有限公司的一切职务。目前,赵怡已与呷哺呷哺再无关联,此番罢免过后,贺光启完成了对公司管理层的净化。

3

 内乱未平,追兵又至

呷哺呷哺曾经主打的小火锅放到今天的市场上已经不再新鲜,诸多品牌都想在这个当口近来分一杯羹。偏偏此时呷哺呷哺多年业绩下滑未见起色,股价又连遭重创。

资本的撤离,与呷哺呷哺股价的下跌不无关系,但顺着时间线看,起头的确是赵怡。

2020年10月28日,在呷哺呷哺发布2020年中报的一个月后,赵怡以每股13.77港元的均价减持了手上91,28万股的股份,套现1256.9万港元。此后,又于2021年1月再次套现。

此后,高瓴资本旗下的两大基金将合计持有的1.14亿股呷哺呷哺股份全部清仓,约占公司总股权的10.5%。几乎是在同时,摩根士丹利也将所持有的1.04亿股减持至仅1200万股,持股比例由9.25%下降至0.93%。

在此之后,赵怡于2021年4月第三次减持手中的股份,三次累计套现超3000万港元。也正是在2021年4月16日,凑凑CEO张振纬离职,在其离职后不久,呷哺呷哺股价出现大跌,最低达11.26港元,为半年来新低。张振纬离职4天后的4月20日,赵怡被强制休假。

沉舟侧畔千帆过,小火锅这一品类正吸引着越来越多的玩家进场。张、赵二人相继离开呷哺呷哺后,2021年6月,一向以日式牛肉饭闻名市场的吉野家,在8个城市的11家店铺新增了自助小火锅的产品,每份售价68元。

更有甚者,嗅觉敏锐且刚拿到腾讯融资的和府捞面早在2020年11月便开卖了6款小火锅,价格在108-168元不等。老乡鸡也与和府捞面几乎同期在店内上新了38元的鸡汤鲜蔬小火锅。与上述品牌相比,呷哺呷哺目前60元左右的客单价也显得缺乏竞争力。

不光是餐饮企业,当下诸如自嗨锅、莫小仙等自热火锅品牌,每日优鲜、盒马、叮咚买菜等电商平台也上线了“火锅到家”服务。众多品牌蜂拥而入试水小火锅品类的背后,作为鼻祖的呷哺呷哺却显得分外迷茫甚至做出了“临阵换帅”的举动,失去首领的呷哺呷哺和它的凑凑,能在贺光启的带领下重整旗鼓吗?

加载中...